
beko HCA62640B Kitchen Cooker Hood User Manual

HCA62640B – HCA62640W
Please read this user manual first!
Dear Valued Customer,
Thank you for preferring this Beko appliance. We hope that you get the best results from your appliance which has been manufactured with high quality and state-of-the-art technology. For this reason, please read this entire user manual and all other accompanying documents carefully before using the appliance and keep it as a reference for future use. If you handover the appliance to someone else, give the user manual as well. Follow the instructions by paying attention to all the information and warnings in the user manual.
Remember that this user manual may also apply to other models. Differences between models are explicitly described in the manual.
Meanings of the Symbols
Following symbols are used in various sections of this user manual:


This appliance has been produced in environmentally friendly facilities without harming the nature.
1. Important safety and environmental instructions
1.1 General Safety
Important Safety Instructions.
Read Carefully And Keep For Future Reference This section contains safety instructions that will help protect from risk of fire, electric shock, exposure to leak microwave energy, personal injury or property damage. Failure to follow these instructions shall void any warranty.
- Beko products comply with the applicable safety standards; therefore, in case of any damage on the appliance or power cable, it should be repaired or replaced by the dealer, service center or a specialist and authorized service alike to avoid any danger. Faulty or unqualified repair work may be dangerous and cause risk to the user.
- This appliance is intended to be used in household and similar applications such as:
– Staff kitchen areas in shops, offices and other working environments;
– Farm houses
– By clients in hotels, and other residential type environments;
– Bed and Breakfast type environments. - Operate the appliance for its intended purpose only as described in this manual.
- The manufacturer cannot be held liable for damages resulting from improper installation or misuse of the product.
- This appliance can be used by children aged from 8 years and above and persons with reduced physical, sensory or mental capabilities or lack of experience and knowledge if they have been given supervision or instruction concerning use of the appliance in a safe way and understand the hazards involved.
- Children shall not be allowed play with the appliance. Cleaning and user maintenance shall not be made by children without supervision.
- The minimum distance between the supporting surface for the cooking vessels on the hob and the lowest part of your product must be at least 65 cm.
- If the instructions for installation for the gas hob specify a greater distance, this has to be taken into account.
- Make sure that your mains power supply complies with the information supplied on the rating plate of the appliance.
- Never use the appliance if the power cable or the appliance itself is damaged.
- Prevent damage to the power cable by not squeezing, bending, or rubbing it on sharp edges. Keep the power cable away from hot surfaces and naked flame.
- Use the appliance with a grounded outlet only.
WARNING: Do not connect the appliance to the mains until the installation is fully complete.
- Place the appliance in a way so that the plug is always accessible.
- Do not touch the lamps if they have operated for a long time. They can burn your hands since they will be hot.
- Follow the regulations set out by competent authorities on discharge
of the exhaust air (this warning is not applicable for use without flue). - Operate your appliance after putting a pot, pan etc. on the hob. Otherwise, high heat may cause deformation in some parts of your product.
- Turn off the hob before taking the pot, pan etc. from it.
- Do not leave hot oil on the hob. Pans with hot oil may cause self combustion.
- Pay attention to your curtains and covers since oil may catch fire while cooking food such as fries.
- Grease filter must be cleaned at least monthly. Carbon filter must be replaced at least every 3 months.
- Product shall be cleaned accordance with user manual. If cleaning was not carried out in accordance with user manual, there may be fire risk.
- Do not use non-fire-resistant filtering materials instead of the current filter.
- Only use the original parts or parts recommended by the manufacturer.
- Do not operate the product without the filter and do not remove the filters while the product is running.
- In the event of be started any flame, de-energize your product and cooking appliances.
- In the event of be started any flame, cover the flame and never use water to extinguish.
- Unplug the appliance before each cleaning and when the appliance is not in use.
- The negative pressure in the environment should not exceed 4 Pa (4×10 bar) while the hood for electric hob and appliances running on another type of energy but electricity operate simultaneously.
- In the environment where the appliance is being used, the exhaust of devices running on fuel oil or gas, such as room heater must be absolutely isolated or device must be hermetical type.
- When connecting the flue, use pipes with a diameter of 120 or 150 mm. Pipe connection must be as short as possible and have as few elbows as possible.
Danger of choking! Keep all the packaging materials away from children.
CAUTION: Accessible parts may become hot when used with cooking appliances.
- The product outlet must not be connected to air channels that include other smoke.
- The ventilation in the room may be insufficient when the hood for electric hob is used simultaneously with the devices operating on gas or other fuels (this may not apply to appliances that only discharge the air back into the room).
- Objects placed on the product may fall. Do not place any objects on the product.
- Do not flambe under the your product.
WARNING: Before installing the Hood, remove the protective films.
- Never leave high naked flames under the hood when it is in operation
- Deep fat fryers must be continuously monitored during use: overheated oil can burst into flames.
1.2 Compliance with the WEEE
Directive and Disposing of the Waste Product:
This product complies with EU WEEE Directive (2012/19/EU). This product bears a classification symbol for waste electrical and electronic equipment (WEEE).
This symbol indicates that this product shall not be disposed with other household wastes at the end of its service life. Used device must be returned to official collection point for recycling of electrical and electronic devices. To find these collection systems please contact to your local authorities or retailer where the product was purchased. Each household performs important role in recovering and recycling of old appliance. Appropriate disposal of used appliance helps prevent potential negative consequences for the environment and human health.
1.3 Compliance with RoHS Directive
The product you have purchased complies with EU RoHS Directive (2011/65/EU). It does not contain harmful and prohibited materials specified in the Directive.
1.4 Package Information
Packaging materials of the product are manufactured from recyclable materials in accordance with our National Environment Regulations. Do not dispose of the packaging materials together with the domestic or other wastes. Take them to the packaging material collection points designated by the local authorities.
2. General appearance
2.1 Overview

- Inner chimney
- Outer chimney
- Body
- Grease filter (Behind Glass Cover)
- Control panel
- Lighting
2.2 Technical data

3. Operation of the appliance
3.1 Controlling the appliance

3.2 Efficient use in terms of energy saving
- When using your appliance, adjust the speed settings according to vapour and odour intensity, in order to save energy.
- Use low speeds (1-2) under normal conditions, and high speed (3) for intense odour and vapour.
- The lamps on the hood are placed for illuminating the cooking area.
- Using them for environmental lighting shall cause unnecessary energy expenditure and insufficient lighting.
3.3 Operation of the hood
- Your appliance contains a motor that has various speeds.
- For better performance, we recommend using low speeds under normal conditions and high speeds in cases of strong odours and intense vapour.
- You can start your appliance by pressing on the desired speed setting button. (B,C,D)
- You can illuminate the cooking area by pressing the lamp. (A)
3.4 Automatic stop
Your appliance has Automatic Stop feature, enabling it to ventilate for a bit more and remove the unwanted odours and vapour inside the environment and turn off automatically after the cooking is done. To enable Automatic Stop feature, press the any speed stage button (B, C, D) on the control panel for longer than 2 seconds; the 15-minute timer function shall be activated. When the automatic stop feature is active, pressing the same speed button shall disable the automatic stop function and the appliance’s motor shall stop. This feature is disables when you switch between different speed stages.
If you want the appliance to stop automatically, you need to enable the automatic stop feature again.
3.5 Replacement of lamp

(Figure 3)
Make the electrical connections of the appliance. Your appliance uses 3W spot LED lamp. For replacing the lamps, push downwards on the holder from its behind, turn it counter-clockwise, and take it out downwards. Apply the above operation in reverse to install new lamps.

This product contains a light source of energy efficiency class “F”.
3.6 Operation with flue connection
Vapour is extracted through the flue duct, which is fastened to the connection head on the hood.- The diameter of the flue duct must be the same as the connection ring. In horizontal settings, the pipe has to have a slight upward slope (around 10º) so that the air can exit the room easily.
3.7 Operation without flue connection
Air is filtered through the carbon filter and recirculated in the room. Carbon filter is used when it is impossible to use a flue in the house.- In flueless use, remove the flaps inside the flue adapter.
- Remove the grease filter. To install the carbon filter, fit the filter to the tabs by centring it on the plastic piece on both sides of the fan body. Tighten it by turning right or left.
- Replace grease filter.
4. Cleaning and maintenance
Before cleaning and maintenance, unplug the product or turn off the switch.
4.1 Cleaning of the grease filter
Grease filter retains the oil particles in the air. Grease filters may change colour after repeated cleaning. This is normal and does not require replacement of filters.

(Figure 4)
• Push the grease filter lock forward.
• Then pull it slightly down and pull it out (Figure
4). Otherwise, you can bend the filter. Wash and rinse grease filters with liquid detergent and replace grease filters to their sockets by by carrying out the steps specified above in reverse order. This filter retains the oil particles in the air.
You may wash your grease filters in the dishwasher
CAUTION: In case of normal use, clean your filter once in a month.
4.2 Replacement of carbon filters
Odour removing filters contain charcoal (Active carbon). Grease filters must be installed in the product, regardless of whether or not carbon filters are used.

(Figure 5)
- Remove the grease filter.
- To remove the carbon filter, remove the carbon filter from its housing by rotating it counter- clockwise from the tab (Figure 5).
- Install the new carbon filter.
- Install the grease filter.
CAUTION
- Carbon filter shall never be washed.
- Replace carbon filters once every 3 months.
- You can obtain the carbon filter from the authorized services.
5. Installation of appliance
WARNING: Before starting the installation, read the safety information on User Manual.
WARNING: Failure to install with screws and stabilizers in accordance with these instructions may result in electric shock.
For the installation of the hood, please contact the nearest Authorized Service.
It is the customer’s responsibility to prepare the location and electrical installation of the hood.
5.1 Position of the appliance

(Figure 6)
- Distance between the cooker and the cooker hood must be considered prior to assembly. This distance should be 65 cm (Figure 6).
- Distance must be measured from the surface of grate for gas cookers,
- From surface of glass for electric cookers.
5.2 Installation accessories

- Product
- Inner chimney
- Outer chimney
- Chimney connection plate
- User manual
- Assembly pattern
- 2x Ø6mm plastic dowel
- 4x Ø8mm plastic dowel
- 4x 4.8×50 wall mount screw
- 2x 3.9×22 chimney connection plate screw
- 4x 3.5×9.5 chimney connection screw
- 2x 3.5×9.5 blunt-ended screw
- Chimney clamp
- 150mm plastic chimney adapter
- 150/120 Plastic chimney adapter
The information required to make the location suitable for the installation of the hood is given below.
5.3 Wall mounting
- Wall must be flat, straight and have the sufficient bearing capacity.
- Depth of drilling holes must comply with the length of bolts.
- The bolts and dowels provided are suitable for brick walls. For other construction material (e.g. drywall, plate, porous concrete), suitable fixing dowels and nuts shall be used.

CAUTION: Before drilling, ensure that there are no power, gas or water pipes in the close proximity of the drilling locations.
Draw a mid location line from the ceiling perpendicular to the lower edge of the hood.
Paste the installing template provided within the accessories on the surface where the hood is to be mounted. In doing this operation, observe the mounting height of the hood (Figure 6).
There is a tab in the middle of the flue connection plate. Place the middle point of this tab on the line that is drawn perpendicular to the wall. In doing this operation, adjust the hood according to the maximum height (Figure 1). Mark the holes where the flue connection plate will be mounted with the help of a pen (Figure 7/a).
Drill the marked points with Ø6mm drill and insert 2 plastic dowels in the drilled holes (Figure 7/a). Fix the flue connection plate to the wall with 3,9×22 screws (Figure 7/a).
To assemble the hood body, you can use the Ø8mm drill bit to drill points A, B, C, D on the assembly template, and insert 4.8x50mm plastic dowels at these points. (Figure 7/b).
2 piece 4.8×50 suspension screw with a clearance of 5 mm between the screw head and the wall (Figure 7/b).

(Figure 8)
1. Hanger plate
2. Hanging plate connection screw
In order to install your hood to the wall, loosen the screws on the hanger plates mounted on the motor cabin and pull them up, and then fasten again (Figure 8 / A).
Turn on the suction glass of the hood and remove the grease filter (Figure 4).

(Figure 9)
Attach the 150mm plastic chimney adapter included in the package to the product body with
3.5×9.5 blunt-ended screws. If the air outlet is to be connected to the air discharge duct smaller than 150mm, install the 150 / 120mm plastic flue adapter (Fig. 9).

(Figure 10)
Hold the cooker hood by its body and place it on the mounting screws on the wall and tighten the screws (Figure 10).
Secure the cooker hood with two 4.8×50 screws to the wall through the mounting hole on the interior of the appliance (Figure 10).
5.4 Connecting to flue

(Figure 11)
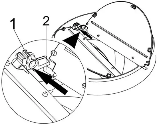
1. Flap pin socket
2. Flap pin
Insert the plastic pin (Figure 11 / area no. 2) on the pin socket on the motor exhaust (Figure 11 / area no.1). Then bend the flap lightly to insert the other pin on the flap and insert the other pin to its socket (Figure 11).
If you are going to use the Ø 120/150 mm plastic flue adapter, connect one end of the pipe to this adapter, if you are not going to use it, to the direct output on the product. Connect the other end of the pipe to your flue. Check that these two connections are tight enough so they will not come out when the appliance runs on full power. Ensure that the flaps inside the flue work when tightened with clamp. Connect the flue connection duct outside the adapter (Figure 12/a). If the connection duct is fitted inside the adapter, suction of air shall not occur as the flue flap that prevents the return of air will remain closed (Figure 12 / b). The length of the pipe connection as well as the number of elbows must be as minimum as possible.
A : Flue exit pipe
B : Flue clamps
C: Plastic flue
The valves are closed then the appliance is not operating and prevent possible outside odour and dust from entering inside.

5.5 Installation of the hood to the flue
Make the electrical connection of your hood before starting the installation of the flue. Slip the flue plates around the body. Screw the flue to the flue fastening plates available on the motor cabin. (Figure 13).
Install the flue to the flue fastening plate that is secured to the wall from its upper outer edges (Figure 13).

5.6 Storage
- If you do not intend to use the appliance for a long time, please store it carefully.
- Please make sure that the appliance is unplugged, cooled down and totally dry.
- Store the appliance in a cool and dry place.
- Keep the appliance out of the reach of children
5.7 Handling and transportation
- During handling and transportation, carry the appliance in its original packaging. The packaging of the appliance protects it against physical damages.
- Do not place heavy loads on the appliance or the packaging. The appliance may be damaged.
- Dropping the appliance will render it non-operational or cause permanent damage.
6. Troubleshooting

Arçelik A.Ş.
Karaağaç Caddesi No: 2-6, 34445,
Sütlüce, İstanbul, Türkiye
www.beko.com
Read More About This Manual & Download PDF:
Vapour is extracted through the flue duct, which is fastened to the connection head on the hood.
Air is filtered through the carbon filter and recirculated in the room. Carbon filter is used when it is impossible to use a flue in the house.
















