OTTO 4802276548 AVESA My Home Corner Sofa

different angles
Service
| Service | |||||
| Name | ![]() | ||||
| AVESA | |||||
| 8820084
8770015 | |||||
![]() | |||||

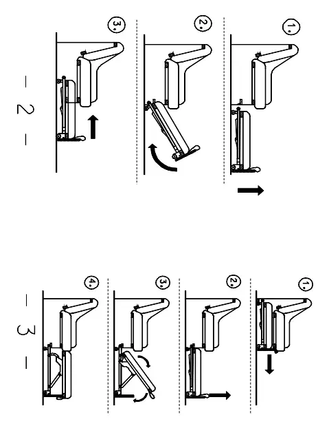
INSTALLATION


Safety instructions
- Please only clean with a duster or a damp Do no use any abrasive cleaners.
- The product is not suitable for outdoor
- Keep the product away from heat
- In general, keep water away from your furniture (e. g. when mopping or watering plants).
- The moisture may penetrate the furniture and damage it.
- This product is not a toy! Do not allow children to play with the packaging.
- They could suffocate in the foil or injure themselves on the packaging


























