9600 TimeTrax Elite Bio ek Biometric Time Clock System
User Guide
9600
SIMPLE • SMART
9600 TimeTrax Elite Bio ek Biometric Time Clock System
TIMETRAX™ Elite Bio ek
Biometric Time Clock System
TTELITEEK
User Guide available at pyramidtimesystems.com/resources/user-guides
Contents
What you will need.
Software Requirements
Operating System & Single User installation
TimeTrax™ Time & Attendance software should not be installed on server PC’s. Pyramid Time Systems does not support the use of TimeTrax™ software on a server PC.
RAM: 8GB or higher
Processor: 1.7 GHz minimum
Windows 8 or above
All Windows updates must be installed prior to software installation
Must be Primary Admin logged into the PC when installing software
Regional settings & hardware input in English
Register your product online:
pyramidtimesystems.com/support/product-registration-time-clocks
IMPORTANT:
Please write down serial # located on back of terminal before mounting.
Write your serial # here:![]()
Connect Terminal

- Connect either end of Ethernet cable into “ETHERNET” port located on the back of time clock terminal.
- Connect power supply into “POWER” port located in compartment on back of terminal.
- Route the cables through channel at base of terminal.
- Mount terminal (see instructions below).
- Plug free end of Ethernet cable into a DHCP network jack, router or switch.
- Plug power supply into outlet.
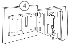
Mount Terminal
![]() | ![]() | ![]() |
To mount terminal
- Install mounting bracket. Use mounting screws and drill template provided. “TOP” is engraved to ensure bracket is oriented correctly and the tabs face upward.
- Additional holes are provided if mounting onto an electrical box.
- Push terminal onto mounting bracket aligning four tabs on bracket with four matching slots on back of terminal. Be sure to write down the terminal serial number before mounting.
- Slide terminal downward until locking tab clicks into place. When properly mounted, terminal cannot be removed from the bracket without using the included wall bracket release key to disengage locking tab.
- Cables may be rooted through channel at base of terminal or by drilling a hole in the rectangular section of the mounting bracket and through the wall for concealing cables.
To detach terminal
- Insert key (tab facing outward) into narrow slot located on bottom of terminal to right of cable access cutout.
- Push key all the way up into slot. Key will slide easily until last ½ inch until some resistance from locking tab is felt.
- With key fully pushed into slot, slide the terminal up and off mounting bracket.
Download TimeTrax™ Software
To download your Time and Attendance software follow the steps below.
- In your web browser type in the following URL: pyramidtimesystems.com/V5
- Scroll down to the “DESCRIPTION” tab and follow the instructions.
- Once your software is installed, use the default login info.
Login ID:ADMIN Password:PTI - Once logged in to the software, navigate to CLOCK/HARDWARE MANAGER. Make sure your clock says ONLINE, under STATUS. Put a check mark in the ACTIVE box to claim your clock and allow for automatic punch downloads. If your device is OFFLINE, please check your connections.
TimeTrax™ Instructional Videos
Follow the instructions below to view our setup videos.
- In your web browser type in the following URL: pyramidtimesystems.com/resources/videos
- Scroll down to TimeTrax Time and Attendance Software and start with the HARDWARE MANAGER video.
Using Time Clock
IMPORTANT: Before using time clock, please register employee fingerscans at the time clock terminal.
Instructions may be accessed by clicking “HELP” from main toolbar, or click “F1” for help on a specific screen. Please reference “Fingerscan Registration (TTELITEEK)” section.
Place finger on lit finger pad.
If finger scan is successfully read, the scanner light will briefly go out, the time clock terminal will beep and the employee number will be displayed on terminal screen.
Employee punches generated from finger scans are stored within the terminal.
The terminal stores the last 6,000 punches before download is required.
Depending upon usage, punches can be retrieved on a frequent basis.
Technical Support and Warranty information: pyramidtimesystems.com/support/warranty-and-return/
Call us
888.479.7264 EXT 1
Chat online
pyramidtimesystems.com
Send us an email
[email protected]
Copyright © 2021 Pyramid Time Systems. All rights reserved.






















