MEEPO YF-2701 Electric Skateboard

Safety Warning:
Whenever your ride a skateboard you risk death or serious injury from loss of control, falls, road hazards, and collisions. To ride safely, you must read and follow all warnings and instructions contained in this manual. Always wear safety equipment when riding including a helmet, elbow pads, knee pads, gloves, eye protection, and abrasion resistant clothing. Do not ride in the rain, on wet surfaces, or on slippery surfaces including as steel plates or manhole covers. Avoid any obstacles and debris including parked cars, rocks and gravel to avoid a loss of control. Avoid uneven surfaces including cracks in the pavement, curbs, heaved sidewalk joints, broken or missing pavement/sidewalks sections, grates and drains. Avoid riding in traffic, at night or in places where there is limited visibility. Do not ride if you are under the influence of drugs or alcohol. Do not immerse or expose the skateboard to water. Water causes permanent damage to the skateboard that is not covered by the warranty.
Warning:
Do not ride an electric skateboard at speeds or down hills where you would be unable to maintain control of a normal non-motorized skateboard.
Do not touch the rear wheel, rear wheel hub or battery case immediately after use. It is HOT and may burn you or cause external injuries.
Keep out of reach from children under age 8. Children under age 8 should never operate the electric skateboard, it is not a toy
Packing List:
- Skateboard
- Charger of the skateboard
- Remote Control
- Charge cable of the Remote Control
- User Manua

Specifications:
| Specification | Size Weight | 680*220*140mm 3.8KG |
| Product Performance | Load Max speed | Up to 150 KG 18 km/h |
|
Battery | Type Standard Voltage Capacity Range | Lithium-ion 24V 2.2AH 8-10km |
| Motor | Power | 250W |
| Charger | Input Voltage Output current Charge time | AC110~240V 1.5A 3 Hours |
| Control Model | Remote | 2.4G RF Technology |
| Speed | Fast / Slow | Adjust By Switch |
| Wheel | Type Size | PU 74*51mm |
| Packing box | Inner size Outer size | 740*155*237mm 760*170*255mm |
Preparation:
Check the switch of the handle/ skateboard in place, as the diagram:
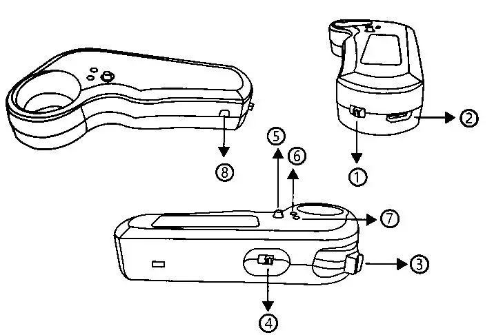
REMOTE CONTROL DIAGRAM

- Power Switch
- MINI USB Charging Port
- Start/Brake switch
- Speed switch(Slow/Fast)
- Direction switch(Forward/Backward key)
- Backward Indicator/Charging Indicator
- Forward Indicator
- Reset
PREPARATION:
- Make sure that the skateboard power switch in off state.
- Put the switch of “slow/fast” model to “slow” mode on the handle.
- Ensure the remote control was fully charged.
- The Skateboard should be fully charged before first use.
- when the handle can’t use or is invalid, click on “Reset” to make it work(ensure the remote control has power)
POWER INDICATOR:
The remote control is built-in Li-polymer battery, when it’s low power the red indicator will flash and with “beep” alarm, you should turn off the skateboard and charge the remote control. Please stop use the remote control when it’s low charge.
Operation:
Start: when slide “power switch”, the “Forward indicator” will be light(red indicator)
Forward & Backward Mode:
- If want move forward, push the “start/brake switch” and hold on the position, the skateboard will keep moving forward; loosen your grip, the speed will slow down, pull the back of key, it will be brake.

2. Switch the driving model to “backward/charging indicator”, do the same operation as forwarding step.

SLOW & FAST MODE:
- Before start the skateboard, the switch key is on the right side, it’s the “high gear” mode.
- Switch key to right side, it will be in “slow” mode. We strongly suggest beginners keep use of the beginner model.

Battery:
- Please use the matched lithium battery.
- Please don’t place the battery under fire, water or environment of extreme temperature.
- Please don’t use the impacted or aging battery.
- Please don’t put the charging batteries in easily ignored places.
- Please stop charge when the batteries are under abnormal conditions such as heating.
Maintenance, Repair, and Disposal:
Inspect your electric skateboard before every ride to ensure it is in good operating condition. Do not perform any maintenance or repair on the battery case.
Warning: This product contains a Lithium Ion battery that is considered a Class 9 (hazardous material) and must be handled carefully. Do not exposure to high temperature or fire. Improper disposal can result in fire or explosion.
Warning: The skateboard battery is not replaceable, do not open the battery compartment or attempt to change the battery. Please consult your local regulations and hazardous materials disposal service provider for proper disposal instructions.
FCC WARNING:
This device complies with part 15 of the FCC Rules. Operation is subject to the following two conditions:
- this device may not cause harmful interference, and
- this device must accept any interference received, including interference that may cause undesired operation. Any changes or modifications not expressly approved by the party responsible for compliance could void the user’s authority to operate the equipment.
NOTE: This equipment has been tested and found to comply with the limits for a Class B digital device, pursuant to Part 15 of the FCC Rules. These limits are designed to provide reasonable protection against harmful interference in a residential installation. This equipment generates, uses and can radiate radio frequency energy and, if not installed and used in accordance with the instructions, may cause harmful interference to radio communications. However, there is no guarantee that interference will not occur in a particular installation.
If this equipment does cause harmful interference to radio or television reception, which can be determined by turning the equipment off and on, the user is encouraged to try to correct the interference by one or more of the following measures:
- Reorient or relocate the receiving antenna.
- Increase the separation between the equipment and receiver.
- Connect the equipment into an outlet on a circuit different from that to which the receiver is connected.
- Consult the dealer or an experienced radio/TV technician for help. The device has been evaluated to meet general RF exposure statement.
The device can be used in portable exposure condition without restriction
Warning: Changes or modifications to this unit not expressly approved by the part responsible for compliance could void the user’s authority to operate the equipment
FCC ID:2AZ2U-YF-2701




















