LeapFrog 5 WiFi High Definition Video Monitor

Important Safety Instructions
The applied nameplate is located at the bottom of the Baby Unit’s base.When using your equipment, basic safety precautions should always be followed to reduce the risk of fire, electric shock
and injury, including the following:
- Follow all warnings and instructions marked on the product.
- Adult setup is required.
- CAUTION: Do not install the Baby Unit at a height above 2 meters.
- This product is not a substitute for adult supervision of the infant. Supervising the infant is the parent’s or caregiver’s responsibility. This product could cease operating, and therefore you should not assume it will continue working properly for any given period of time. Further, this is not a medical device and should not be used as such. This product is intended to assist you in supervising your baby.
- Do not use this product near water. For example, do not use it next to a bath tub, wash bowl, kitchen sink, laundry tub or swimming pool, or in a wet basement or shower.
- CAUTION: Use only the battery provided. There may be a risk of explosion if a wrong type of battery is used for the Parent Viewer. The battery cannot be subjected to high or low extreme temperature and low air pressure at high altitude during use, storage or transportation. Disposal of battery into fire or a hot oven, or mechanically crushing or cutting or the battery can result in an explosion. Leaving the battery in an extremely high temperature surrounding environment can result in an explosion or the leakage of flammable liquid of gas. Battery subjected to extremely low air pressure may result in an explosion or the leakage of flammable liquid or gas. Dispose of used battery according to the information in The RBRC seal.
- Use only the adapters included with this product. Incorrect adapter polarity or voltage can seriously damage the product.
Power adapter information:- Baby Unit output: Output: 5V DC 1A; VTech Telecommunications Ltd.; Model: VT05EUS05100
- Parent Viewer output: Output: 5V DC 2A; VTech Telecommunications Ltd.; Model: VT07EUS05200
Rechargeable battery information:
Zhuhai Great Power Energy Co., Ltd.; Lithium battery, 3.7V 5000mAh; Model: GSP806090-5Ah-3.7V-1S1P
- The power adapters are intended to be correctly oriented in a vertical or floor mount position. The prongs are not designed to hold the plug in place if it is plugged into a ceiling, under-the-table or cabinet outlet.
- For pluggable equipment, the socket-outlet shall be installed near the equipment and shall be easily accessible.
- Unplug this product from the wall outlet before cleaning.
- Do not use liquid or aerosol cleaners. Use a damp cloth for cleaning. Do not cut off the power adapters to replace them with other plugs, as this causes a hazardous situation.
- Do not allow anything to rest on the power cords. Do not install this product where the cords may be walked on or crimped.
- This product should be operated only from the type of power source indicated on the marking label. If you are not sure of the type of power supply in your home, consult your dealer or local power company.
- Do not overload wall outlets or use an extension cord.
- Do not place this product on an unstable table, shelf, stand or other unstable surfaces.
- This product should not be placed in any area where proper ventilation is not provided. Slots and openings in the back or bottom of this product are provided for ventilation. To protect them from overheating, these openings must not be blocked by placing the product on a soft surface such as a bed, sofa or rug. This product should never be placed near or over a radiator or heat register.
- Never push objects of any kind into this product through the slots because they may touch dangerous voltage points or create a short circuit. Never spill liquid of any kind on the product.
- To reduce the risk of electric shock, do not disassemble this product, but take it to an authorized service facility. Opening or removing parts of the product other than specified access doors may expose you to dangerous voltages or other risks. Incorrect reassembling can cause electric shock when the product is subsequently used.
- You should test the sound reception every time you turn on the units or move one of the components.
- Periodically examine all components for damage.
- There is a very low risk of privacy loss when using certain electronic devices, such as baby monitors, cordless telephones, etc. To protect your privacy, make sure the product has never been used before purchase, reset the baby monitor periodically by powering off and then powering on the units, and power off the baby monitor if you will not use it for some time.
- Children should be supervised to ensure that they do not play with the product.
- The product is not intended for use by persons (including children) with reduced physical, sensory or mental capabilities, or lack of experience and knowledge, unless they have been given supervision or instruction concerning use of the appliance by a person responsible for their safety.
SAVE THESE INSTRUCTIONS
Cautions
- Use and store the product at a temperature between 32oF and 104oF.
- Do not expose the product to extreme cold, heat or direct sunlight. Do not put the product close to a heating source.
- Batteries should not be exposed to excessive heat such as bright sunshine or fire.
- Warning—Strangulation Hazard—Children have STRANGLED in cords. Keep this cord out of the reach of children (more than 3 ft (0.9m) away). Do not remove this tag.
- Never place the Baby Unit(s) inside the baby’s crib or playpen. Never cover the Baby Unit(s) or Parent Viewer with anything such as a towel or a blanket.
- Other electronic products may cause interference with your baby monitor. Try installing your baby monitor as far away from these electronic devices as possible: wireless routers, radios, cellular telephones, intercoms, room monitors, televisions, personal computers, kitchen appliances and cordless telephones.
Precautions for users of implanted cardiac pacemakers Cardiac pacemakers (applies only to digital cordless devices):
Wireless Technology Research, LLC (WTR), an independent research entity, led a multidisciplinary evaluation of the interference between portable wireless devices and implanted cardiac pacemakers. Supported by the U.S. Food and Drug Administration, WTR recommends to physicians that:
Pacemaker patients
- Should keep wireless devices at least six inches from the pacemaker.
- Should NOT place wireless devices directly over the pacemaker, such as in a breast pocket, when it is turned ON. WTR’s evaluation did not identify any risk to bystanders with pacemakers from other persons using wireless devices.
Electromagnetic fields (EMF)
This LeapFrog product complies with all standards regarding electromagnetic fields (EMF). If handled properly and according to the instructions in this user’s manual, the product is safe to be used based on scientific evidence available today.
What’s Included
Connect, charge and power on the baby monitor
Connect the Baby Monitor
Notes:
- The rechargeable battery in the Parent Viewer is built-in.
- Use only the power adapters supplied with this product.
- Make sure the Parent Viewer and the Baby Unit are not connected to the switch-controlled electric outlets.
- Connect the power adapters in a vertical or floor mount position only. The adapters’ prongs are not designed to holdthe weight of the Parent Viewer and the Baby Unit, so do not connect them to any ceiling, under-the-table, or cabinet outlets. Otherwise, the adapters may not properly connect to the outlets.
- Make sure the Parent Viewer, the Baby Unit and the power adapter cords are out of reach of children.
- To maintain compliance with the FCC’s RF exposure guidelines, place the Baby Unit at least 20cm from nearby persons.

Charge the Parent Viewer battery before use
When you connect and turn on the Parent Viewer, the battery charges automatically.
Notes:
- Before using the baby monitor for the first time, charge the Parent Viewer battery for 12 hours. When the Parent Viewer battery is fully charged, the battery icon becomes solid .
- The standby time varies depending on the Baby Unit sensitivity levels you set for Auto Wake-Up, your actual usage time and the age of the battery. The battery icon on the screen indicates the battery status (see the following table).

Power On or Off the Baby Monitor
- Slide the On/Off switch to ON in order to power on your Baby Unit.

Note: The POWER LED Light is OFF by default. - After the Parent Viewer is fully charged, press and hold until the welcome screen appears.

Status Check
Once your Baby Unit and Parent Viewer are powered on, your Parent Viewer displays image from the Baby Unit, and the LINK LED light turns on. The Baby Unit’s POWER LED light also turns on.
Positioning the Baby Monitor

Note: To avoid interference from other electronic devices, place your baby monitor at least 3 feet (1 meter) away from devices such as wireless routers, microwaves, cell phones and computers.
Caution:
- The default volume of your Parent Viewer is level 3, and the maximum volume is level 5. If you experience a high-pitched screeching noise from your baby monitor while positioning:
- Make sure your Baby Unit and Parent Viewer are more than 3 feet (1 meter) apart, OR
- Lower the volume of your Parent Viewer.
Key Features
Color and B&W
Automatic Night Vision
Thanks to the latest starlight sensor and noise suppression technology, you can check in on your baby 24/7 with the finest clarity. Night vision is no longer just black-and-white, you can choose to see your baby in color at night! For more details, see Night Vision (B&W and Color) section.
Humidity and Temperature
Sensor
Rest assured of the environment your baby is in with the built-in real-time temperature and humidity sensor. It lets you know when the room is outside a comfortable temperature and humidity range. For more details, see Parent Viewer Icons section.
Lullabies and
Soothing Sounds
Comforting and engaging your baby can be done easily and from a distance. Choose from 5 lullabies and 5 soothing sounds to help lull your baby back to sleep. For more details, see Parent Viewer Icons – lullaby section
Night Light
Need some additional lighting near your baby for those bedtime stories? The built-in night light on the baby monitor can help with that. You can control the night light directly on the Baby Unit, or remotely from the Parent Viewer. For more details, see Parent Viewer Icons – Night Light section.
Motion and Sound Sensor
With adjustable alerts on noise or motion detected from the baby monitor, give yourself a peace of mind with an extra set of eyes. For more details, see Parent Viewer Icons – Detection section.
Technical Specifications
- Frequency 2412-2462 MHz
- Channels 1-11
- LCD 5” Color LCD (IPS 1280×720 pixels)
- Nominal effective range Maximum power allowed by FCC and IC. Actual operating range may vary according to environmental conditions at the time of use.
- Power requirements
- Parent Viewer: 3.7V 5000mAh Lithium-ion battery
- Baby Unit power adapter: Output: 5V DC @ 1A
- Parent Viewer power adapter: Output: 5V DC @ 2A
Credits:
The Background Noise sound file was created by Caroline Ford, and is used under the Creative Commons license. The Stream Noise sound file was created by Caroline Ford, and is used under the Creative Commons license. The Crickets At Night sound file was created by Mike Koenig, and is used under the Creative Commons license. The Heart Beat sound file was created by Zarabadeu, and is used under the Creative Commons license.
Overview – Parent Viewer

- Link LED light
- On when the Parent Viewer is linked to the Baby Unit.
- Flashes when the link to the Baby Unit is lost.
- Battery LED light
- 3-level sound indicator light
- Night Mode quick set key
- Select black-and-white or color night vision viewing mode.
- Adjust night light brightness.
- Arrow Keys
- Menu / Select
- Talk / Return
- Press and hold to talk to the Baby Unit.
- While in a sub-menu, press to exit.
- Microphone
- Volume
- Press to view the volume adjustment bar.
- Zoom
- Power / LCD Off
- Antenna
- Power jack
- RESET
- Force reboot the Parent Viewer.
- Stand
Overview – Baby Unit
- Light sensor
- Camera
- Microphone
- Infrared LEDs
- Night light
- Speaker
- POWER LED Light
- On / Off switch
- Night light control key
- Press to turn the night light on or off.
- Tap and hold to adjust the degree of brightness alternately; release when it reaches your desired brightness level.
- Antenna
- Power jack
- Wall mount holes
- PAIR key
- The Parent Viewer and Baby Unit(s) provided are already paired.
How the system works?
Direct mode
The Parent Viewer and the Baby Unit of your video monitor connect to each other in Direct mode by default, which allows you to stream live video right out of the box. Direct mode connection lets you stream live video from the Parent Viewer only.
Tip:
• You may experience reduced signal strength if your Parent Viewer and Baby Unit are far apart, or there are obstructing factors, such as internal walls, between them. Move the Parent Viewer closer to the Baby Unit to improve the signal strength. You can also set up Router mode to connect the units via your home Wi-Fi network to improve the connection between your Parent Viewer and Baby Unit.
Wi-Fi Router mode
You can continue using your video monitor with Direct mode connection, or you can set up your monitor in Router mode connection. Router mode uses your home Wi-Fi network to connect your video monitor. It supports live video streaming through the Parent Viewer and smartphone app. We recommend that you set up your monitor in Router mode to enjoy live video streaming
via your Parent Viewer with an enhanced connection.
If you want to stream live video remotely with your mobile device, download and install the LeapFrog mobile app. With the mobile app, your Wi-Fi router (not included) provides Internet connectivity to your HD video monitor system. It serves as a communicating channel between your Baby Unit and mobile device, allowing you to monitor and/or control your Baby Unit wherever you are. For more details, see Download app for mobile access section in this Parent Guide.
Notes:
- Your Parent Viewer detects the connection signal strength. If you have connected your video monitor with your home Wi-Fi network, your Parent Viewer automatically switches to direct or router mode – whichever has a stronger signal strength.
- When both Parent Viewer and app are viewing the camera simultaneously, the video quality will be optimised to deliver the best possible viewing result.
Parent Viewer Icons
Main Menu Icons
Monitoring mode (For LF815-2HD only)
- Baby Unit 1 in Single mode
- Baby Unit 2 in Single mode
- Patrol mode
Viewer displays video feeds from all paired Baby Units at the same time in split view. - Split mode
Viewer displays a single Baby Unit’s video feed that transitions to a different Baby Unit every 10 seconds.
Night light
- Turn On/Off night light.
- Select a night light Color. Choose from 7 preset colors and 3 light patterns.
- Select Auto Brightness mode (or)
- Adjust the fixed level night light brightness.
- Set a Timer to turn the night light off after 15, 30, or 60 minutes.
Lullaby
- Stop melody playing.
- Play all melodies.
- Play and view all Songs. Choose from 5 melodies and 5 soothing sounds.
- Set a timer to stop playing melodies after 15, 30, or 60 minutes, or let them play non-stop.
Tip: Do you icons look a little different? Your baby monitor probably got a recent software update. Go to our online manual for an overview of the latest icons (See Online Help).
Detection
Sound
- Select sound Sensitivity level.
- Turn on/off Sound Detection Alert. Parent Viewer beeps when the Baby Unit detects sounds above the chosen sound sensitivity level.
- Turn on/off Auto Wake Up function. Once the Baby Unit detects sounds that are louder than the chosen sound sensitivity level, the Parent Viewer screen and speaker turn on automatically.
Motion
- Turn on/off Motion Alert. Parent Viewer beeps when the Baby Unit detects movements larger than the chosen motion sensitivity level.
- Select motion Sensitivity level.
Temperature
- Turn on/off Temperature Alert. When you turn it on, the Parent Viewer beeps whenever the room temperature detected by the Baby Unit falls outside the set temperature range.
- Select the Minimum temperature of the temperature alert range.
- Select Maximum temperature of the temperature alert range.
- Select temperature Format. Change the temperature display format to Fahrenheit (oF) or Celsius (oC ).
Parent Viewer settings
- Adjust Parent Viewer screen Brightness.
- Adjust Low Battery Alert Tone Volume.
- Adjust No Link Alert Tone Volume.
- Turn on/off Dim Mode. (See Dim Mode section to learn more)
- Change the Language on your Parent Viewer
Baby Unit settings
- Turn on/off Status LED indicator. When on, the POWER LED light on the Baby Unit turns on/off or flash to indicate the camera’s conditions.
- Adjust the Baby Unit’s speaker Volume.
General settings
- Configure Wi-Fi.
Change your Wi-Fi network, select a Connection Mode, and check the Baby Unit and Parent Viewer’s Connection Status. - Connect Mobile Phone
- Add Baby Unit
- Remove Baby Unit
- Reset Settings to default.
- Software Update
Check if your Parent Viewer software is up to date, or install a new update when available.
Status Bar Icons or Current view status
- The Baby Unit number that is being viewed when in:
- Single Baby Unit mode
- Patrol mode (* For LF815-2HD or pairing with LF815-0HD)
- Split mode
(* For LF815-2HD or pairing with LF815-0HD) Split mode (* For LF815-2HD or pairing with LF815-0HD) Patrol mode (* For LF815-2HD or pairing with LF815-0HD) Black and white night vision is activated. - Color night vision is activated.
- Motion detection and alert is turned on.
- Sound detection and alert is turned on.
- Melodies or soothing sounds are playing.
- The night light is turned on and the automatic brightness setting is turned off.
Parent Viewer Icons (continued)
Night Vision (B&W and Color)
When the Baby Unit being viewed detects low light levels, the infrared LEDs switch on automatically with the activiation of the B&W Night Vision mode. Baby Unit has infrared LEDs that allow you to see your baby clearly at night or in a dark room. When Black and White Night Vision mode is activated, appears on the screen. When Color Night Vision mode is activated, appears on the screen.
Notes:
- It is normal to see a short white glare on your Parent Viewer screen as the Baby Unit is adapting to the dark environment.
- If you adjust the night vision mode while night vision is not activated, the new settings will be saved and applied the next time it activates.

Tip: The video quality may vary depending on the surrounding environment and interfering factors like lightings, objects, colors and backgrounds. Adjust the Baby Unit’s angle or place the Baby Unit at a higher elevation to prevent glare and blurry displays.
Basic Operation – Parent Viewer
Adjust Parent Viewer’s speaker volume
- Press to open the volume adjustment bar.
- Press to increase the speaker volume and to decrease the speaker volume.

Talk to your baby via the Baby Unit
- Press and hold the key.
- When the icon displays on the screen, speak to your Parent Viewer. Your voice is transmitted to the Baby Unit.
- When finished talking, release the key and hear your baby again.

Zoom
Press to zoom in or out. The zoom sequence is 1x , 2x , 4x , then 8x .
Turn on/off the Parent Viewer screen
You can turn on or off the Parent Viewer screen without powering off the Parent Viewer. You will still be able to hear sounds from the Baby Unit.
- Press on the Parent Viewer to turn off the screen.
- Press any key on the Parent Viewer to turn on the screen again.

Use the menu
Press to enter the menu, choose a menu item, or save a setting. You can use the Parent Viewer for advanced settings or operations, such as to play or stop the Baby Unit’s lullaby, or to adjust the Baby Unit sound sensitivity. While in the menu:
- Press , , , or to scroll among the menu options.
- Press to select an item, or to save a setting.
- Press / to return to the live video.
- Press to go to the Help & Info page

Night Light
Want a softer hue from the Baby Unit’s night light to relax your little one? You can control the brightness of its glow remotely from your Parent Viewer, or directly on the Baby Unit.
Adjust the night light on the Parent Viewer
- Press the Night Mode quick set key to view the Night Mode menu.
- Press to brighten the night light (or turn on the night light when it is switched off). Press to dim the night light (or turn off the night light when it is at the lowest brightness level). OR –
– OR –
- Press to enter the main menu.
- Press again to select .
- Press and to select , press .
- Press and to choose the desired brightness level, then press to confirm your selection.
Adjust the night light on the Baby Unit
- Tap the Night light control key located on the top of the Baby Unit to turn on/off the night light.
- Tap and hold the Night light control key to adjust the night light’s brightness. It changes level by level at a time. There are 5 levels in total.

Note: If Auto Brightness has been pre-selected, any adjustment in night light brightness (either on the Baby Unit or the Parent Viewer) will automatically turn off Auto Brightness mode and switch to the fixed level of brightness.
Test the location for the Baby Unit
If you plan to install your Baby Unit in a designated location, and use your home Wi-Fi network to connect your video monitor, you need to test which of your selected monitoring areas within the house have good Wi-Fi signal strength. After you have powered on your Parent Viewer, you can check the Parent Viewer’s Wi-Fi signal strength by going to: > Configure Wifi > Connection Status. Adjust the distance between your Baby Unit and the Wi-Fi router if needed. Once you have identified the suitable location, you can install your Baby Unit.
Tip: Depending on surroundings and obstructing factors that affect signal strength, such as distance and internal walls, you may experience reduced Wi-Fi signal. To improve the Wi-Fi signal strength, adjust the distance or direction of your Parent Viewer. Check with your Parent Viewer again.
Dim Mode: The Parent Viewer display will dim to conserve energy after 5 minutes of inactivity, in which there were neither any key pressed nor alert received from the Baby Unit.
For LF815-2HD and Pairing with LF815-0HD Only
Monitoring mode
- Single CAM mode
- Select Baby Unit 1 or Baby Unit 2 to view the image from the selected Baby Unit

Patrol mode: Select Patrol mode as your monitoring mode to alternately view the image from Baby Units and every 10 seconds.
Split mode: Select Split mode as your monitoring mode to view the images from both Baby Units at the same time.
Note: While in Split mode, you can press or to highlight the view of the Baby Unit 1 or Baby Unit 2, and hear the sounds transmitted from the highlighted Baby Unit.
Download app for mobile access
Step 1
Download the free LeapFrog baby monitor mobile app and install it to a mobile device, then use your mobile device and the mobile app to monitor your areas remotely.
- Press MENU when the Parent Viewer is in idle.
- Go to > Connect Mobile Phone.
- Scan the QR code in the Parent Viewer to download the app into your mobile device.
- Follow the instructions in the mobile app to set up and pair your Baby Unit to the mobile app. Alternatively, you can download the mobile app from the App Store or Google Play store.
Install the mobile app
- Browse the App Store or the Google Play store .
- Download and install the free LeapFrog mobile app to your device. -OR Scan the QR code below to get the app.
Note:
Make sure your mobile device meets the minimum requirement for the mobile app.
Minimum requirements:
The mobile app is compatible with:
- AndroidTM 5.0 or later; and
- iOS 11.0 or later.
Step 2
After installing the mobile app, follow the instructions in the mobile app and Parent Viewer to set up and pair your Baby Unit.
In your mobile device:
- Tap the app icon to run the mobile app in your mobile device, and then create a user account.
- We recommend that you use common webmail services, such as Google Gmail, for the registration of your user account. Check your email (and Spam folder), and activate your new user account via the email link Then, sign in to your account.
- Follow the instructions in the mobile app to pair the camera. Tap, then in the mobile app to get started.
Auto software and firmware update
To ensure that your baby monitor is always at its best performance, the Parent Viewer will prompt a message and ask you to update its software and the Baby Unit’s firmware when there are new versions available. Follow the instructions on the Parent Viewer screen to update your baby monitor. To check if your device is running on the latest software, or to update your device software, go to: Software Update.
Connect your baby monitor to Wi-Fi
You must connect your baby monitor to your secured home Wi-Fi network in order to receive the latest software and firmware updates. To set Wi-Fi up, go to: > Configure Wi-Fi > Change Wi-Fi Networks.
Mount the Baby Unit on a dry wall (optional)
Notes:
- Check for reception strength and the Baby Unit’s viewing angle before drilling the holes.
- The types of screws and anchors you need depend on the composition of the wall. You may need to purchase the screws and anchors separately to mount your Baby Units.
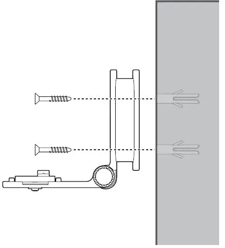
- Place the wall mount bracket on a wall and then use a pencil to mark the top and the bottom holes as shown. Remove the wall mount bracket and drill two holes in the wall (7/32 inch drill bit)

- If you drill the holes into a stud, go to step 3.
- If you drill the holes into an object other than a stud, insert the wall anchors into the holes. Tap gently on the ends with a hammer until the wall anchors are flush with the wall.

- If you drill the holes into an object other than a stud, insert the wall anchors into the holes. Tap gently on the ends with a hammer until the wall anchors are flush with the wall.
- Align the wall mount bracket and screws with the holes in the wall as shown. Tighten the screw in the middle hole first, so that the wall mount bracket position is fixed. You can tighten the other screw in the top hole.

Insert the screws into the holes and tighten the screws until only 1/4 inch of the screws are exposed.
- Place the Baby Unit on the wall mount bracket. Tighten the screw into the threaded socket at the bottom to secure the Baby Unit.

Place the Baby Unit on the wall mount bracket. Tighten the screw into the threaded socket at the bottom to secure the Baby Unit. Align the holes on the wall mount bracket with the screws on the wall, and slide the wall mount bracket down until it locks into place.
- You can maximize your Baby Unit’s viewing angles by tilting the wall mount bracket. Hold the Baby Unit, and then rotate the knob in an anti-clockwise direction. This will loosen the joint of the wall mount bracket. Tilt your Baby Unit up or down to adjust to your preferred angle. Then, rotate the knob in a clockwise direction to tighten the joint and secure the angle.


Protect your privacy and online security
LeapFrog cares about your privacy and peace of mind. That’s why we’ve put together a list of industry-recommended best practices to help keep your wireless connection private and your devices protected when online. We recommend you carefully review and consider complying with the following tips. Ensure your wireless connection is secure.
- Before installing a device, ensure your router’s wireless signal is encrypted by selecting the “WPA2-PSK with AES” setting in your router’s wireless security menu. Change default settings.
- Change your wireless router’s default wireless network name (SSID) to something unique.
- Change default passwords to unique, strong passwords. A strong password:
- Is at least 10 characters long.
- Is complex.
- Does not contain dictionary words or personal information.
- Contains a mix of uppercase letters, lowercase letters, special characters and numbers. Keep your devices up to date.
- Download security patches from manufacturers as soon as they become available. This will ensure you always have the latest security updates.
- If the feature is available, enable automatic updates for future releases. Disable Universal Plug and Play (UPnP) on your router.
- UPnP enabled on a router can limit the effectiveness of your firewall by allowing other network devices to open inbound ports without any intervention or approval from you. A virus or other malware program could use this function to compromise security for the entire network. For more information on wireless connections and protecting your data, please review the following resources from industry experts:
- Federal Communications Commission: Wireless Connections and Bluetooth Security Tips – www.fcc.gov/consumers/guides/how-protect-yourself-online.
- U.S. Department of Homeland Security: Before You Connect a New Computer to the Internet – www.us-cert.gov/ncas/tips/ST15-003.
- Federal Trade Commission: Using IP Cameras Safely – https://www.consumer.ftc.gov/articles/0382-using-ip-cameras-safely.
- Wi-Fi Alliance: Discover Wi-Fi Security – http://www.wi-fi.org/discover-wi-fi/security.
Instructions for Care
FOR INDOOR, DRY-LOCATION USE ONLY. To keep this product in good condition, follow these guidelines:
- Avoid putting it near heating appliances and devices that generate electrical noise (for example, motors or fluorescent lamps).
- Clean with a slightly damp cloth in cold water (do not use soap, detergent, or other chemicals).
- Make sure the product is dry before you connect it to the power source again.
- Avoid prolonged exposure to extreme temperatures and direct sunlight or moisture.
- Do not spill liquid of any kind on this product or immerse the product in water as it may render it inoperative.
- Keep food and beverages away from this product.
- Never try to dismantle the unit.
- Avoid dropping the product or treating it roughly.
Disclaimer and Limitation of Liability
LeapFrog and its suppliers assume no responsibility for any damage or loss resulting from the use of this handbook. LeapFrog and its suppliers assume no responsibility for any loss or claims by third parties that may arise through the use of this software. LeapFrog and its suppliers assume no responsibility for any damage or loss caused by deletion of data as a result of malfunction, dead battery, or repairs. Be sure to make backup copies of important data on other media to protect against data loss. THIS DEVICE COMPLIES WITH PART 15 OF THE FCC RULES. OPERATION IS SUBJECT TO THE FOLLOWING TWO CONDITIONS: (1) THIS DEVICE MAY NOT CAUSE HARMFUL INTERFERENCE, AND (2) THIS DEVICE MUST ACCEPT ANY INTERFERENCE RECEIVED, INCLUDING INTERFERENCE THAT MAY CAUSE UNDESIRED OPERATION. CAN ICES-3 (B)/NMB-3(B)
Caution: Changes or modifications not expressly approved by the party responsible for compliance could void the user’s authority to operate the equipment.
Warranty: Please visit our website at leapfrog.com for full details of the warranty provided in your country.
The RBRC seal
The RBRC seal on the Li-ion battery indicates that VTech Communications, Inc. is voluntarily participating in an industry program to collect and recycle these batteries at the end of their useful lives, when taken out of service within the United States and Canada. The program provides a convenient alternative to placing used Li-ion batteries into the trash or municipal waste, which may be illegal in your area. VTech’s participation makes it easy for you to drop off the spent battery at local retailers participating in the program or at authorized VTech product service centers. Please call 1 (800) 8 BATTERY® for information on Li-ion battery recycling and disposal bans/restrictions in your area. VTech’s involvement in this program is part of its commitment to protecting our environment and conserving natural resources. The RBRC Seal and 1 (800) 8 BATTERY® are registered trademarks of Call2recycle, Inc.
FCC and IC regulations
FCC Part 15
This equipment has been tested and found to comply with the requirements for a Class B digital device under Part 15 of the Federal Communications Commission (FCC) rules. These requirements are intended to provide reasonable protection against harmful interference in a residential installation. This equipment generates, uses and can radiate radio frequency energy and, if not installed and used in accordance with the instructions, may cause harmful interference to radio communications. However, there is no guarantee that interference will not occur in a particular installation. If this equipment does cause harmful interference to radio or television reception, which can be determined by turning the equipment off and on, the user is encouraged to try to correct the interference by one or more of the following measures:
- Reorient or relocate the receiving antenna.
- Increase the separation between the equipment and receiver.
- Connect the equipment into an outlet on a circuit different from that to which the receiver is connected.
- Consult the dealer or an experienced radio/TV technician for help.
WARNING: Changes or modifications to this equipment not expressly approved by the party responsible for compliance could void the user’s authority to operate the equipment. This device complies with Part 15 of the FCC rules. Operation is subject to the following two conditions: (1) this device may not cause harmful interference, and (2) this device must accept any interference received, including interference that may cause undesired operation. To ensure safety of users, the FCC has established criteria for the amount of radio frequency energy that can be safely absorbed by a user or bystander according to the intended usage of the product. This product has been tested and found to comply with the FCC criteria. The Baby Unit shall be installed and used such that parts of all persons’ body are maintained at a distance of approximately 8 in (20 cm) or more. The transmitter and antenna of the Parent Viewer shall be held at least 1 in (2.5 cm) from your face.
This Class B digital apparatus complies with Canadian requirement: CAN ICES-3 (B)/NMB-3(B)
- Consult the dealer or an experienced radio/TV technician for help.
Industry Canada
This device contains licence-exempt transmitter(s)/ receiver(s) that comply with Innovation, Science and Economic Development Canada’s licence-exempt RSS(s). Operation is subject to the following two conditions:
- This device may not cause interference.
- This device must accept any interference, including interference that may cause undesired operation of the device. The term ‘’IC:‘’ before the certification/registration number only signifies that the Industry Canada technical specifications were met.
This product meets the applicable Innovation, Science and Economic Development Canada technical specifications.
RF radiation exposure statement
The product complies with FCC RF radiation exposure limits set forth for an uncontrolled environment. The Baby Unit should be installed and operated with a minimum distance of 8 in (20 cm) between the Baby Unit and all persons’ body. Use of other accessories may not ensure compliance with FCC RF exposure guidelines. This equipment complies also with Industry Canada RSS-102 with respect to Canada’s Health Code 6 for Exposure of Humans to RF Fields.
Customer Support
Visit our Consumer Support website 24 hours a day at:
U.S.: leapfrog.com/support
C.A.: leapfrog.ca/support
Or call our Customer Service number: 1 (800) 701-5327 in the U.S. and Canada during Customer Service hours
Monday to Friday, 9am – 6pm Central Time
Online Help
Find the answer to your questions on our Online Support page . There, you will find information about product installation, features, operations and settings. Get assisted at your own pace with video walk-throughs and Frequently Asked Questions. Visit www.leapfrog.zendesk.com or scan the QR code on the left to enter our Online Support page.







































