ROBERT GORDON 2251 Cast Large Bell Instruction Manual
Thank you for purchasing high quality Australian made product, proudly designed and craßed by Robert Gordon Pottery. All our ceramic lighting products are made from high fired stoneware and adhere to all Australian standards and requirements.
To ensure correct function and safety, please read and follow all instructions carefully before assembly. Keep this document handy for future reference.
Installation instructions

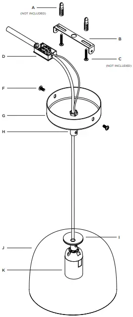
- Remove all packaging material from lighting product. Be carefully not to discard any small parts such as screws that may be hidden within the packaging.
- Unfasten the mounting bracket (B) from the canopy (G) by loosening the screws (F) on either side.
- Use the mounting bracket (B) as a template to mark the screw positions on ceiling.
- Install the mounting bracket (B) onto ceiling by using mounting screws (C) and anchors (A). Ensure the correct type of screws (C) and fixing anchors (A) are used for ceiling material and surface.
- Carefully thread cord through hole in ceramic pendant (J) until it reaches both washer rings (I)
- Adjust the suspension cord length, then make sure the screw in cord anchorage (H) is fixed tight.
- Connect the Live (L), Neutral (N) and Earth (E) according to the markings of the terminal block (D)

- Fix the ceiling canopy (G) to the mounting plate (B) with the 2 screws provided (F)
- Install a globe into the lamp holder (K). Do not exceed the maximum wattage rating.
Specifications
- SKU #: 2251
- Pendant: Cast Large Bell
- Dimensions: Dia:220mm H:158mm Susp: 2000mm (max)
- Voltage: 230/240V AC 50Hz
- Globe: E27 42W MAX GLS or equivalent CFL or LED
- Construction: Class 1
Warranty
- This product is covered by a 12 month warranty, from date of purchase. Warranty does not begin from date of installation.
- This product must be installed by a licensed electrician. Warranty will be void if this requirement is not met.
- Retain proof of purchase and evidence of installation by a licensed electrician.
- Warranty will be void if there is any damage to product, due to improper usage or modfication to fitting.
- Failure to follow the instructions in this manual may increase the risk of damage or injury and will void warranty.
- If the external flexible cable or cord of this luminaire is damaged, it shall be exclusively replaced by the manufacturer or his service agent or a similar qualified person in order to avoid a hazard.
THIS ITEM MUST BE INSTALLED BY A LICENSED ELECTRICIAN
Installation requirements
- Product must be installed by a qualified electrician
- All wiring and installation of the light fitting must adhere to local and national wiring for eg. AS/NZS 3000:2007/Amendment 2:2012 Electrical installations.
- Do not exceed the maximum wattage rating
- Ensure a suitable location for installation. is product is intended for indoor use only. Ensure mounting point can support at least 2 times and weight of fitting. Do not install in front of air ow vents or systems and areas compromised by moisture of dampness
- Check entire product before installation for any sign of damage. Do not install product if there appears to be signs of damage in any way
- Ensure before any work is undertaken that the power is switched OFF at mains
Safety tips / Maintenance
- Always ensure the power is OFF and the light fitting has cooled down before carrying out any maintenance or cleaning on globe or pendant.
- To avoid damage to fitting, ensure the power lead and screws are secure before connecting the power.
- Ensure that the fitting does not come in contact with corrosive chemicals, etc.
- To clean pendant, wipe with a damp cloth making sure power is OFF. Never soak in operating pendant in water.
Customer Support
Designed and made in Australia by Robert Gordon Pottery.
For more information on this product, please contact us:
03 5941 3144
[email protected]





















