FURRION FSBN4W-BL Soundbar Speakers Owner’s Manual
Welcome
Thank you for purchasing this Furrion® Soundbar Speaker. Before operating your new appliance, please read these instructions carefully. This instruction manual contains information for safe use, installation and maintenance of the appliance. Please keep this instruction manual in a safe place for future reference. This will ensure safe use and reduce the risk of injury. Be sure to pass on this manual to new owners of this appliance. The manufacturer does not accept responsibility for any damages due to not observing these instructions. If you have any further questions regarding our products, please contact us at [email protected]
Important Safety Instructions
![]()
CAUTION RISK OF ELECTRIC SHOCK DO NOT OPEN
TO REDUCE THE RISK OF ELECTRIC SHOCK DO NOT REMOVE COVER (OR BACK). NO USER SERVICEABLE PARTS INSIDE. REFER TO QUALIFIED SERVICE PERSONNEL.
The lightning flash with i arrowhead symbol within an equilateral triangle is Intended to alert the user to the presence of uninsulated “dangerous voltage” within the product’s enclosure that may be of sufficient magnitude to constitute a risk of electric shock.
The exclamation point within an equilateral triangle is intended to alert the user to the presence of important operating and maintenance (servicing) instructions in the literature accompanying the product.
WARNING: Playing loud music in an automobile can hinder your ability to hear traffic, as well as permanently damage your hearing. The maximum volume levels achievable with Furrion speakers, combined with high power amplification, may exceed safe levels for extended listening. We recommend using low volume levels when driving. Furrion accepts no liability for hearing loss, bodily injury or property damage as a result of use or misuse of this product.
- Always wear protective eyewear when using tools.
- Turn off all audio components and other electrical devices before you start. Disconnect the (-I negative lead from your vehicle’s battery.
- Keep speakers in their package until final installation. When moving a speaker, always rest it with the cone or dome facing up. Never use force to install any speaker.
- Check clearances on both sides of a desired mounting surface before drilling any holes or installing any screws. Remember that the screws can extend behind the surface.
- At the installation sites, locate and make a note of all fuel lines, hydraulic brake lines, vacuum lines and electrical wiring. Use extreme caution when cutting or drilling in and around these areas.
- When making electrical connections, make sure they are secure and properly insulated.
- Before drilling or cutting holes, use a utility knife to remove unwanted fabric or vinyl, to keep material from snagging in a drill bit or saw.
- Do not mount speakers where they will get wet.
- If a fuse must be replaced, be sure to use the same type of fuse and current rating as that of the original.
SAVE THESE INSTRUCTIONS
Installation
Unpacking
Carefully unpack the speakers. Check to make sure the carton includes all the parts shown below. If any part of the speaker appears damaged, do not use them. Notify your Furrion dealer immediately.
Equipment you will Need
- Protective Eyewear

- Sharp Pencil

- Screw Driver

- Wire Cutter / Stripper

- Tape Measure

- Painter’s Tape

- Power Drill

- Keyhole Saw

- A carpenter’s level is suggested for use when installing the speakers in a wall.
- Painter’s tape or other tape with light adhesive will not damage paint or wallpaper.
- Cutting tool:
For drywall. – a keyhole saw, drywall saw, rotary cutting tool, or jigsaw is required. For plaster and lath – a saber saw or a rotary cutting tool is required.
Steps to Install
Before you make any holes
Be sure you have read and understand the considerations provided in “Important Safety Instruction”, so you can proceed with confidence.
CAUTION: If you are unsure of your ability to complete this process, contact a professional installer.
Drill a pilot hole for testing the wall space
Before you make a large cut into the wallboard, check the space by probing behind the wall or ceiling through a small pilot hole. Time spent now can help ensure a successful installation.
WARNING: Use eye protection and be sure to observe all safety precautions while using a drill or cutting tool. Caution against drilling without eye protection.
Prepare the Wall for Inserting the Speaker
Measure and mark the hole to be cut
You need a carpenter’s level, a sharp pencil, and optional tape with the template to complete this step.
- Position the template carefully over the pilot hole where you want to install one speaker.
- Make sure the template is level. (Fig. A)

Attaching rectangular grille frames
- Line up the curved edge of the grille with the curve over and press that edge into the speaker frame first. {Fig. B}

- Press the stop of the grille firmly into place until you feel some resistance. When the grille lines up flush with the frame of the speaker, it is seated properly.
- Drill two holes (refer to Fig. Al. Connect the speaker wires to the amplifier and mount the speakers on the wall.
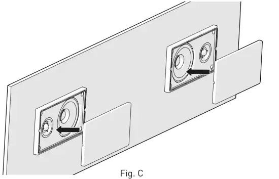
- Snapping the grille into place. [Fig. C]

Circuit Diagram

Warranty
Furrion warrants for a period of 1 year from date of retail purchase by the original end-use purchaser, that this product, when delivered to you in new condition, in original packaging, from a Furrion authorized reseller and used in normal conditions, is free from any defects in manufacturing, materials, and workmanship. In case of such defect, Furrion shall replace or repair the product at no charge to you. This warranty does not cover: products where the original serial numbers have been removed, altered or cannot readily be determined; damage or loss caused by accident, misuse, abuse, neglect, product modification, failure to follow instructions in owner’s manual, commercial or industrial use; damage or loss caused to the decorative surface of product; to any data, software or information; and normal wear and tear. This warranty only protects the original end-user ryoul and is not transferrable; any attempt to transfer this warranty shall make it immediately void. This warranty is only valid in the country of purchase.
THIS WARRANTY AND REMEDIES SET FORTH ABOVE ARE EXCLUSIVE AND IN LIEU OF ALL OTHER WARRANTIES, REMEDIES AND CONDITIONS, WHETHER ORAL OR WRITTEN, EXPRESS OR IMPLIED. FURRION SPECIFICALLY DISCLAIMS ANY AND ALL IMPLIED WARRANTIES, INCLUDING, WITHOUT LIMITATION, WARRANTIES OF MERCHANTABILITY AND FITNESS FOR A PARTICULAR PURPOSE. IF FURRION CANNOT LAWFULLY DISCLAIM IMPLIED WARRANTIES UNDER THIS LIMITED WARRANTY, ALL SUCH WARRANTIES, INCLUDING WARRANTIES OF MERCHANTABILITY AND FITNESS FOR A PARTICULAR PURPOSE ARE LIMITED IN DURATION TO THE DURATION OF THIS WARRANTY.
No Furrion reseller, agent, or employee is authorized to make any modification, extension, or addition to this warranty.
FURRION IS NOT RESPONSIBLE FOR DIRECT, INDIRECT, SPECIAL, INCIDENTAL OR CONSEQUENTIAL DAMAGES RESULTING FROM ANY BREACH OF WARRANTY OR CONDITION, OR UNDER ANY OTHER LEGAL THEORY, INCLUDING BUT NOT LIMITED TO LOST PROFITS, DOWNTIME, GOODWILL, DAMAGE TO OR REPLACEMENT OF ANY EQUIPMENT OR PROPERTY, ANY COSTS OF RECOVERING, REPROGRAMMING, OR REPRODUCING ANY PROGRAM OR DATA STORED IN OR USED WITH FURRION PRODUCTS. FURRION’S TOTAL LIABILITY IS LIMITED TO THE REPAIR OR REPLACEMENT OF THIS PRODUCT PURSUANT TO THE TERMS OF THIS WARRANTY. SOME STATES DO NOT ALLOW THE EXCLUSION OR LIMITATION OF INCIDENTAL OR CONSEQUENTIAL DAMAGES OR EXCLUSIONS OR LIMITATIONS ON THE DURATION OF IMPLIED WARRANTIES OR CONDITIONS, SO THE ABOVE LIMITATIONS OR EXCLUSIONS MAY NOT APPLY TO YOU. THIS WARRANTY GIVES YOU SPECIFIC LEGAL RIGHTS, AND YOU MAY ALSO HAVE OTHER RIGHTS THAT VARY BY STATE OR [WHERE APPLICABLE IN THE COUNTRIES WHERE FURRION HAS NON-US/CANADIAN AUTHORIZED DEALERS) COUNTRY. NO ACTION OR CLAIM TO ENFORCE THIS WARRANTY SHALL BE COMMENCED AFTER THE EXPIRATION OF THE WARRANTY PERIOD.
Keep your receipt, delivery slip, or other appropriate payment record to establish the warranty period. Service under this warranty must be obtained by contacting Furrion at [email protected]
Product features or specifications as described or illustrated are subject to change without notice.
Customer Support
FURRION Furrion Innovation Center & Institute of Technology
- 52567 Independence Ct.. Elkhart, IN 46514 USA
Toll free 1-888-354-5792 - Email: [email protected]
02007-2017 Furrion Ltd. Furrion and the Furrion logo are trademarks licensed for use by Furrion Ltd. and registered in the U.S. and other countries.
FURRION.COM



























![Yamaha Sound Bar [sr-c20a] User Manual Yamaha Sound Bar [sr-c20a] User Manual](https://static-data1.manualsee.com/1/img/163/57372/2021/02/Yamaha-Sound-Bar-SR-C20A-Featured.jpg)

