SHOPLED SW-RIB-100-1 RGB LED Flood Light User Manual
Thank you for buying this product. Please read all safety information and installation introduction before installing the light.
SAFETY INSTRUCATION
- The installation should be carried out by a qualified electrician in compliance with the wiring regulations
- Ensure the power is off before wiring and installation.
- If there is any damage on the lamp cord, please cut off the power and stop using it.
- To avoid any hurts by fallen lamp or electric shock, please don’t retrofit this lamp at random
- To ensure normal work of the lamp, please use the voltage indicated on the packing
- The IP Rating of this lamp is IP66. But it can not be soaked in water otherwise it will stop working and lead to electric leakage
- The led bead will generate heat while working, which will be transferred to the flood light housing. So it is normal for the housing to rise in temperature
SPECIFICATIONS
Power: 100W
Input Voltage: AC100-240V 50/60Hz
Color: RGB
Waterproof Grade: IP66
Lifespan: 45,000 Hours
Control Method: IR Remote and App
COMPONENTS AND STRUCTURE

5Ft US Plug Power cord (Note: different plugs available according to the destination countries) The plug received will vary depending on the location (EU, UK, US, AU)
INSTALLATION GUIDE
- Drill holes on the wall

- Put the ribbed plastic anchors into the holes

- Use screws to fix the support stand on the wall

- Install the light on the prepared support stand

- Connect the light to the power supply

CONTROLLER INSTRUCTIONS
- IR Remote Control
This led flood light come with IR remote controller which can be controlled within 100ft. And this remote is powered by CR2025 battery, you can replace the battery by yourself if you need it.
- Wireless App Control
This led flood light supports wireless Control, please scan the QR-Code or directly search “HappyLighting” on the App Store /Google Play and download it.
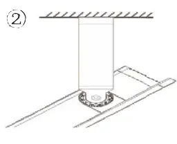
MOUNTING TYPE
Mount to the wall
Mount to the ceiling
Mount to the ground
MAINTENANCE
- Please make sure the power is off before maintenance.
- This product is ready to use and the LED chip inside is non-replaceable.
- To ensure better lighting, please clean the lamp at regular intervals.
- To avoid any damage to the lamp, please do not use chemical solvent during routine maintenance.
- This fitting should not be modified, any modifications will void the warranty.
- When the lamp reaches its lifespan, or you choose to replace it please do not dispose it with your normal household waste. Please recycle if recycling facilities are available in your neighborhood check with your local authority or retailer for suitable options.
AFTER-SALES SERVICE
If you have any doubt or problem with the product, you can contact us to [email protected]. Please leave a brief description of your concerns or issues and we will reply within 2 business days.
FCC Statement
Changes or modifications not expressly approved by the party responsible for compliance could void the users authority to operate the equipment. This equipment has been tested and found to comply with the limits for a Class B digital device, pursuant to Part 15 of the FCC Rules. These limits are designed to provide reasonable protection against harmful interference in a residential installation. This equipment generates uses and can radiate radio frequency energy and, if not installed and used in accordance with the instructions, may cause harmful interference to radio communications.
However, there is no guarantee that interference will not occur in a particular installation. If this equipment does cause harmful interference to radio or television reception, which can be determined by turning the equipment off and on, the user is encouraged to try to correct the interference by one or more of the following measures:
- Reorient or relocate the receiving antenna.
- Increase the separation between the equipment and receiver.
- Connect the equipment into an outlet on a circuit different from that to which the receiver is connected.
- Consult the dealer or an experienced radio/TV technician for help.
This device complies with part 15 of the FCC rules. Operation is subject to the following two conditions
- this device may not cause harmful interference, and
- this device must accept any interference received, including interference that may cause undesired operation.
1RF warning for Mobile device
This equipment complies with FCC radiation exposure limits set forth for an uncontrolled environment. This equipment should be installed and operated with minimum distance 20cm between the radiator & your body.

Sea&Mew Consulting
97 Avenue d’Alfortville, 94600
Choisy-le-Roi
Siyu Gao
[email protected]

Sea&Mew Accounting Ltd
ElectrlcAvenue vision 25. London,
Enfield EN3 7GD
Billy Han
[email protected]
Professionalism is the winner
Email: [email protected]
Facebook: SHOPLED
24/7 HOURS CUSTOMER SERVICE

Manufacturer:Dong Guan City Shengwei Lighting Co., Ltd
MADE IN CHINA



















