Item Number: A03972
WARNING (To reduce the risk of fire, electric shock, or personal injury):
- We suggest installation by a licensed electrician.
- Please read the instruction carefully and save it as you may need it at a later time.
- Before you start, NEVER attempt any work without shutting off the electricity until the work is done.
A) Go to the main fuse, or circuit breaker, box in your home. Place the main power switch in the “OFF” position.
B) Place the wall switch in the “OFF” position. - The mounting surface should be clean, dry, flat, strong enough and 1/4” larger than the canopy on all sides. Any gaps between the mounting surface and canopy exceeding 3/16” should be corrected as required.
- Make sure that the ceiling or wall can stand the weight of the lamp before installation.
- Make sure the voltage you are using is 120V. The maximum wattage is 40W per bulb.
- Keep the lamp away from acidic and alkaline substances in case of damaging the surface of the lamp.
- When replacing bulbs, you should turn off or unplug the lamp and you must wait until it is cool as bulbs get hot quickly.
- The safety instructions appearing in this manual are not meant to cover all possible conditions that may occur. It must be understood that common sense, caution and care must be used with any electrical products.
IMAGE FOR FINISHED PRODUCT:

TOOLS REQUIRED (NOT INCLUDED):
Before starting assembly and installation please prepare the needed tools as below picture
PARTS TYPE & QTY INCLUDING:
| (C) Single bar (1) (D) Green ground screw (1) (E) Canopy (1) (F) Collar ring (1) (G) Collar loop (1) | (H) Quick link (2) (I) Chain (1) (J) Loop (1) (K) Iron frame (1) (L) Glass shade (1) (M) Socket (1) |

ACCESSORIES & QTY ENCLOSED:
(A) Wire connector (3)
(B) Mounting screw (2)
ASSEMBLY & INSTALLATION INSTRUCTIONS:
- Carefully remove the fixture from the carton and check that all parts and accessories are included as shown in the above illustration.
- Make pre-installation
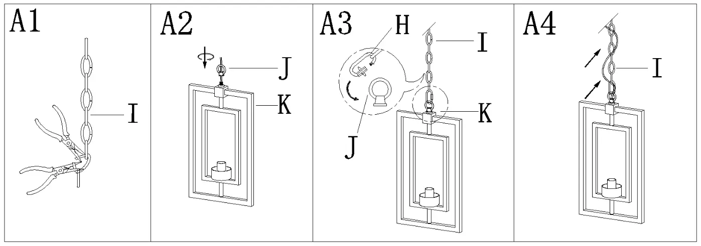
Step A1: By measuring, determine the correct number of links needed for proper hanging height. Using the chain pliers, disconnect and discard the unwanted part.
Step A2: Screw loop (J) onto iron frame (K).
Step A3: Attach quick link (H) to chain (I) and loop (J) on the top of iron frame (K).
Step A4: Carefully weave the fixture wires through chain (I) in and out of every other link and stop just when you reach the top of chain (I). Gently pull the wires to ensure the wires are not stressed. - Turn off power
Before you start the installation, NEVER attempt any work without shutting off the electricity until the work is done.
A) Go to the main fuse, or circuit breaker, box in your home. Place the main power switch in the “OFF” position.
B) Place the wall switch in the “OFF” position. - Make installation

Step B1: Remove collar ring (F) from collar loop (G). Attach single bar (C) to the outlet box with mounting screws (B).
Be sure that the side of the single bar (C) marked “GND” must face out, then unscrew collar ring (F) from collar loop (G).
Step B2: Raise canopy (E) over collar loop (G) and screw collar ring (F) to measure a proper position.
Unscrew collar ring (F) from collar loop (G) and remove canopy (E). Refer to the following note, you would know the proper position where the collar loop (G) should be located.
Note: canopy (E) should be snug against the ceiling and collar loop (G) should be screwed enough threads (no less than 6 threads) on the pre-assembled threaded nipple for more secure hanging. If not, adjust the collar loop
(G) on single bar assembly (C) by screwing collar loop (G) in or out of the single bar (C) until the secure length is achieved.
Step B3: Pass chain (I) through the collar ring (F), then through the canopy (E).
Step B4: Open quick link (H), attach quick link (H) to collar loop (G). Close quick link (H).
Pass the fixture wires through collar loop (G) to the top of the pre-assembled threaded nipple and gently pull to ensure the wires are not stressed.
Step B5: If needed, shorten the length of fixture wires. At this point, the remaining wire length measured above the single bar (C) is at least 6″.
Step B6: Make wire connections
Connect wires as below wires connection shown. PLEASE NOTE THAT GROUND WIRE IS BARE COPPER WIRE AND NEVER CONNECTS OTHER WIRES TO GROUND WIRES.
Connect ground wires according to the below chart 
Connect wires according to the below chart
| Connect Black or Red Supply Wire to: | Connect White Supply Wire to: |
| Black | White |
| *Parallel cord ( round & smooth ) | *Parallel cord ( square & ridged ) |
| Clear, Brown, Gold or Black without tracer | Clear, Brown, Gold, or Black with tracer |
| Insulated wire ( other than green) with copper conductor | Insulated wire ( other than green ) with silver conductor |
*Note: When parallel wires ( SPT I & SPT II ) are used. The neutral wire is square-shaped or ridged and the other wire will be round in shape or smooth ( see illus. )
Connect wires according to the below chart 
Twist wires together with plastic wire connectors until tightly joined, and wrap each connector with approved electrical tape. Be sure that no wire strands are exposed and then carefully tuck all wires into the outlet box.
Step B7: Raise canopy (E) to the ceiling and secure canopy (E) in place by tightening collar ring (F) onto collar loop (G).
Step B8: Install bulbs (not included) (Please do not exceed the maximum wattage recommended on the socket.)
Cover socket (M) with glass shade (L).
5. Check everything is already installed properly, then you could turn on the light. Enjoy!
CLEANING.
To clean, wipe the fixture with a soft cloth. Do not use abrasive materials such as scouring pads or powders, steel wool or abrasive paper.
ORDERING PARTS.
Keep this sheet for future reference in case you need to order replacement parts. All parts for this fixture can be ordered from the place of purchase. Be sure to use exact wording from illustration when ordering parts.
+1 850 296 2377
Working hours : Mon – Fri 9:00 a.m. – 16:00 p.m. EST
[email protected]
Step A1: By measuring, determine the correct number of links needed for proper hanging height. Using the chain pliers, disconnect and discard the unwanted part.














