
Instructions for installation and operation
High pressure water separators and -filter with thread connection
CLEARPOINT® HP 50 S040 – M023

08-557
Introduction
These instructions for installation and operation will help you to become more familiar with the CLEARPOINT® and enable you to utilize the device within the intended scope of application. Furthermore, the instructions contain important information for ensuring safe, correct and economic operation.
The individual directions have to be followed precisely as described in order to avoid hazards or damage. Additionally, it will be necessary to observe the accident prevention regulations valid in the operator’s country and at the place of installation together with the approved rules of engineering practice concerning correct safety and work procedures.
A long filter lifetime will only be achieved if the notes, stipulations and maintenance rules in the Instructions for Installation and Operation are carefully observed.
All persons carrying out the installation, commissioning, maintenance or repair of the product on the operator’s premises must have read and understood these instructions for installation and operation. The instructions should be permanently available at the place of installation.
Guarantee
CLEARPOINT® water separators and filters are built according to the state of the art and the approved safety rules of engineering practice. However, the use of the product can endanger the health & life of attending personnel or third parties and can have a considerable negative effect on the product itself or on other material assets if:
– the personnel is not properly trained,
– the product is used for purposes other than the intended application,
– the device is not correctly serviced or maintained.
This can render the guarantee invalid.
The devices are designed for gaseous neutral fluids of group II according to PED 2014/68/EC up to a maximum pressure of 50 bar (g). The fluids must be free from any aggressive substances. Non-observance of this condition excludes all liability claims. In the interest of further development,
BEKO TECHNOLOGIES reserves the right to implement changes at any time, while retaining the essential features of the device, if such changes become necessary to enhance the technical capacity of the device or for reasons of safety or standard commercial practice.
Safety rules
- The plant operator must put in place suitable technical safety measures to ensure that the operating parameters cannot be exceeded.
- The personnel carrying out the installation, commissioning, maintenance or repair of the device must be properly qualified for this type of work. In particular, the persons concerned must
– be suitably trained and familiar with handling compressed-air systems besides being informed about the associated dangers,
– know the content of the relevant instructions for installation and operation, and
– possess vocational qualifications or entitlements in this particular field of work. - Before the start of any work, the housing must first be depressurized.
- In the case of CLEARPOINT® water separators and filters with BEKOMAT® 12 PN 63 all the rules of the separate instructions need to be complied with.
- To ensure safe functioning, only use the device within the operational limits (operating pressure, operating temperature, volumetric flow, material stability). Pressure surges must be avoided.
- Where a BEKOMAT® 12 PN 63 is installed, it must be ensured that the device is designed for the stated volumetric flow of compressed air or gas. Condensate surges into the device can impair the function.
- In the event of leaks, shut off the compressed-air supply immediately and eliminate the cause in order to maintain safe and cost-effective operation.
- CLEARPOINT® water separators and filters, including accessories, must be checked once a week. This applies in particular to the function of the separator. When using water separators/filters with a manual drain: be careful opening the ball valve (large opening cross-section). Manual drains must be secured against accidental opening.
- For connections or joints only use suitably threaded fittings designed for this pressure range. (see page 18)
- CLEARPOINT® wall brackets are designed for a maximum load of 3 filters in series. Any additional mechanical loads, e.g. due to pipes or other equipment, must be avoided.
Areas of application of water separators
CLEARPOINT® water separators are designed for the separation of solid particles and liquid droplets from nonaggressive compressed air or industrial gases.
Limits in usage
max. operating pressure : 50 bar(g)
max. operating temperature : +2 °C to +60 °C
Areas of application of filter
CLEARPOINT® filters are designed for the separation of solid particles, aerosols, oil vapours and odours from non-aggressive compressed air or industrial gases. Depending on the specific application, the filter housings are provided with different inserts:
CX Coarse filter for the separation of coarse solid matter pollutants up to 25 µm.
FX Fine filter element for the separation of liquids up to 0.05 mg/m³ and solid particles up to 1 µm.
SX Super fine filter element for the separation of liquids up to 0.005 mg/m³ and solid particles up to 0.01 µm.
A Activated carbon filter elements for the separation of oil vapours up to 0.003 mg/m³ and odours .
R(x) Dust filter for the separation of solid particles, fineness from C to S
Max. operating pressure: to 50 bar(g)
Max. operating temperature: +2 °C to +60 °C
Recommended operating temperature:
CX, FX, SX: +2 °C … +40 °C
A: +2 °C … +30 °C
R(x): +2 °C … +60 °C
Function
Water separator
The separator housings are equipped with internal swirl inserts, that cause air entering at high speed to be invested with a rapid rotating motion. The acceleration this causes produces a large centrifugal force on the particles and droplets within the compressed air, which propels them onto the outer wall. Gravity causes them to drip from there into the collecting chamber from which they are then drained.
Filter CX, FX, SX and R(x)
Solid particles are separated by impact and inertia effect, oil and water aerosols by coalescence effect. Due to gravity, filtered out liquid particles gather in the lower part of the filter housing from where they are discharged either manually or automatically. With coalescence filters the direction of flow through the filter element is from the inside to the outside; with dust filters the flow moves from outside to the inside.
Activated carbon filter A
The flow through the activated carbon bed proceeds from the inside to the outside. Oil vapours and odours are adsorbed on the activated carbon. The carbon is incorporated into a binding fabric which ensures the reliable retention of dust particles.
Economic efficiency of filters
Surface and depth filters series C, F, S and R(x)
In the course of time, particles accumulate in the filtration medium and reduce the space available for flow. Consequently, the flow resistance will gradually increase, which is indicated on the differential pressure gauge.
It is recommended to replace the filter elements at a differential pressure of 0.4 bar or at least once a year, whichever comes first. If the element replacement is delayed any longer, the economic efficiency will suffer since the higher differential pressure has to be compensated by the upstream compressor. This will push up the electricity consumption and lead to greater wear on the compressor.
Activated carbon filter, series A
In order to prolong the service life of the elements, the residual moisture of the inflowing gas should not exceed 80 %. The capacity of the elements will be exhausted after 6 months at the latest so that the element should then be replaced.
The nominal diameters of the pipes should be as uniform as possible in order to avoid creating additional flow resistance. Reduced pipe sections should only be installed where required for the partial flow outlets (ring, connecting or supply lines).
Installation
CLEARPOINT® water separators and filters undergo stringent quality control procedures in the manufacturing plant and are handed over to the forwarding agent in a perfect condition. Upon arrival of the goods, please check for any visible damage and, where appropriate, insist on a corresponding note on the delivery receipt. Get in touch immediately with the forwarding agent and arrange for an assessment of the damage. The manufacturer is not responsible for any damage caused during transport.
Positioning:
The plant operator must ensure that the device is firmly fixed and protected against exterior mechanical effects.
The housing should be mounted in a vertical position. Observe the direction of flow which is indicated by an arrow on the housing.
Where required, the filter(s) should be additionally fixed using wall brackets (max. of 3 filter combinations with 3 filters per set of wall brackets). Incoming and outgoing pipes (also at the condensate outlet) must be mounted without placing them under mechanical strain. The water separator/filter should be installed in an easily accessible position, so that any possible measuring points will also be easy to see and access.
For replacing the filter elements it is necessary to leave a handling space under the housing (see page 18).
Installation:
The housing bottom has a fine thread on the side facing the filter head. For correct installation, the closed slide should face to the front.
For better filter efficiency, it is recommended to install the device at a preferably cool, but frost-protected point along the pipe network.
In the case of CLEARPOINT® 12 PN 63 models supplied with a BEKOMAT® condensate drain as a standard, please observe the instructions in the corresponding documentation. For montering the BEKOMAT® unit please use the connection kit (see drawing on page 18).
The condensate must be disposed of in compliance with the valid legal regulations. Condensate treatment using an ÖWAMAT oil-water separator or a BEKOSPLIT® emulsion splitting plant represents a particularly economic solution.
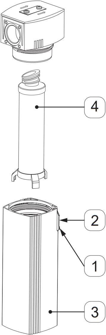
Filter element replacement
- Close any existing shutoff valves at the gas inlet and outlet or depressurize the system.
- Depressurize the housing.
- Undo the screw (1) of the slide (2). In the case of a sound signal, the housing is still under pressure! Only open the slide after complete pressure release.
- Unscrew the bottom (3). Inspect the filter components for damage or corrosion. In the case of damage, check with the manufacturer. Clean the housing parts, if necessary.
Caution: Do not use any aggressive cleansing agents or solvents. - Remove the old filter element (4) and insert new one. Note: the upper end cap must be installed according to the inclination in the element seat.
- Close the housing, look the slide (2) in position and screw down.
- Slowly admit pressure to the filter by gradual opening of the shutoff valves.
- Make a note of the date of the next element replacement on the maintenance schedule and the label supplied with the elements. Stick the label on a part of the filter housing where it can easily be seen. Reorder new elements and, where appropriate, a new float-type drain to ensure an adequate stock of spare parts (see Appendix, Fax Request).

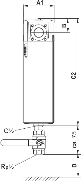
Technical data
Filter Model 1) 4) | Pipesize 5) DIN ISO 228-1 | Flow rate 6) m³/h | A mm | A 1 mm | B mm | C1 mm | C2 mm | D mm | Volume l | Weight kg | Filter element 1) |
| HP50S040 (typ) W (drain) | G 3/8 | 130 | 75 | 60 | 28 | 420 | 180 | 180 | 0,25 | 0,75 | 04(Typ) |
| HP50S050 (typ) W (drain) | G ½ | 210 | 75 | 60 | 28 | 450 | 210 | 180 | 0,31 | 0,85 | 05(Typ) |
| HP50S055 (typ) W (drain) 2) | G ½ | 370 | 75 | 60 | 28 | 505 | 265 | 180 | 0,42 | 1,2 | 06(Typ) |
| HP50S075 (typ) W (drain) | G ¾ | 490 | 100 | 80 | 34 | 520 | 280 | 180 | 0,87 | 1,7 | 07(Typ) |
| HP50M010 (typ) W (drain) | G 1 | 660 | 100 | 80 | 34 | 590 | 350 | 180 | 1,12 | 2,1 | 10(Typ) |
| HP50M012 (typ) W (drain) 2) | G 1 | 790 | 100 | 80 | 34 | 625 | 385 | 180 | 1,26 | 2,2 | 12(Typ) |
| HP50M015 (typ) W (drain) | G 1 ½ | 1050 | 146 | 120 | 48 | 605 | 365 | 180 | 2,52 | 4,1 | 15(Typ) |
| HP50M018 (typ) W (drain) 2) | G 1 ½ | 1380 | 146 | 120 | 48 | 658 | 418 | 180 | 2,97 | 4,5 | 18(Typ) |
| HP50M020 (typ) W (drain) | G 2 | 1900 | 146 | 120 | 48 | 708 | 468 | 180 | 3,40 | 5,1 | 20(Typ) |
| HP50M022 (typ) W (drain) | G 2 | 2700/3500 3) | 146 | 120 | 48 | 805 | 565 | 180 | 4,23 | 6,1 | 22(Typ) |
| HP50M023 (typ) W (drain) 2) | G 2 | 3500 | 146 | 120 | 48 | 923 | 683 | 180 | 5,24 | 7,4 | 23(Typ) |
Working pressure max. 50 bar(g)
Working- and ambient temperature +2 … +60 °C
1) When ordering, please state the required the degree of filtration (type).
2) water separator not available
3) Volume flow of the water separator

Technical data
Type | Description | Solid particles µm | Residual oil content 7) mg/m³ |
W | Water separator | – | – |
| CX | Coarse filter | 25 | 5 |
FX | Fine filter | 1 | 0,05 |
| SX | Super fine filter | 0,01 | 0,005 |
A | Activated carbon filter | – | 0,003 |
| R (typ) | Dust filter | type | type |
4) When ordering, please state the type of drain.
P with connection for BEKOMAT® 12 CO PN 63
(BEKOMAT® 12 CO PN 63 order separately)
M manual drain
C without drain
5) also with NPT- thread available according ANSI/ASME B1.20.1-1983, R1992
6) Volumetric flow at 50 bar(g) operating pressure, related to +20 °C and 1 bar absolute
7) with coalescence filter oil aerosol content, with activated carbon filter oil vapour content
Pressure corrective factors for other operation pressure
| Operation pressure (g) Operation pressure | 20 290 | 30 435 | 40 480 | 50 725 |
| Corrective factor | 0,64 | 0,78 | 0,90 | 1 |
Accessories
Manual drain
Order reference 4006993
Connection set for BEKOMAT®12 PN 63
Order reference 4006141
BEKO TECHNOLOGIES GmbH
Im Taubental 7
D – 41468 Neuss
Tel. +49 2131 988 0
Fax +49 2131 988 900
[email protected]
[email protected]
BEKO TECHNOLOGIES B.V.
Veenen 12
NL – 4703 RB Roosendaal
Tel. +31 165 320 300
[email protected]
[email protected]
BEKO Tecnológica España S.L.
Torruella i Urpina 37-42, nave 6
E – 08758 Cervelló
Tel. +34 93 632 76 68
Mobil +34 610 780 639
[email protected]
BEKO TECHNOLOGIES S.r.l
Via Peano 86/88
I – 10040 Leinì (TO)
Tel. +39 011 4500 576
Fax +39 0114 500 578
[email protected]
[email protected]
BEKO TECHNOLOGIES S. de R.L. de C.
BEKO Technologies, S de R.L. de C.V.
Blvd. Vito Alessio Robles 4602 Bodega 10
Zona Industrial
Saltillo, Coahuila, 25107
Mexico
Tel. +52(844) 218-1979
[email protected]
BEKO TECHNOLOGIES LTD.
Unit 11-12 Moons Park
Burnt Meadow Road
North Moons Moat
Redditch, Worcs, B98 9PA
Tel. +44 1527 575 778
[email protected]
BEKO TECHNOLOGIES
(Shanghai) Co. Ltd.
Rm.715 Building C, VANTONE Center
No.333 Suhong Rd.Minhang District
201106 Shanghai
Tel. +86 (21) 50815885
[email protected]
[email protected]
BEKO TECHNOLOGIES LIMITED
Room 2608B, Skyline Tower,
No. 39 Wang Kwong Road
Kwoloon Bay Kwoloon, Hong Kong
Tel. +852 2321 0192
[email protected]
BEKO TECHNOLOGIES K.K
KEIHIN THINK Building 8 Floor
1-1 Minamiwatarida-machi
Kawasaki-ku, Kawasaki-shi
JP – 210-0855
Tel. +81 44 328 76 01
[email protected]
BEKO TECHNOLOGIES S.à.r.l.
Zone Industrielle
1 Rue des Frères Rémy
F – 57200 Sarreguemines
Tél. +33 387 283 800
[email protected]
[email protected]
BEKO TECHNOLOGIES s.r.o.
Na Pankraci 58
CZ – 140 00 Praha 4
Tel. +420 24 14 14 717 /
+420 24 14 09 333
[email protected]
BEKO TECHNOLOGIES INDIA Pvt. Ltd.
Plot No.43/1 CIEEP Gandhi Nagar
Balanagar Hyderabad
IN – 500 037
Tel. +91 40 23080275 /
+91 40 23081107
[email protected]
[email protected]
BEKO TECHNOLOGIES Sp. z o.o.
ul. Pańska 73
PL – 00-834 Warszawa
Tel. +48 22 314 75 40
[email protected]
BEKO TECHNOLOGIES CORP.
900 Great Southwest Pkwy SW
US – Atlanta, GA 30336
Tel. +1 404 924-6900
Fax +1 (404) 629-6666
[email protected]




















