Honeywell MS3780 Fusion Omni Single Line Scanner

Product Information
The Fusion is a hand-held, omnidirectional bar code scanner with optional single-line scanning capabilities. It utilizes the powerful Metrologic QuantumE scan engine to provide an outstanding scan performance on all standard 1D barcode symbologies, including RSS. Designed for retail applications, the Fusion includes additional key product features like:
- Scanning range: Normal IR Activation Range and Reduced IR Activation Range
- Compatibility with various interfaces: OCIA and RS232 Transmit/Receive, IBM 46xx and Full RS232, RS232 Low Speed USB*, Keyboard Emulation Mode or USB Serial Emulation Mode, and Full Speed USB
- Compatibility with various cables and accessories like AC to DC Power Transformer, USB Full Speed Cable, USB Low Speed Communication Cable, RS232 PowerLink Cable with Built-in Power Jack, Keyboard Wedge PowerLink cable with Adapter Cable, Stand Alone Keyboard PowerLink Cable, and EAS Connection Wire
Product Usage Instructions
To use the Fusion bar code scanner, follow these instructions:
- Connect the scanner to your device using one of the compatible interfaces and cables mentioned in the product information section.
- Hold the scanner in your hand and aim it at the barcode to be scanned.
- The scanner will automatically read the barcode and transmit the data to your device.
- If you are using the optional single-line scanning capabilities, press the trigger button to activate it.
- If you need to adjust the scanning range, refer to the user manual for instructions on how to switch between Normal IR Activation Range and Reduced IR Activation Range.
If you have any issues or questions about using the Fusion bar code scanner, contact the dealer, distributor, or Metrologic’s customer service department at 1-800-436-3876 for assistance.
Copyright
© 2006 by Metrologic Instruments, Inc. All rights reserved. No part of this work may be reproduced, transmitted, or stored in any form or by any means without prior written consent, except by reviewer, who may quote brief passages in a review, or provided for in the Copyright Act of 1976. Products and brand names mentioned in this document are trademarks of their respective companies.
INTRODUCTION
The Fusion is a hand-held, omnidirectional bar code scanner with optional single-line scanning capabilities. It utilizes the powerful Metrologic QuantumE scan engine to provide an outstanding scan performance on all standard 1D barcode symbologies, including RSS. Designed for retail applications, the Fusion includes additional key product features like:
- Fully Automatic Scanning Operation
- Single-Line Mode for Menu Reading
- Custom Configurable Scan Pattern
- User-Replaceable Single-Cable Interface to Host (PowerLink Compatible)
- User Configurable Depth of Field
- Easy Bar Code Configuration
- Data Editing
- 7 Beeper Tones
- Flash – Upgradeable Firmware
- OPOS and JPOS System Compatible
- CodeGate®
- Sunrise 2005 Compliant
| SCANNER | INTERFACE |
| MS3780-9 | OCIA and RS232 Transmit/Receive |
| MS3780-11 | IBM 46xx and Full RS232 |
| MS3780-38 | RS232 Low Speed USB*, Keyboard Emulation Mode or USB Serial Emulation Mode |
| MS3780-40 | Full Speed USB |
| MS3780-41 | RS232/Light Pen Emulation |
| MS3780-47 | Keyboard Wedge, Stand-Alone Keyboard and RS232 Transmit/Receive |
| MS3780-48 | Stand Alone Keyboard and RS232 Transmit/Receive |
Configurable for Keyboard Emulation Mode or Serial Emulation Mode. The default setting is Keyboard Emulation Mode.
Scanner and Accessories
| BASIC KIT COMPONENTS | |
| Part No. | Description |
| MS3780 | Fusion Scanner |
| 00-02099 | MS3780 Installation and User’s Guide * |
| 00-02407 | MetroSelect® Configuration Guide * |
Guides also available for download at www.metrologic.com.
| OPTIONAL ACCESSORIES | |
| Part No. | Description |
| AC to DC Power Transformer – Regulated 5.2VDC @ 650 mA output. | |
| 45-45593 | 120V United States and Canada |
| 45-45591 | 220V-240V Continental European |
| 45-45592 | 220V-240V United Kingdom |
| 46-46803 | 250V Australia |
| 46-46983 | 250V China |
| The following cables are for Fusion models not equipped with EAS. | |
| 53-53000x-3 | RS232 PowerLink Cable with Built in Power Jack 2.7 m (9 ft.) coiled cord, long strain relief, black |
| 53-53002x-3 | Keyboard Wedge PowerLink cable with Adapter Cable 2.7 m (9 ft.) coiled cord, long strain relief, black |
| 53-53020x-3 | Stand Alone Keyboard PowerLink Cable 2.7 m (9 ft.) coiled cord, long strain relief, black |
| MVC-3MPC-IB9 | Metrologic Voltage Converter Cable, ±12VDC to +5.2VDC For IBM Applications |
| MVC-3MNC-N7052 | Metrologic Voltage Converter Cable, ±12VDC to +5.2VDC For OCIA Applications |
Other items may be ordered for the specific protocol being used. To order additional items, contact the dealer, distributor or call Metrologic’s customer service department at 1-800-436-3876.
| OPTIONAL ACCESSORIES | |
| Part No. | Description |
| 53-53213x-N-3 | USB Full Speed Cable, Locking Plus-Power™Type A 3 m (10 ft.) straight cord, short strain relief |
| 53-53214x-N-3 | USB Full Speed Cable, Locking Plus-Power™Type A 5 m (17 ft.) straight cord, short strain relief
|
| 53-53235x-N-3 | USB Low Speed Communication Cable, Type A (Non-Locking) Connector 2.8 m (9.2 ft.) straight cord, short strain relief |
| The following cables are for Fusion models equipped with EAS. | |
| 55-55000x-E-3 | RS232 PowerLink Cable with Built in Power Jack and EAS Connection Wire (1 ft.) 1.8 m (6 ft.), long strain relief, straight cable, black |
| 55-55006x-E-3 | IBM PowerLink Cable with Built in Power Jack and EAS Connection Wire (1 ft.) 1.8 m (6 ft.), long strain relief, straight, black |
| 46-00225 | Stand |
Scanner Components

| ITEM NO. | DESCRIPTION |
| 1 | Red Output Window, Laser Aperture (See page 40) |
| 2 | Mode Select Button (See page 13) |
| 3 | Beeper (See page 15) |
| 4 | Blue LED, Single-Line Mode / Menu Reading (See page 15) |
| 5 | White LED (See page 15) |
| 6 | Blue LED, All Scan Lines On / Omnidirectional Reading (See page 15) |
| 7 | Amber LED, CodeGate (See page 15) |
| 8 | CodeGate Button (See page 14) |
| 9 | Pin Hole for Cable Release (See page 6) |
| 10 | 10-Pin RJ45, Female Socket (See page 36) |


Maintenance
Smudges and dirt can interfere with the proper scanning of a bar code. Therefore, the output window will need occasional cleaning.
- Spray glass cleaner onto a lint free, non-abrasive cleaning cloth.
- Gently wipe the scanner window.
Cable Removal
Disconnect the power supply from the PowerLink cable and turn off power to the host system before removing the cable from the scanner.

- Locate the small ‘pin-hole’ beneath the Fusion logo on the front side of the scanner near the end of the handle.
- Bend an ordinary paperclip into the shape shown above.
- Insert the paperclip (or other small metallic pin) into the small ‘pin-hole’. There will be a faint ‘click’ when the connector’s lock releases.
- Pull gently on the cable’s strain-relief to remove the cable.
Cable Connection Warning
Important: If the PowerLink cable is not fully latched the unit can power intermittently.

INSTALLATION
RS232 or Light Pen

- Turn off the host device.
- Plug the male 10-pin RJ45 end of the PowerLink cable into the 10- pin socket on the MS3780.
- Connect the 9-pin female end of the PowerLink cable to the appropriate communication port on the host device.
- Plug the external power supply into the power jack on the PowerLink cable.
Check the AC input requirements of the power supply to make sure the voltage matches the AC outlet. The outlet must be located near the equipment and be easily accessible. - Connect AC power to the transformer.
- Turn on the host device.
- When the scanner first receives power the white LED will flash, one blue LED will turn on and the scanner will emit one beep.
- Plugging the scanner into the serial port of the PC does not guarantee that scanned information will appear at the PC. A software driver and correct configuration setting are also required for proper communication to occur.
- Caution
To maintain compliance with applicable standards, all circuits connected to the scanner must meet the requirements for SELV (Safety Extra Low Voltage) according to EN/IEC 60950. To maintain compliance with standard CSA C22.2 No. 60950/UL 60950 and norm EN/IEC 60950, the power source should meet applicable performance requirements for a limited power source.
IBM 46xx or OCIA

- Turn off the host device.
- Plug the male 10-pin RJ45 end of the MVC cable into the 10- pin socket on the MS3780.
- For IBM: Connect the other end of the MVC cable to Port 9 of the host device.
- For OCIA: Connect the other end of the MVC cable to the appropriate communication port on the host device.
- Turn on the host device.
IBM (above), OCIA (below)

- When the scanner first receives power the white LED will flash, one blue LED will turn on and the scanner will emit one beep.
- Plugging the scanner into the serial port of the PC does not guarantee that scanned information will appear at the PC. A software driver and correct configuration setting are also required for proper communication to occur.
- Caution:
To maintain compliance with applicable standards, all circuits connected to the scanner must meet the requirements for SELV (Safety Extra Low Voltage) according to EN/IEC 60950. To maintain compliance with standard CSA C22.2 No. 60950/UL 60950 and norm EN/IEC 60950, the power source should meet applicable performance requirements for a limited power source.
Keyboard Wedge

- Turn off the host device.
- Plug the male 10-pin RJ45 end of the PowerLink cable into the 10-pin socket on the MS3780.
- Disconnect the keyboard from the host device.
- Connect the “Y” end of the PowerLink cable to the keyboard and the keyboard port on the host PC. If necessary use the male/female adapter cable supplied with the scanner for proper connections.
- Plug the external power supply into the power jack on the PowerLink cable.
Check the AC input requirements of the power supply to make sure the voltage matches the AC outlet. The outlet must be located near the equipment and be easily accessible. - Connect AC power to the transformer.
- Turn on the host device.
- When the scanner first receives power the white LED will flash, one blue LED will turn on and the scanner will emit one beep.
- Powering the MS3780 directly from the host device can sometimes cause interference with the operation of the scanner or the computer. Not all computers supply the same current through the keyboard port. For this reason, Metrologic recommends using an external power supply. For additional information contact a Metrologic customer service representative.
- Caution:
To maintain compliance with applicable standards, all circuits connected to the scanner must meet the requirements for SELV (Safety Extra Low Voltage) according to EN/IEC 60950. To maintain compliance with standard CSA C22.2 No. 60950/UL 60950 and norm EN/IEC 60950, the power source should meet applicable performance requirements for a limited power source.
Stand-Alone Keyboard

- Turn off the host device.
- Plug the male 10-pin RJ45 end of the PowerLink cable into the 10- pin socket on the MS3780.
- Connect the other end of the PowerLink cable to the keyboard port on the host device.
- Plug the external power supply into the power jack on the PowerLink cable.
Check the AC input requirements of the power supply to make sure the voltage matches the AC outlet. The outlet must be located near the equipment and be easily accessible. - Connect AC power to the transformer.
- Turn on the host device.
- When the scanner first receives power the white LED will flash, one blue LED will turn on and the scanner will emit one beep.
- Powering the MS3780 directly from the host device can sometimes cause interference with the operation of the scanner or the computer. Not all computers supply the same current through the keyboard port. For this reason, Metrologic recommends using an external power supply. For additional information contact a Metrologic customer service representative.
- Caution:
To maintain compliance with applicable standards, all circuits connected to the scanner must meet the requirements for SELV (Safety Extra Low Voltage) according to EN/IEC 60950. To maintain compliance with standard CSA C22.2 No. 60950/UL 60950 and norm EN/IEC 60950, the power source should meet applicable performance requirements for a limited power source.
Full Speed or Low Speed USB (Integrated)

- Turn off the host device.
- Plug the male 10-pin RJ45 end of the USB PowerLink cable into the 10- pin socket on the MS3780.
- Plug the other end of the USB interface cable into the host device’s USB port.
- Turn on the host device.
- As a default, the MS3780-38 leaves the factory with USB Keyboard Emulation Mode enabled. For information on configuring the MS3780-38 for USB Serial Emulation Mode, please refer to the USB: Low Speed section of the MetroSelect Configuration Guide (MLPN 00-02407).
- When the scanner first receives power the white LED will flash, one blue LED will turn on and the scanner will emit one beep.
- Plugging the scanner into the USB port of the PC does not guarantee that scanned information will appear at the PC. A software driver and correct configuration setting are also required for proper communication to occur.
- Caution:
To maintain compliance with applicable standards, all circuits connected to the scanner must meet the requirements for SELV (Safety Extra Low Voltage) according to EN/IEC 60950. To maintain compliance with standard CSA C22.2 No. 60950/UL 60950 and norm EN/IEC 60950, the power source should meet applicable performance requirements for a limited power source.
EAS DEACTIVATION
SW1 and SW2 are the switch banks inside the CheckPoint Device that set the deactivation range. The following is a list of CheckPoint recommended switch bank settings.
CheckPoint Recommended Switch Bank Settings
SW1 & SW2 switches 1 and 6 set to ON All Fusion models equipped with EAS capabilities have an EAS designation in their model numbers. The cable supplied with these units will have additional wires for connection to the CheckPoint Device.

Figure 13 shows the location of the EAS deactivation area for Fusion. It is important to pass the entire tag through this area to deactivate the security tag.

SCANNER OPERATION
The Scan Pattern Mode Select Button
There are two configurable scan pattern modes available with the MS3780.
- The primary scan pattern mode is the default scan pattern active when the scanner starts. By default, the primary scan pattern is set to all-scan-lines for omnidirectional reading.
- Pressing the scan pattern mode button (see figure below) activates the secondary scan pattern mode. By default, the secondary scan pattern is set to single-line mode for menu reading.
Please refer to the MetroSelect Configuration Guide for information on changing the default scan pattern settings.
To Change Scan Pattern Modes
- To activate the secondary scan pattern, press and release the mode select button
Press and Release the Mode Select Button
Pattern Mode LED Switches to New Active Pattern
Activating a pattern mode when the scanner is out of its stand does not change the in-stand pattern mode. When the scanner is returned to the stand it will automatically revert to the most recent scan pattern selected during in-stand operation - To re-activate the primary scan pattern, press and release the mode select button again
How to Use CodeGate and the Manual Activation Mode
For illustration purposes the unit’s scan pattern has been set to single-line (menu reading) mode.
CODEGATE
- Auto trigger (IR) activates the laser.

- Place the laser line on the bar code.

- Press the button to transmit the data.

MANUAL ACTIVATION MODE
- Aim the scanner at the bar code.

- Press and hold the button down to scan and transmit the bar code.

This feature is not a default setting. Refer to the MetroSelect Configuration Guide for instructions on enabling the Manual Activation Mode.
Factory Defaults: In-Stand, CodeGate is not active (Amber LED is On) Out-of-Stand, CodeGate is active (Amber LED is Off) For information on how to change the factory defaults, refer to the MetroSelect Configuration Guide (00-02407).
Audible Indicators
When the MS3780 is in operation, it can provide audible feedback. These sounds indicate the status of the scanner. Eight settings are available for the tone of the beep (normal, 6 alternate tones and no tone). For instruction on how to change the tone of the beeper, refer to the MetroSelect Configuration Guide (00-02407).
One Beep![]()
When the scanner first receives power; the white LED will flash, one blue LED will turn on and the scanner will emit a beep (the white LED will remain on for the duration of the beep). The scanner is now ready to scan. When the scanner successfully reads a bar code, the white LED will flash and the scanner will emit one beep (if configured to do so). If the scanner does not emit one beep and the white light does not flash, then the bar code has not been successfully read.
Razzberry Tone![]()
This is a failure indicator. Refer to Failure Mode Indicators on page 17.
Three Beeps – during operation![]()
When placing the scanner in configuration mode, the white and blue LEDs will flash while the scanner emits three beeps. The white and blue LEDs will continue to flash until the unit exits the configuration mode. Upon exiting the configuration mode, the scanner will emit three beeps and the white LED will stop flashing. When configured, 3 beeps can also indicate a communications timeout during normal scanning mode. When using one-code-programming, the scanner will emit three beeps: the current selected tone, followed by a short pause then a high tone and a low tone. This tells the user that the single code configuration has successfully configured the scanner
Three Beeps – on power up![]()
This is a failure indicator. Refer to Failure Mode Indicators on page 17.
Visual Indicators
There are four LEDs located on the top of the MS3780. When the scanner is on, the flashing or constant illumination of the LEDs indicates the status of the current scan and the scanner.

No LEDs
The LEDs will not be illuminated if the scanner is not receiving power from the host or transformer. They are also not illuminated when all lasers are turned off for any reason.
Steady Blue Single-Line LED
Indicates the laser is active and the scanner is in Single-Line Mode. The blue LED will remain illuminated until the laser is deactivated.
Steady Blue Omni LED
Indicates the laser is active and the scanner is in the Omnidirectionsl Mode. The blue LED will remain illuminated until the laser is deactivated.
Steady Blue Single-Line or Omni LED and a Single White LED Flash
When the scanner successfully reads a bar code, the white LED will flash and the scanner will beep once. If the white LED does not flash or the scanner does not beep, then the bar code has not been successfully read.
Steady White and Blue Single-Line or Omni LED
After a successful scan, the scanner transmits the data to the host device. Some communication modes require that the host inform the scanner when data is ready to be received. If the host is not ready to accept the information, the scanner’s white LED will remain on until the data can be transmitted.
Alternate Flashing of Both Blue LEDs and the White LED
This indicates the scanner is in program mode. A razzberry tone indicates that an invalid bar code has been scanned in this mode.
Steady Amber LED
Indicates that CodeGate is not active (in-stand default).
Failure Mode Indicators
Both Blue LEDs Flashing with One Emitted Razzberry Tone
This indicates that the scanner has experienced a laser subsystem failure. Return the unit to a Metrologic authorized service center for repair.
Both Blue LEDs and the White LED are Flashing with Two Emitted Razzberry Tones
This indicates that the scanner has experienced a motor failure. Return the unit to a Metrologic authorized service center for repair.
Continuous Razzberry Tone with Both LEDs Off – On Power Up
A continuous razzberry tone upon power up indicates there has been an electronic failure. Return the unit to a Metrologic authorized service center for repair.
Three Beeps – On Power Up
This indicates that the nonvolatile memory that holds the scanner configuration has failed. Return the unit to a Metrologic authorized service center for repair.
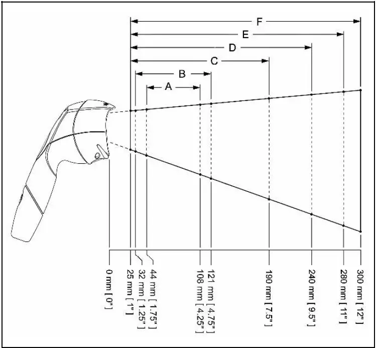
Depth of Field Specifications
Normal Scan Zone
Specifications are based on a 0.33 mm (13 mil) bar code.
Reduced Scan Zone
Specifications are based on a 0.33 mm (13 mil) bar code.

All specifications are subject to change without notice.
Depth of Field by Bar Code Element Width
Normal Scan Zone

| MINIMUM BAR CODE ELEMENT WIDTH | ||||||
| A | B | C | D | E | F | |
| mm | .13 | .15 | .19 | .25 | .33 | .66 |
| mils | 5.2 | 5.7 | 7.5 | 10 | 13 | 26 |
Depth of Field by Bar Code Element Width
Reduced Scan Zone

| MINIMUM BAR CODE ELEMENT WIDTH | ||||||
| A | B | C | D | E | F | |
| mm | .13 | .15 | .19 | .25 | .33 | .66 |
| mils | 5.2 | 5.7 | 7.5 | 10 | 13 | 26 |
IR Activation Range
Normal

Reduced

TROUBLESHOOTING GUIDE
The following guide is for reference purposes only. Contact a Metrologic representative at 1-800-ID-METRO or 1-800-436-3876 to preserve the limited warranty terms on page 42.
| Symptoms | Possible Cause(s) | Solution |
| All Interfaces | ||
| The unit has no LEDs, beeper or motor spin. | No power is being supplied to the scanner. | Check the transformer, outlet and power strip. Make sure the cable is plugged into the scanner. |
| The unit has no LEDs and / or beeper. | No power is being supplied to the scanner from host. | Some host systems cannot supply enough current to power the MS3780. Use the power supply included with the scanner. |
| There are multiple scans upon presentation of code. | The same symbol timeout is set too short. | Adjust the same symbol timeout for a longer time increment. |
| The unit powers up but does not beep. | The beeper is disabled. | Enable the beeper. |
| No tone is selected. | Select a tone. | |
|
The unit powers up but does not scan and/or beep. | The unit is trying to scan a particular symbology that is not enabled. | UPC/EAN, Code 39, Interleaved 2 of 5, Code 93, Code 128 and Codabar are enabled by default. Verify that the type of bar code being read has been selected |
| The scanner has been configured for a character length lock, or a minimum length and bar code being scanned does not satisfy the configured criteria. | Verify that the bar code that is being scanned falls into the criteria.
Typical of Non-UPC/EAN codes. The scanner defaults to a minimum of 4 character bar code. | |
| Symptoms | Possible Cause(s) | Solution |
| All Interfaces | ||
| The unit scans a bar code, but locks up after the first scan (the white LED stays on). | The scanner is configured to support some form of host handshaking but is not receiving the signal. | If the scanner is setup to support ACK/NAK, RTS/CTS, XON/XOFF or D/E, verify that the host cable and host are supporting the handshaking properly. |
| The unit scans but the data transmitted to the host is incorrect. | The scanner’s data format does not match the host system requirements. | Verify that the scanner’s data format matches the format required by the host. Make sure that the scanner is connected to the proper host port. |
|
Scanner beeps at some bar codes and NOT for others of the same bar code symbology. | The print quality of the bar code is suspect. | The type of printer and/or the printer settings could be the problem.
Check the print mode or change the printer settings. For example, change to econo mode or high speed. |
| The aspect ratio of the bar code is out of tolerance. | ||
| The bar code may have been printed incorrectly. | Check if it is a check digit, character or border problem. | |
| The scanner is not configured correctly for the type of bar code. | Check if check digits are set properly. | |
| The minimum symbol length setting does not work with the bar code. | Check if the correct minimum symbol length is set. | |
| Symptoms | Possible Cause(s) | Solution |
| All Interfaces | ||
| During power up the unit beeps 3 times. | There is a non-volatile RAM failure. | Contact a Metrologic service representative. |
| During power up the unit razzes continuously. | There is a RAM or ROM failure. | Contact a Metrologic service representative. |
| During power up the unit razzes once and the blue LED flashes. |
There is a VLD failure. |
Contact a Metrologic service representative. |
| During power up the unit razzes twice and both LEDs flash. |
There is a scanner motor failure. |
Contact a Metrologic service representative. |
| RS232 Only | ||
|
The unit powers up OK and scans OK but does not communicate properly to the host. | The com port at the host is not working or is not configured properly. |
Check to make sure that the baud rate and parity of the scanner and the communication port match and that the program is looking for RS232 data. |
| The cable is not connected to the proper com port. | ||
| The com port is not operating properly. | ||
| Symptoms | Possible Cause(s) | Solution |
| RS232 Only | ||
| The host is receiving data but the data does not look correct. | The scanner and host may not be configured for the same interface. | Check that the scanner and the host are configured for the same interface. |
| Characters are being dropped. | The intercharacter delay needs to be added to the transmitted output. | Add some intercharacter delay to the transmitted output by using the MetroSelect Configuration Guide (MLPN 00-02407). |
| Keyboard Wedge Only | ||
| The unit scans the bar code but there is no data. | The unit may not be configured correctly. | Make sure the scanner is configured for the appropriate mode. |
|
The unit scans but the data is not correct. |
The unit may not be configured correctly. | Make sure that the proper PC type (ie. AT, PS2 or XT) is selected. |
| Verify correct country code and data formatting are selected. | ||
| Adjust the intercharacter delay. | ||
| The unit is not transmitting each character. | The unit may not be configured correctly. | Increase the interscan code delay setting. Adjust whether the F0 break is transmitted. It may be necessary to try both settings. |
| Alpha characters show as lower case. | The computer is in caps lock mode. | Enable caps lock detect setting of the scanner to detect whether the PC is operating in caps lock. |
| Everything works except for a couple of characters. | These characters may not be supported by the current country’s key look up table. | Try operating the scanner in Alt Mode. |
DESIGN SPECIFICATIONS
| Operational | |||
| Light Source: | Visible Laser Diode (VLD) @ 650 nm | ||
| Laser Power: | 1.1 mW (Peak) | ||
| Normal Depth of Field: | 25 mm – 280 mm (1”- 11”) | 0.33 mm (13 mil) bar code | |
| Reduced Depth of Field: | 25 mm – 150 mm (1”- 6”) | ||
| Omni Scan | |||
| Scan Speed: | 1333 scan lines per second | ||
| No. of Scan Lines: | 20 | ||
| Single-Line | |||
| Scan Speed: | 67 scan lines per second | ||
| No. of Scan Lines: | 1 | ||
| Motor Speed: | 4000 RPM | ||
| Min Bar Width: | 0.127 mm (5.0 mil) | ||
| Decode Capability: | All standard 1-D bar codes including RSS-14, RSS-Expanded, and RSS-14 Limited | ||
| System Interfaces: | RS232, Keyboard Wedge, Stand-Alone Keyboard, Light Pen Emulation, IBM468x/469x, USB (low speed and full speed), OCIA | ||
| Print Contrast: | 35% minimum reflectance difference | ||
| No. Characters Read: | Up to 80 data characters Maximum number will vary based on symbology and density. | ||
| Beeper Operation: | 7 tones or no beep | ||
| Indicators (LED): | Blue = laser on, ready to scan | ||
| White = good read, decoding | |||
| Termination: | 10 position modular RJ45 connector | ||
| Cable: | Application Dependent | ||
| Mechanical | |||
| Scanner Length: | 189 mm (7.44”) | ||
| Scanner Width: | 65 mm (2.56”) | ||
| Scanner Height: | 73 mm (2.88”) | ||
| Scanner Weight: | 195 g (6.9 oz.) | ||
| MS3780 | |
| Electrical | |
| Voltage Supply: | 5VDC ± 0.25V |
| Operating Power: | 1.375 W |
| Standby Power: | 1.0 W |
| Operating Current: | 275 mA typical at 5VDC |
| Standby Current: | 200 mA typical at 5VDC |
| DC Transformers: | Class II; 5.2VDC @ 650 mA |
| Laser Class 1: | IEC 60825-1:1993+A1:1997+A2:2001 EN 60825-1:1994+A11:1996+A2:2001 |
| EMC: | FCC, ICES-003 & EN 55022 Class A |
| Environmental | |
| Operating Temperature: | -20°C to 40°C (-4°F to 104°F) |
| Storage Temperature: | -40°C to 60°C (-40°F to 140°F) |
| Humidity: | 5% to 95% relative humidity, non-condensing |
| Contaminants: | Sealed to resist airborne particulate contaminants |
| Ventilation: | None required |
| Shock: | Withstands multiple drops from 1.5 meters |
APPLICATIONS AND PROTOCOLS
The model number on each scanner includes the scanner number and factory default communications protocol.
| SCANNER | VERSION IDENTIFIER | INTERFACE |
|
MS3780 | 9 | OCIA and RS232 Transmit/Receive |
| 11 | IBM 46xx and Full RS232 | |
| 38 | RS232 Low Speed USB*, Keyboard Emulation or USB Serial Emulation Mode | |
| 40 | Full Speed USB | |
| 41 | RS232/Light Pen Emulation | |
| 47 | Keyboard Wedge, Stand-Alone Keyboard and RS232 Transmit/Receive | |
| 48 | Stand Alone Keyboard and RS232 Transmit/Receive |
The MS3780 scanner with Built-in PC Keyboard Wedge Interface is designed to be used for keyboard emulation only. Many RS232 configurable functions (e.g. formatting) available in other Metrologic scanners are also available as keyboard wedge functions. The following are the most important selectable options specific to the keyboard wedge.
Keyboard Type
- AT (includes IBM® PS2 models 50, 55, 60, 80)
- XT
- IBM PS2 (includes models 30, 70, 8556)
Keyboard Country Type
- USA **
- Belgium
- French
- German
- Italian
- Japan
- Spanish
- Swiss
- United Kingdom
Default setting. For a complete list of default settings, see Default Settings – Communication Parameters starting on page 30 of this guide. Refer to the MetroSelect® Configuration Guide (MLPN 00-02407) or MetroSet2’s help files for information on how to change the default settings.
DEFAULT SETTINGS – COMMUNICATION PARAMETERS
Many functions of the scanner can be “configured” – that is enabled or disabled. The scanner is shipped from the factory configured to a set of default conditions. The default parameter of the scanner has an asterisk ( * ) in the charts on the following pages. If an asterisk is not in the default column then the default setting is off or disabled. Every interface does not support every parameter. If the interface supports a parameter listed in the charts on the following pages, a check mark will appear in the column for that interface.








UPGRADING THE FLASH ROM FIRMWARE
The MetroSet2 program is a functional component of Metrologic’s new line of Flash- based scanners. This program allows the user of a Metrologic scanner to quickly upgrade to a new or custom version of firmware. It requires the use of a personal computer running Windows® 95 or greater and the use of a serial port. The user merely connects the scanner to a serial port on the PC, launches the MetroSet2 program, and blasts off to new software upgrades. Each MS3780, regardless of the version number or communication protocol, can be upgraded. In other words, all RS232 (-41), keyboard wedge (-47), light pen (-41), OCIA (-9), IBM 468X/469X (-11), low speed USB (-38), and integrated full speed USB (-40) units can be upgraded.
To upgrade all units, a power supply and PowerLink cable (MLPN 54-54014) are required. RS232 units can be upgraded using the standard PowerLink cable (MLPN 53-53xxx-3). The program guides the user with its simplistic one click approach. The user must first select the file. Once the file is selected and verified, the scanner is ready to be upgraded. Press the “Flash Scanner” button to upgrade the scanner. The unit will go into a “flash mode” – both the blue and white LEDs will be on. The user can follow the progress of the upgrade by watching the screen for details. When the upgrade is complete, the scanner will respond with its normal one beep on power up. If two beeps occur, the scanner did not upgrade properly. Contact a Metrologic service representative for additional assistance.
Scanner Pinout Connections
The MS3780 scanner interfaces terminate to a 10-pin modular socket. The serial # label indicates the interface enabled when the scanner is shipped from the factory.

| Keyboard Wedge and Stand-Alone Keyboard MS3780-47 | |
| Pin | Function |
| 1 | Ground |
| 2 | RS232 Transmit Output |
| 3 | RS232 Receive Input |
| 4 | PC Data |
| 5 | PC Clock |
| 6 | KB Clock |
| 7 | PC +5V |
| 8 | KB Data |
| 9 | +5VDC |
| 10 | Shield Ground |
| MS3780-40 Full Speed USB | |
| Pin | Function |
| 1 | Ground/USB- |
| 2 | RS232 Transmit Output |
| 3 | RS232 Receive Input |
| 4 | RTS Output |
| 5 | CTS Input |
| 6 | D+ |
| 7 | USB +V |
| 8 | D- |
| 9 | +5VDC |
| 10 | Shield Ground |
| RS232 and Light Pen Emulation MS3780-41 | |
| Pin | Function |
| 1 | Ground |
| 2 | RS232 Transmit Output |
| 3 | RS232 Receive Input |
| 4 | RTS Output |
| 5 | CTS Input |
| 6 | DTR Input/LTPN Source |
| 7 | Reserved |
| 8 | LTPN Data |
| 9 | +5VDC |
| 10 | Shield Ground |
| RS232 Low Speed USB MS3780–38 | |
| Pin | Function |
| 1 | Ground/USB- |
| 2 | RS232 Transmit Output |
| 3 | RS232 Receive Input |
| 4 | RTS Output |
| 5 | CTS Input |
| 6 | D+ |
| 7 | USB +V |
| 8 | D- |
| 9 | +5VDC |
| 10 | Shield Ground |

| MS3780-11 IBM 468X/469X | |
| Pin | Function |
| 1 | Ground |
| 2 | RS232 Transmit Output |
| 3 | RS232 Receive Input |
| 4 | RTS Output |
| 5 | CTS Input |
| 6 | DTR Input |
| 7 | IBM B-Transmit |
| 8 | IBM A+ Receive |
| 9 | +5VDC |
| 10 | Shield Ground |
| MS3780-9 OCIA | |
| Pin | Function |
| 1 | Ground |
| 2 | RS232 Transmit Output |
| 3 | RS232 Receive Input |
| 4 | RDATA |
| 5 | RDATA Return |
| 6 | Clock In |
| 7 | Clock Out |
| 8 | Clock in Return/ Clock out Rtrn |
| 9 | +5VDC |
| 10 | Shield Ground |
Cable Connector Configurations (Host End)

Metrologic will supply an adapter cable with a 5-pin DIN male connector on one end and a 6-pin mini DIN female connector on the other. According to the termination required, connect the appropriate end of the adapter cable to the PowerLink cable, leaving the necessary termination exposed for connecting to the keyboard and the keyboard port on the PC.

LASER AND PRODUCT SAFETY
Caution
Use of controls or adjustments or performance of procedures other than those specified herein may result in hazardous laser light exposure. Under no circumstances should the customer attempt to service the laser scanner. Never attempt to look at the laser beam, even if the scanner appears to be nonfunctional. Never open the scanner in an attempt to look into the device. Doing so could result in hazardous laser light exposure. The use of optical instruments with the laser equipment will increase eye hazard.
Notices
This equipment has been tested and found to comply with limits for a Class A digital device, pursuant to part 15 of the FCC Rules. These limits are designed to provide reasonable protection against harmful interference when the equipment is operated in a commercial environment. This equipment generates, uses and can radiate radio frequency energy and, if not installed and used in accordance with the instruction manual, may cause harmful interference to radio communications. Operation of this equipment in a residential area is likely to cause harmful interference, in which case the user will be required to correct the interference at their own expense. Any unauthorized changes or modifications to this equipment could void the user’s authority to operate this device. This device complies with part 15 of the FCC Rules. Operation is subject to the following two conditions: (1) This device may not cause harmful interference, and (2) this device must accept any interference received, including interference that may cause undesired operation.
Warning
This is a class A product. In a domestic environment this product may cause radio interference in which case the user may be required to take adequate measures.
Cable Connector Configurations (Host End)


LIMITED WARRANTY
The MS3780 Fusion™ scanners are manufactured by Metrologic at its Blackwood, New Jersey, U.S.A. facility. The MS3780 Fusion scanners have a five (5) year limited warranty from the date of manufacture. Metrologic warrants and represents that all MS3780 Fusion scanners are free of all defects in material, workmanship and design, and have been produced and labeled in compliance with all applicable U.S. Federal, state and local laws, regulations and ordinances pertaining to their production and labeling.
This warranty is limited to repair, replacement of product or refund of product price at the sole discretion of Metrologic. Faulty equipment must be returned to one of the following Metrologic repair facilities: Blackwood, New Jersey, USA; Madrid, Spain; or Suzhou, China. To do this, contact the appropriate Metrologic Customer Service/Repair Department to obtain a Returned Material Authorization (RMA) number.
In the event that it is determined the equipment failure is covered under this warranty, Metrologic shall, at its sole option, repair the Product or replace the Product with a functionally equivalent unit and return such repaired or replaced Product without charge for service or return freight, whether distributor, dealer/reseller, or retail consumer, or refund an amount equal to the original purchase price. This limited warranty does not extend to any Product which, in the sole judgment of Metrologic, has been subjected to abuse, misuse, neglect, improper installation, or accident, nor any damage due to use or misuse produced from integration of the Product into any mechanical, electrical or computer system. The warranty is void if the case of Product is opened by anyone other than Metrologic’s repair department or authorized repair centers.
THIS LIMITED WARRANTY, EXCEPT AS TO TITLE, IS IN LIEU OF ALL OTHER WARRANTIES OR GUARANTEES, EITHER EXPRESS OR IMPLIED, AND SPECIFICALLY EXCLUDES, WITHOUT LIMITATION, WARRANTIES OF MERCHANTABILITY AND FITNESS FOR A PARTICULAR PURPOSE UNDER THE UNIFORM COMMERCIAL CODE, OR ARISING OUT OF CUSTOM OR CONDUCT. THE RIGHTS AND REMEDIES PROVIDED HEREIN ARE EXCLUSIVE AND IN LIEU OF ANY OTHER RIGHTS OR REMEDIES. IN NO EVENT SHALL METROLOGIC BE LIABLE FOR ANY INDIRECT OR CONSEQUENTIAL DAMAGES, INCIDENTAL DAMAGES, DAMAGES TO PERSON OR PROPERTY, OR EFFECT ON BUSINESS OR PROPERTY, OR OTHER DAMAGES OR EXPENSES DUE DIRECTLY OR INDIRECTLY TO THE PRODUCT, EXCEPT AS STATED IN THIS WARRANTY. IN NO EVENT SHALL ANY LIABILITY OF METROLOGIC EXCEED THE ACTUAL AMOUNT PAID TO METROLOGIC FOR THE PRODUCT. METROLOGIC RESERVES THE RIGHT TO MAKE ANY CHANGES TO THE PRODUCT DESCRIBED HEREIN.
WORLDWIDE HEADQUARTERS, Metrologic Instruments, Inc. 90 Coles Rd. Blackwood, NJ 08012-4683
- Tel: 856-228-8100
- Fax: 856-228-6673
- Email: [email protected]
MTLG AUTO ID INSTRUMENTS (SHANGHAI) CO., LTD Suzhou Sales Office BLK A, Room# 03/03-04 No.5 Xinghan Street, Xinsu Industrial Square China-Singapore Suahou Industrial Park, Suzhou, PRC
- Tel: 86-512-67622550
- Fax: 86-512-67622560
- Email: [email protected]
METROLOGIC EUROPEAN REPAIR CENTER (MERC) Metrologic Eria Ibérica, SL Julian Camarillo 29, D-1 28037 Madrid
- Tel: +34 913 272 400
- Fax: +34 913 273 829
- Email: [email protected]
PATENTS
Patent Information
This METROLOGIC product may be covered by one or more of the following U.S. Patents:
U.S. Patent No.;
5,216,232; 5,260,553; 5,340,971; 5,340,973; 5,424,525; 5,468,951; 5,484,992; 5,525,789; 5,528,024; 5,557,093; 5,591,953; 5,616,908; 5,627,359; 5,637,852; 5,661,292; 5,767,501; 5,777,315; 5,789,730; 5,789,731; 5,796,091; 5,811,780; 5,825,012; 5,828,048; 5,844,227; 5,883,375; 5,886,337; 5,895,907; 5,925,870; 5,925,871; 5,939,698; 5,942,743; 6,029,894; 6,098,885; 6,182,898; 6,189,793; 6,286,760; 6,299,067; 6,347,743; 6,412,696; 6,460,767; 6,604,684; 6,856,572; 6,905,071; 6,209,789; 6,860,427
No license right or sublicense is granted, either expressly or by implication, estoppel, or otherwise, under any METROLOGIC or third party intellectual property rights (whether or not such third party rights are licensed to METROLOGIC), including any third party patent listed above, except for an implied license only for the normal intended use of the specific equipment, circuits, and devices represented by or contained in the METROLOGIC products that are physically transferred to the user, and only to the extent of METROLOGIC’S license rights and subject to any conditions, covenants and restrictions therein. Other worldwide patents pending.

Activating a pattern mode when the scanner is out of its stand does not change the in-stand pattern mode. When the scanner is returned to the stand it will automatically revert to the most recent scan pattern selected during in-stand operation























