ENFORCER PR-B1124-PQ Bluetooth Proximity Card Reader User Manual

What’s in the Box:
1x PR-B1124-PQ ENFORCER Bluetooth® Proximity Reader
- 10x Proximity cards
- 4x Mounting screws
- 4x Plastic wall anchors
- 12x Wire crimps
- 1x Diode
- 1x Visitor
- 1x Security screw bit
- 1x Quick Installation/Setup Guide
- 1x Additional Information
Specifications:

Sample Wiring Diagram:

IMPORTANT NOTES:
*Because the keypad uses a solid-state relay, you must install the enclosed diode–with the cathode (striped end
) toward the positive side–for DC powered locks and install the varistor (MOV,
) for AC powered locks and for electromagnetic locks unless your lock has a diode/MOV built in. Failure to use these as directed will void the warranty.
Use the blue wire for fail-secure applications and the yellow wire for fail-safe applications. Use electrical tape to insulate the end of any unused wire.
ENFORCER Bluetooth® Single-Gang Keypad with Reader
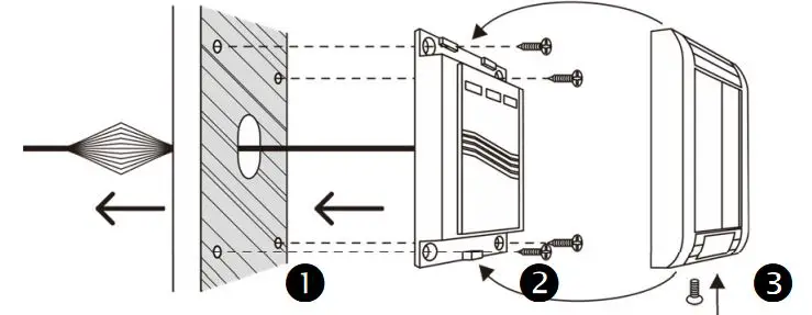
Installation and Mounting:


- Feed Wires into Wall Connect wires and push through the hole in the wall, taking care not to loosen any connectors.
- Mount Device to Wall Mount the device to the wall using the supplied screws and wall anchors or other screws.
- Mount Cover on Device Slide the cover to engage the tab on the top of the device, and secure with the security screw.
The Bluetooth® word mark and logos are registered trademarks owned by Bluetooth SIG, Inc. and any use of such marks by SECO-LARM is under license. Other trademarks and trade names are those of their respective owners.
California Proposition 65 Warning: These products may contain chemicals which are known to the State of California to cause cancer and birth defects or other reproductive harm. For more information, go to www.P65Warnings.ca.gov.
IMPORTANT WARNING: For a weather-resistant installation, ensure that the housing back is installed tightly against the wall and properly sealed. Incorrect mounting may lead to exposure to rain or moisture in the enclosure which could cause a dangerous electric shock, damage the device, and void the warranty. Users and installers are responsible for ensuring that this product is properly installed and sealed.
IMPORTANT: Users and installers of this product are responsible for ensuring that the installation and configuration of this product complies with all national, state, and local laws and codes related to locking and egress devices. SECO-LARM will not be held responsible for the use of this product in violation of any current laws or codes.
FCC/IC COMPLIANCE STATEMENT FOR BLUETOOTH MODULE
FCC ID: K7TRB8762
IC ID: 2377ARB8762
THIS DEVICE COMPLIES WITH PART 15 OF THE FCC RULES. OPERATION IS SUBJECT TO THE FOLLOWING TWO CONDITIONS: (1) THIS DEVICE MAY NOT CAUSE HARMFUL INTERFERENCE AND (2) THIS DEVICE MUST ACCEPT ANY INTERFERENCE RECEIVED, INCLUDING INTERFERENCE THAT MAY CAUSE UNDESIRED OPERATION.
Notice: The changes or modifications not expressly approved by the party responsible for compliance could void the user’s authority to operate the equipment. IMPORTANT NOTE: To comply with the FCC RF exposure compliance requirements, no change to the antenna or the device is permitted. Any change to the antenna or the device could result in the device exceeding the RF exposure requirements and void user’s authority to operate the device.
This device complies with Industry Canada licence-exempt RSS standard(s). Operation is subject to the following two conditions: (1) this device may not cause interference, and (2) this device must accept any interference, including interference that may cause undesired operation of the device.
WARRANTY: This SECO-LARM product is warranted against defects in material and workmanship while used in normal service for one (1) year from the date of sale to the original customer. SECO-LARM’s obligation is limited to the repair or replacement of any defective part if the unit is returned, transportation prepaid, to SECO-LARM. This Warranty is void if damage is caused by or attributed to acts of God, physical or electrical misuse or abuse, neglect, repair or alteration, improper or abnormal usage, or faulty installation, or if for any other reason SECO-LARM determines that such equipment is not operating properly as a result of causes other than defects in material and workmanship. The sole obligation of SECO-LARM and the purchaser’s exclusive remedy, shall be limited to the replacement or repair only, at SECO-LARM’s option. In no event shall SECO-LARM be liable for any special, collateral, incidental, or consequential personal or property damage of any kind to the purchaser or anyone else.
NOTICE: The SECO-LARM policy is one of continual development and improvement. For that reason, SECO-LARM reserves the right to change specifications without notice. SECO-LARM is also not responsible for misprints. All trademarks are the property of SECO–LARM U.S.A., Inc. or their respective owners. Copyright © 2021 SECO-LARM U.S.A., Inc. All rights reserved.
SECO-LARM® U.S.A., Inc.
16842 Millikan Avenue, Irvine, CA 92606
Website: www.seco-larm.com
Phone: (949) 261-2999 | (800) 662-0800
Email: [email protected]
MA_PR-B1124-PQ_210818.docx
SECO-LARM U.S.A., Inc.



















