

Quick Installation Guide
Nucleus Connect Hub Plus
DNH-200

Additional documentation is also available on the D-Link website
Package Contents
This DNH-200 package includes the following items:
- DNH-200 Nuclias Connect Hub Plus
- Power adapter
- Rack Mount Kit
- Ethernet cable
- Documentation
If any of the above items are damaged or missing, please contact your local D-Link reseller.
System Requirements
- Computers with Windows®, Macintosh®, or Linux-based operating systems
- Browser support for H.264 video stream Microsoft Edge/Chrome/Safari/Firefox
- Browser support for H.265 video stream Microsoft Edge/Safari
Hardware Overview
LED Indicators
| # | LED | Status | Color and Behavior |
| 1 | Power LED | Power on | Green: solid |
| System booting | 1.Green : blinking when device is booting (Normal Speed)* 2.Red : solid red when device is boot fail | ||
| System Ready | Green: solid | ||
| Firmware Update | Red and Green: blinking in sequence (Normal Speed)* | ||
| Recovery mode | Red: blinking (Normal Speed)* | ||
| Uplink and IP provision | Orange: blinking (Normal Speed)* The uplink is not established or broken. During IP provisioning or a failure of IP provisioning | ||
| Power Off | Light off | ||
| 2 | HD LED | While connect to HDD | Green: solid |
| While HDD Read/Write | Green: blinking (Normal Speed)* | ||
| HDD power off | Light off | ||
| Hard Drive Fail | Red: solid | ||
| 3 | SSO LED | Connect to Nuclias Server | 1.Light Off: when device does not connect to Nuclias server with an SSO account 2.Blue: solid, when device connect to Nuclias server with an SSO account |
* Normal speed = 1 second On, 1 second Off
Table 1: LED Description
Interface Connectors

# | Connector | Description |
| Console Port | RJ-45 port to connect the RJ-45 console cable for CLI management. | |
| 2 | Ethernet Port | Gigabit RJ-45 port for LAN connection. |
| 3 | USB Port | USB 2.0 supports a flash drive for video export and configuration backup. |
| 4 | Reset | Device Reboot Press the Reset button once to reboot the device Reset to Factory Default Hold the Reset button for 5 seconds, then all LEDs will light on at the same time. After 1 second, all the LEDs will light off then the device will reboot and back to factory default Recovery Press and hold the Reset button and then turn on the power of the device. It will enter Recovery Mode for a firmware recovery process |
Table 2: Interface Description
Configuration
Note: D-Link recommends manually configure the device before mounting it. The management computer, DHCP server and DNH-200 must be in the same network.
Connecting through Ethernet
You need the following equipment to access the web interface of your device:
- A PC with an RJ-45 Ethernet connection
- An Ethernet cable
- A power adapter
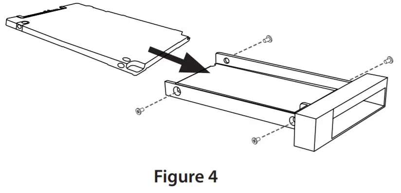
- Pull out the hard disk tray from the DNH-200 device.

Figure 3
- Insert a 2.5-inch hard disk into the tray and secure the HDD with the supplied screws.

- Reinsert the tray back into the device.

- Connect the adapter to the power input on the DNH-200, then plug the adapter into a nearby power outlet.
- Use an Ethernet cable to connect a DNH-200 and a switch or router that the management computer is connected to.
- Manage the device from a computer. Enter https://DNH-200-XXXX.local* in the address field of your browser. *Where XXXX is the last four digits or letters of your device’s MAC ID. You can find the MAC ID printed on the label at the bottom of your device.
- Log in to the device’s administration interface. The default username is “admin” and the password is “admin”.

- Configure the device via its web interface after login is successful.
Connecting through a Console Connection
Use a console cable to connect to the device’s console port. This cable is an RS-232 serial to RJ-45 connector cable designed to use with this device. A terminal emulation program is required to connect to the console port on the device.
- Connect the RS-232 serial interface to the serial port of the management PC.
- Connect the RJ-45 interface to the console port of the device.
- Open a terminal emulation program on the management PC and configure the properties of the connection as follows:
• The speed (baud): 115200 bps
• The data bits: 8
• The parity: None
• The stop bits: 1
• The flow control should be None.4. Connect to the device and the Limited Command Line Interface (CLI) should be available.
Installation
Mounting on a Solid Wall or Ceiling
The DNH-200 can be mounted on a solid wall or in an EIA standard-size 19-inch rack, which can be placed in a wiring closet with other equipment. You can either hang the unit on the wall by using the wall mount keyholes on the rear of the unit or by using the supplied mounting bracket.
The following procedure explains how to use the keyholes.
- Use the wall mount template to mark the screw mounting positions on the wall.
- Drill the 2 supplied wall anchors into the wall at the marked positions and screw the 2 supplied screws into them. Make sure they stand out ~6.7mm.
- Hang the device on the wall by aligning the keyholes with the mounted screws.

*Before hanging the device on the wall or ceiling, please secure the HDD tray with the provided screw and make sure the tray opening is facing upwards to prevent it from falling out accidentally.
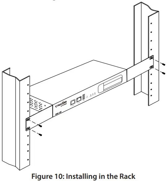
Mounting in an EIA standard-size 19-inch rack
- Attach the L-shaped mounting brackets to each side of the chassis as shown in Figure 9 and secure them with the screws provided.

- Mount the device in the rack using a screwdriver and the supplied rack mounting screws.

Connecting Power
The power adapter² is shipped with the device.
Connect the power connector of the adapter to the power input on the DNH-200 back the panel, and plug the adapter into a nearby AC power source.
¹User can find a mounting kit in the package. The screw diameter is 1.8mm±0.15 and its length is 16mm±0.7. The direction of the power plug can be placed on an upside or downside for the user’s requirement.
²The power adapter is 12V/3A.
http://www.dlink.com/support | http://www.dlink.com/warranty |
DISPOSING AND RECYCLING YOUR PRODUCT
This symbol on the product or packaging means that according to local laws and regulations this product should be not be disposed of in the household waste but sent for recycling. Please take it to a collection point designated by your local authorities once it has reached the end of its life, some will accept products for free. By recycling the product and its packaging in this manner you help to conserve the environment and protect human health.
NOTES

Ver. 1.10(WW)_130x183
2021/06/02
5300-00008061-50U


























