Bort 93410785 Garment Steamer Compact+ User Guide



HAND GARMENT STEAMER
GENERAL INFORMATION
Dear Customer, Please read and comply with these original instructions prior to the initial operation of your garment steamer and store them for later use or subsequent owners.
PROPER USE
Hand garment steamer is a compact multipurpose steam device . It is designed to clean up clothes, remove wrinkles, lint, dust and unpleasant odors from textiles . Hand garment steamer can be used on the road as an electric kettle or a device for boiling eggs . Follow safety instructions .
TECHNICAL SPECIFICATIONS 1

PRODUCT ELEMENTS 2
- Brush
- Steam nozzle
2a) Kettle nozzle - Max water level
- On / off button
- Handle
- Power indication
SCOPE OF DELIVERY
The scope of delivery of your appliance is illustrated on the packaging . Check the contents of the appliance for completeness when unpacking
SAFETY
- The appliance may not be used in areas where a risk of explosion is present
- If the appliance is used in hazardous areas the corresponding safety provisions must be observed .
- Never use the appliance in pools containing water .
- Check the faultless condition of the appliance and the
accessories before using it . Otherwise, the appliance must not be used . Please check in particular the power cord, the safety lock, and the steam hose . - If the power cord is damaged, please arrange immediately for the exchange by an authorized customer service or a skilled electrician
- Please arrange for the immediate exchange of a damaged steam hose . You may only use a steam hose that is recommended by the manufacturer .
- Never touch the mains plug and the socket with wet hands .
- Never use the appliance to clean objects containing hazardous substances (e .g . asbestos) .
- Never touch the steam jet from a short distance with your hands and never direct the steam jet to persons or animals (risk of scalds) .
- The appliance may only be connected to an electrical supply which has been installed in accordance with IEC 60364 .
- The appliance may only be connected to alternating current . The voltage must correspond with the type plate on the appliance
- In wet rooms, e .g . bathrooms, connect the appliance to sockets with a series connected RCD adapter .
- Unsuitable extension cables can be hazardous . Only use a splash proof extension cable with a minimum section of 3×1 mm² .
- The connection between power cord and extension cable must not lie in water .
- If couplings of the power cord or extension cable are replaced the splash protection and the mechanical tightness must be ensured .
- The operator must use the appliance correctly . When working with the appliance, he must consider the local conditions and pay due care and attention to other persons, in particular children, who are nearby .
- This device is not intended for use by persons (including children) with reduced physical, sensory or mental abilities or lacking experience and/or knowledge, unless they are supervised by a person responsible for their safety or are instructed by these persons on the use of the device . Children should be supervised, to ensure that they do not play with the device .
- Never leave the appliance unattended when it is in operation .
- Make sure that the power cable or extension cables are not damaged by running over, pinching, dragging or similar . Protect the power cable from heat, oil, and sharp edges.
- Never fill solvents, solvent-containing liquids or undiluted acids (e .g . detergents, benzene, paint thinner, and acetone) into the water reservoir as these substances affect the materials used on the appliance .
- Protect the appliance from rain . Do not store outside .
QUICK REFERENCE 3
- Remove tank lid .
- Fill clean water into the hand garment steamer to the
water level mark (no more than 500ml), then close the lid . Insert the plug into the power outlet and turn the button to the ON position . - After approximately 1.5 minutes, the hand garment steamer will be ready for use .
- During operation, keep the hand garment steamer in a vertical position to avoid spilling hot water .
- Do not tilt or turn the hand garment steamer .
- Watch the water level while steaming .
- Upon completion of work, wait until the steamer is completely cooled and store it in storage .
MAINTENANCE AND CARE
Always disconnect the mains plug and allow the steam cleaner to cool down before performing any maintenance work .
TROUBLESHOOTING
Often, failures have simple causes and you can do the troubleshooting yourself using the following overview . If you are in doubt or if the failure is not listed here please contact the authorized customer service.
Danger
Repair works may only be performed by the authorized customer service . Always disconnect the mains plug and allow the steam cleaner to cool down before performing any maintenance work .
DECREASED STEAM AMOUNT
Appliance is decalcified . Decalcify appliance .
ENVIRONMENTAL PROTECTION
The packaging material can be recycled . Please do not place the packaging into the ordinary refuse for disposal, but arrange for the proper recycling .
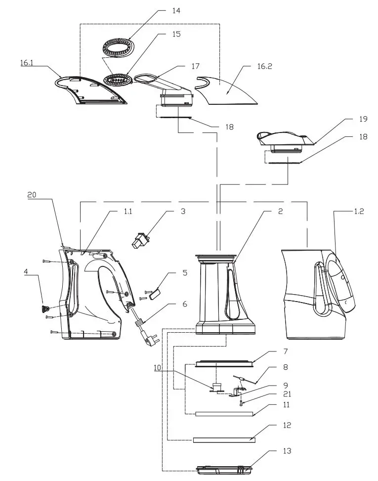
EXPLODED VIEW

SPARE PARTS LIST
No. Part Name
(3) Switch
(7) Heating plate
(10) 1350 Thermostat
(14) Brush
(19) Water tank cover
- BORT GLOBAL LIMITED offers the 2-year warranty from the date of sale for all its products . Professional and commercial tools are not covered by the warranty . Repair is only available for a fee in this case .
- Non-commercial use of the tools imposes limitations on the duration of its operation and restricts the intended usage to household purposes only . The continuous operating time should not exceed 40 hours . In addition, 10-15 minute breaks are to be made after every 15 minutes of continuous operation . Ignoring this condition when using the tools is a violation of the good operating practice (this provision does not apply to pumps, generators, chargers and similar equipment) . Subject to the above mentioned condition, the service life of the tools is 5 years . When you purchase a tool, a warranty card is issued (fields with a date of sale, model, and serial number are mandatory, other fields can also be completed) . Please keep the card together with the sales receipt during the entire warranty period for presentation at the service center . Electric tools are only accepted for warranty repairs when assembled with all removable devices and their fastening elements (bus bars, saw blades, chains, knives, trimmer heads, injectors, sprockets, bolts, nuts, and mounting flanges) in working condition .
- The following malfunctions are eliminated free of charge during the warranty period:
• Damage to the instrument, caused by the use of low-quality ma-trials
• Assembly defects due to the fault of the manufacturer . - The warranty does not cover:
• Malfunctions of the tools caused by the failure to comply with the operating instructions .
• Mechanical damage (cracks, chips, mechanical damage to power cords, mechanical damage to the enclosure, etc.), damage caused by exposure to aggressive environments and high temperatures, damage induced by the ingress of liquids or foreign matter into ventilation grids of the electric tools, as well as damage due to improper storage (corrosion of metal parts, etc.) .
• Tools with defects which were caused by an overload (simultaneous failure of the rotor and stator), improper use (usage of blunt, unsuitable, unbalanced, or improperly chosen replacement devices), lack of maintenance or care, and use of the tools for purposes other than the intended purpose (for example, for processing of materials for which the tool is not intended, etc.), as well as by the instability of electric power supply, exceeding the standards set by EN 61000-3-2, EN 61000-3-3 . Among others, undeniable signs of an overload include: changes in appearance, deformation or melting of parts and components of the product, darkening or charring of wire insulation under high temperatures .
• Wear parts and materials (carbon brushes, belts, rubber gaskets, seals, guards, platforms, bus bars, gears, bearings, hubs, coil heaters, pulleys, rollers, rods, lock buttons, etc.), components (gears, shafts, bearings, rods, rollers, etc.) subject to deterioration due to lubrication wear-out, as well as replacement devices (drill chucks, SDS cartridges, platforms, collets, bus bars, flexible shafts, batteries, battery chargers, etc.) and supplies (knives, saws, abrasives, saw blades, drill bits, drills, lubrication, etc.), except in cases of mechanical damage of the above mentioned products due to failures of the electric tool which are covered by this warranty .
• Natural wear of the tool, its parts and components (wearing out of the resource, severe internal or external contamination, wearing out of the lubrication) .
• Tools that were unsealed or repaired during the warranty period by persons or organizations who are not legally authorized to perform these activities .
• Tools with removed, erased, worn out or changed serial numbers, including cases when the data of the electric tool does not match the data of the warranty card .
• Preventive maintenance of the electric tools, for example, cleaning, washing, lubrication . - Do not operate electric tools exhibiting failure symptoms (high arcing, smell of burning, increased noise, severe vibration, uneven rotation, loss of power) . Do not use the electric tools if there is any mechanical damage to the power cord (cracks, chips, tears, binds), AC plug, or the enclosure of the tool .
- During the warranty period, faulty parts and components of the instrument are repaired or replaced free of charge . The Service Centre reserves the right to decide whether such parts and components are to be replaced or repaired . If a failure or malfunction is recognized by BORT GLOBAL LIMITED as a warranty case, then it can be removed according to our own choice by repair or replacement of the defective tool . Replaced tools and parts become the property of the Service Centre of BORT GLOBAL LIMITED .
- Guidelines for the preventive maintenance of electric tools: Regular preventive maintenance (cleaning, washing, relubrication of bearings and gearbox, replacement of fast wearing parts) is recommended for the tools . Maintenance ensures perfect operation of the electric tool during its entire service life cycle . The frequency of preventive maintenance at rated load is determined according to the natural wear of carbon brushes . Maintenance work is charged according to the price list of the service center . Any failures covered by the warranty and detected in the course of maintenance are repaired free of charge . Warranted failures, which are detected by the diagnostics, are eliminated as agreed by the parties according to the routine procedure . Preventive maintenance does not extend the duration of the warranty period . Other claims, except for the above mentioned right for free remedial measures, are not covered by this warranty .
- This warranty does not affect other legal consumer rights granted by the applicable laws .
* Depending on the model .
GUARANTEE CERTIFICATE

GUARANTEE CERTIFICATE
.
Terms and Conditions of the extended warranty online at
www.bort-global.com
Stamp dealer_______________
Model_______________
Compact +_______________
Serial Number _______________
Date of purchase _______________
Salesman _______________
After having read the warranty terms and pre-purchase inspection I certify that I’ve got no complaints in respect of the appearance and performance of the tool. , , .
Signature _______________
BORT GLOBAL LIMITED Room 1501, 15/F., SPA Centre, 53-55 Lockhart Road, WAN CHAI HONG KONG



21 PAP BORT GLOBAL LIMITED
Room 1501, 15/F., SPA Centre, 53-55 Lockhart
Road, WAN CHAI, Hong Kong
Made in China



















