Blackstar AMPED 2 Compact All In One Amplifier Owner’s Manual
IMPORTANT SAFETY INSTRUCTIONS
- Read these instructions.
- Keep these instructions.
- Heed all warnings.
- Follow all instructions.
- Do not use this apparatus near water.
- Clean only with a dry cloth.
- Do not block any ventilation openings.
- Install in accordance with the manufacturer’s instructions.
- Do not install near any heat sources such as radiators, heat registers, stoves, or other apparatus (including amplifiers) that produce heat.
- Do not defeat the safety purpose of the polarized or grounding-type plug. A polarized plug has two blades with one wider than the other. A grounding type plug has two blades and a third grounding prong. The wide blade or the third prong are provided for your safety. If the provided plug does not fit into your outlet, consult an electrician for replacement of the obsolete outlet.
- Protect the power cord from being walked on or pinched particularly at plugs, convenience receptacles, and the point where they exit from the apparatus.
- Only use attachments/accessories specified by the manufacturer.
- Unplug this apparatus during lightning storms or when unused for long periods of time.
- Refer all servicing to qualified service personnel. Servicing is required when the apparatus has been damaged in any way, such as power-supply cord or plug is damaged, liquid has been spilled or objects have fallen into the apparatus, the apparatus has been exposed to rain or moisture, does not operate normally, or has been dropped.
“TO COMPLETELY DISCONNECT THIS APPARATUS FROM THE AC MAINS, DISCONNECT THE POWER SUPPLY CORD PLUG FROM THE AC RECEPTACLE”. “WARNING: TO REDUCE THE RISK OF FIRE OR ELECTRIC SHOCK, DO NOT EXPOSE THIS APPARATUS TO RAIN OR MOISTURE AND OBJECTS FILLED WITH LIQUIDS, SUCH AS VASES, SHOULD NOT BE PLACED ON THIS APPARATUS”.
This symbol is intended to alert the user to the presence of important operation and maintenance (servicing) instructions in the literature accompanying the appliance.
This symbol is intended to alert the user to the presence of uninsulated “dangerous voltage” within the product’s enclosure that may be of sufficient magnitude to constitute a risk of electric shock to persons.
Warning!
Important safety information! READ THE FOLLOWING INFORMATION CAREFULLY. SAVE ALL INSTRUCTIONS FOR FUTURE REFERENCE! Follow all warnings and instructions marked on the product! Danger! High internal operating voltages.
Introduction
Thank you for purchasing this Dept. 10 AMPED guitar amplifier pedal. Like all our products, this amplifier is the result of countless hours of painstaking Research and Development by our world-class design team. Based in Northampton (UK), the Blackstar team are all experienced musicians themselves and the sole aim of the development process is to provide guitarists with the ultimate tools for selfexpression. All Blackstar products are subjected to extensive laboratory and road testing to ensure that they are truly uncompromising in terms of reliability, quality and above all TONE. The Dept. 10 AMPED series is packed with innovative, ground-breaking technology allowing the sound in your head to be more portable than ever before. Please read through this handbook carefully to ensure you get the maximum benefit from your new Blackstar product.
To find out more about the Blackstar range of products please visit our website at www.blackstaramps.com.
Thanks! The Blackstar Team
Features
Since our launch in 2007, Blackstar has led the way in the innovation of guitar\ amplification. The Dept.10 AMPED 2 represents the culmination of years of technical research and development. AMPED 2 has an intuitive control set like a traditional amp, but the versatility of programmability and Pro Digital Technology.\AMPED 2 is a 100W, no compromise guitar amplifier and advanced effects processor pedal capable of delivering the tone and feel of traditional valv amps. The USA and UK Voices offer two of the most revered and popular platforms for pedals and effects, with a beloved hot-rodded bite provided by the ClassicVoice. In combination with the four studio quality, fully configurable, built-in effects pedals (Drive, Modulation, Delay and Reverb) your AMPED 2 gives you unparalleled versatility. But it doesn’t end there; MIDI control, 9V isolated pedal power out uts and a fully featured FX loop make your AMPED 2 the everexpandable hub for your pedalboard. Via the Response control, AMPED 2 offers three distinctly different power valve responses. The power valve responses (EL84, EL34, 6L6) deliver the dynamics, sag and break up characteristics of their analogue counterparts. On top of this, all tones crafted on your AMPED 2 are capable of being delivered with 100W of power at either 8 or 16 ohms, giving you the power to fill any venue. CabRig is Blackstar’s next-generation DSP speaker simulator and creates a fundamental shift in the accessibility of professional recording and performing. CabRig awards musicians the ability to access previously unattainable technology, that has long been reserved for professional sound engineers and producers. The CabRig outputs enable you to get the sound in your head from any speaker including headphones, studio monitors and front of house. AMPED 2 can also be used as an audio interface, recording the same tones you use live straight into your computer via USB-C.
Front Panel
- VoiceThe Voice control changes the preamp voicing and character. USA – Inspired by classic American amps of the mid ’60s. Very clean, dynamic and bright, with a solid low-end and controlled mids. A perfect pedal platform. UK – A distinctive preamp based on a much-loved British Class A amplifier of the early ’60s. A low to medium gain preamp that can be used clean, warm or mildly overdriven. Popular choice for a pedal platform or as a responsive crunch tone. Classic – Based on Blackstar’s award-winning cascaded valve/tube overdrive circuits and a traditional ‘British style passive tone stack’. Perfect for big chords and crunchy rhythm playing with clear note separation.
- Gain The Gain control adjusts the amount of overdrive or distortion. Low settings, counter clockwise, will deliver a cleaner sound. As the Gain control is turned clockwise the sound will become more overdriven, used in combination with the Voice control to move through beautiful crunch tones, with maximum distortion in the full clockwise position.
- Bass The Bass control adjusts the level of low-end frequencies in your tone. The tone controls are tailored totheselectedVoice.Forexample,theCleanWarmVoice has a more pronounced low end, whereas the Clean Bright Voice has a more controlled bass response.
- Middle The Middle control adjusts the level of mid-range frequencies in your tone. The midrange frequencies are particularly important in setting the amount of ‘body’ your tone has. With the Middle control set to its minimum position (fully counter clockwise) the sound will be scooped. As the Middle control is increased (clockwise) the amount of‘body’ is increased.
- Treble The Treble control adjusts the level of high frequencies in your tone. At low settings the sound will be warm and dark in character. As the Treble control is increased thesound will become brighter.
- Drive The Drive pedal is placed before the Amplifier section in the signal chain. Select from the three Drive types using the toggle switch: Boost – Boosts the level of the signal into the preamp. The Boost is a great way to access more range from your chosen voice without affecting the overall tone. Drive – Adds saturation and distortion to your sound. Perfect for toggling between a clean and dirty rhythm tone when used with a low gain voice
Fuzz – Produces gritty and gnarly distortion. The Fuzz reacts differently with each voice, so try the Fuzz in front of each to find your sound. Fine tune the Drive pedal using the Drive, Tone and Level controls. - Drive Footswitch The Drive footswitch toggles the Drive pedal on and off. The LED will light up when the Drive pedal is active.
- Modulation Select from the three Modulation types using the toggle switch:. CH/FL (Chorus/Flanger) – Ranges from lush, glistening Chorus to outrageous, shrieking Flanger.
NOTE: The CH/FL Modulation type has a split Depth control. In thelower half of the range the Modulation will be set to Chorus and the depth of the Chorus will be adjusted. In the upper half of the range the Modulation will be set to Flanger and the depth of the Flanger will be adjusted.
TIP: Set the Modulation pedal to Post when using the CH/FL setting with a higher gain Voice to get the most impact from the effect. (See below on how to set Modulation Pre/Post). Tremolo – Offers everything from subtle undulation to full-on, surgical chopping.
NOTE: The Tremolo Modulation type has a split Depth control. In the lower half of the range the Modulation will be set to standard Tremolo and the depth of the Tremolo will be adjusted. In the upper half of the range the Modulation will be set to Harmonic Tremolo and the depth of the Harmonic Tremolo will be adjusted.
TIP: Set the Modulation pedal to Pre to try the Tremolo in front of a higher gain Voice to push and pull your sound in and out of distortion (See below on how to set Modulation Pre/Post). Phaser – Produces a classic, vocal-like sweep across your sound. Subtly blend the effect or warp your sound into something new.
TIP: Experiment with the Phaser set to Pre and Post with the different Voice and Drive options to create unique interactions (See below on how to setModulation Pre/Post). Fine tune the Modulation pedal using the Time, Depth and Levelcontrols: The Modulation pedal can be placed pre or post the Amplifier section using Blackstar’s Architect deep-editing software. The default setting for Modulation Pre/Post is Pre. - Mod Footswitch
The Mod footswitch toggles the Modulation pedal on and off. The LED will light up when the Modulation pedal is active. When the Modulation pedal is active, holding the Modulation footswitch will activate an ‘Emphasis’ effect. The current settings of the selected Modulation type will be emphasised, with the result being a more intense effect. When the Modulation footswitch is released, the Modulation effect will return to the previous settings. - Delay Select from the three Delay types using the toggle switch: Linear – Unaltered, and crisp. A great choice for creating intertwined rhythmic delay parts. Analogue – Warm, smooth and supportive. Perfect for adding space to your sound without getting in the way. Shimmer – Complex, lush and ethereal. Combine with a long Reverb for ambient sound scaping. Fine tune the Delay pedal using the Time, Feedback and Level controls. The Delay pedal can be placed pre or post the Amplifier section using Blackstar’s Architect deep-editing software. The Delay trails can also be turned on or off using Blackstar’s Architect software. With Delay trails on, when the Delay is deactivated with the Delay footswitch (11) the input to the Delay will be stopped and the Delay sounding at that point will be allowed decay naturally. With Delay trails off, when the Delay is deactivated with the Delay footswitch (11) the Delay sound will stop instantly.
- Delay Footswitch The Delay footswitch toggles the Delay pedal on and off. The LED will light up when the Delay pedal is active. When the Delay pedal is active, holding the Delay footswitch will activate the ‘Freeze’ effect. Whilst the Delay footswitch is held down and the ‘Freeze’ effect is active, the Delay will decay over a much longer period of time. Notes played whilst the Delay footswitch is held will be added to this ‘Freeze’ effect. 12. Reverb Use the Reverb type switch to alter the character of the Reverb: Room – Dense and intimate Spring – Warm and resonant Plate – Airy and smooth Fine tune the Reverb pedal using the Time and Level controls. The Reverb Tone can be customised for each Reverb type using Blackstar’s Architect deep-editing software and saved to your amp.
- Reverb Footswitch The Reverb footswitch toggles the Reverb effect on and off. The LED will light up when the Reverb is active. When the Reverb is active, holding the Reverb footswitch will activate the ‘Freeze’ effect. Whilst the Reverb footswitch is held down and the ‘Freeze’ effect is active, the Reverb will decay over a much longer period of time, achieving a synth pad-like effect. Notes played whilst the Reverb footswitch is held will be added to this freeze effect.
- Tuner Activate the chromatic Tuner on the integrated OLED display by pressing both the Delay footswitch (11) and Reverb footswitch (13) simultaneously. The note being played will be displayed on screen and the arrows will indicate whetherthe note is flat (to the left of the screen) or sharp (the right of the screen). The arrows will appear larger in the centre to indicate when the note is in tune. Press any footswitch to deactivate the Tuner.
NOTE: The output will be muted whilst the Tuner is active. - Tap The Tap footswitch can be used to input a tempo/BPM (Beats Per Minute) for the synced effects pedals. The LED will flash to indicate the current tempo/BPM. When tapping a new tempo/BPM the generated tempo/BPM will be displayed on the screen.
NOTE: When tapping the Tap footswitch to input a new tempo/BPM, the minimum number of taps to generate a tempo/BPM is three. The effects pedals that can be synched to the Tap tempo/BPM are Delay and Modulation. The Delay pedal is permanently synched to the Tap tempo/BPM, but bydefault the Modulation pedal will not be synced. To sync the Modulation pedal to the Tap tempo/BPM please see the section on Hold: Shift (16). MIDI: To set the Tap tempo/BPM using the MIDI In, configure a MIDI message wit MIDI CC number 100 and a value of 127 (See the MIDI table at theend of this manual for more information). It is important to note that values other than 127 will be ignored when setting the Tap tempo/BPM via the MIDI In, so it is recommended to configure yo r MIDI controller to “momentary” when setting the Taptempo/BPM. - Hold: Shift Secondary functions of the controls can be accessed by holding the Tap footswitch: Shift + Drive Tone = Fuzz Bias – When holding the Tap footswitch, turning the Drive Tone will adjust the Fuzz Bias. Turning the Fuzz Bias up will increase the DC offset at the input to the Fuzz. The effect of this is a more gated, tighter sound, tending towards spitting and spluttery as the control is increased.
NOTE: The default setting for the Fuzz Bias is 0. Shift + Modulation Time = Modulation Time Division – When holding the Tap footswitch, turning the Modulation Time knob will adjust the Modulation Time Division. The Modulation pedal will then be synched to the Tap tempo/ BPM. The time division of the Modulation can be set in relation to the Tap tempo/ BPM by turning the knob:
– “1/1” = Whole bar
– “1/2” = ½ notes
– “1/4” = ¼ notes
– “1/4D” = Dotted ¼ notes
– “1/4T” = ¼ note triplets
– “1/8” = 1/8 notes
– “1/8D” = Dotted 1/8 notes
– “1/8T” = 1/8 note triplets
– “1/16” = 1/16 notes
– “1/32” = 1/32 notes
NOTE: Once the Modulation pedal is synced to the Tap tempo/BPM it can be un-synced by turning the Modulation Time control after the Tap footswitch has been released. Shift + Delay Time = Delay Time Division – When holding the Tap footswitch, turning the Delay Time knob will adjust the Delay Time Division. The time division of the Delay pedal can be set in relation to the Tap tempo/BPM: - Response The Response control delivers three distinctly different and authentic power valve responses – EL84, EL34 and 6L6. Each setting delivers the response, dynamics, sag and break-up characteristics of the selected valve power amp. This means that these amps deliver live without compromise. Blackstar’s power valve responses change the characteristics of the sound from dynamic and tight to compressed and spongy:
EL84 – Bell-like full bodied Class A with lots of compression and soft break-up
EL34 – Classic British Class A/B full bodied crunch with focussed mids
6L6 – Tight dynamic Class A/B with extended high and lows - Master This controls the overall volume of your amplifier. Turning it clockwise increases the volume. High levels of Master volume will introduce the effect of valve power amp distortion and compression, the character of which depends on the Response (17) setting you have selected.
- Power This 3-way mini toggle switch allows the user to switch between three different power output settings:
100W – This is the full power setting which will give the loudest clean headroom. Ideal for live and stage use.
20W – This setting reduces the output power to a maximum of 20 Watts. Use for smaller gigs, when rehearsing, or when a more power amp overdriven tone is desired at a lower level.
1W – This is the lowest power setting and reduces the output power down to 1 Watt. Perfect for practising, recording or when a power amp overdriven tone is desired at low volume. - Mains Input The supplied detachable mains lead is connected here. Dept. 10 AMPED products use a universal input power supply. This means that the mains input range is rated at 100Vac to 240Vac and capable of operating at 50Hz and 60Hz. Therefore, these products can be used anywhere in the world without needing to adjust anything. Along with the size and weight benefits, this makes them ideal for a musician who travels internationally.
NOTE: The mains input can only be connected to a power outlet that is compatible with the voltage, power and frequency requirements stated on the rear panel. If in doubt, seek advice from a qualified technician. - Power Switch This switch is used to turn the amplifier on and off.
- In Plug your guitar into this input. Always use a good quality screened instrumentlead.
- FX Loop Send Connect to the (mono) input of external effects units here. The Effects Loop Send is taken before the Presence (16) and Master (18) controls. The default for the Effects Loop is for it to be placed before the onboard Reverb in the signal chain. This setting can be changed using Blackstar’s Architect software and saved to the amp.
- FX Loop Return Connect to the (mono) output of external effects units here. As default, the Effects Loop is set to run in series. The Effects Loop can be set to run in parallel using Blackstar’s Architect software and saved to the amp. When running in parallel, Architect also provides control over the Effects Loop Return Level.
- . FX Loop Send The Level switch sets the Effects Loop to either +4dBu or -10dBV, which allows the level to be optimal for use with either professional audio equipment (+4dBu) or with guitar level effects such as effects pedals (-10dBV). TIP: If you are unsure which setting to use, start with -10dBV.
- Out Connect your AMPED to the input of another amplifier using the Out. The signal for this output is taken after the Presence (16) and Master (18) controls, but the power valve Response (17) is not applied to the tone.
- Speaker Outputs Connect a suitable guitar speaker cabinet to the matching impedance Speaker Output: The output marked ‘16 OHM’ is for the connection of a single 16 Ohm extension speaker cabinet. The output marked ‘8 OHM’ is for the connection of a single 8 Ohm extension cabinet.
WARNING: Do not use both speaker outputs at the same time, doing so will damage y ur amplifier. Connect the speaker cable to your cabinet first, then your AMPED pedal. - Outputs Use the two isolated 9V DC outputs to power your external pedals up to a maximum combined current of 500mA. Both isolated outputs are centre negative.
WARNING: Do not exceed a combined total current of 500mA from the two outputs. Do not connect pedals that require a centre positive powerconnection. - USB Audio – CabRig Output Use the supplied USB-C cable to connect your AMPED 2 directly to your computer. This is for USB digital audio output and for connecting to Blackstar’s Architect software. Standard audio drivers are used to connect the amplifier to a PC, Mac or other applicable recording device. No specific drivers are required. For a guide on low latency USB recording visit: www.blackstaramps.com/usbrecording
NOTE: Always connect the amplifier via a main USB port, often found on the rear of the computer. CabRig is a next-generation advanced speaker simulator that reproduces the sound and feel of mic’d up guitar speaker cabs in incredible detail. The sound is dependent on the position of the CabRig switch. The CabRig switch has 3 positions to choose between three presets, these presets are completely customisable in the CabRig section of the Architect software. - MIDI In To receive MIDI messages, connect your MIDI device here using the supplied TRS MIDI to 5 pin MIDI adaptor. Always use a good quality MIDI lead. The default for receiving MIDI messages via the MIDI In is channel 1. The MIDI channel can be changed using Blackstar’s Architect software. Please refer to the MIDI table at the end of this manual for more details.
- MIDI Thru MIDI messages received at the MIDI In port will be passed, unaffected, to the MIDI Thru. Use this output to chain multiple MIDI devices together.
NOTE: The path from MIDI In to MIDI Thru is a software pass through. - Balanced – Mono XLR CabRig Output
Use a 3 pin XLR cable to connect this output to an audio interface, stage box or mixing desk. This provides a low noise, low impedance, high quality connection for recording or live use. The signal from this output is the fully processed guitar sound, with power amp and CabRig speaker cabinet emulation. This signal can also be attenuated by up to 20dB using the CabRig Outputs ‘Level’ control. The USB stereo line input will also be affected by the Level control when it is monitored through the XLR output.
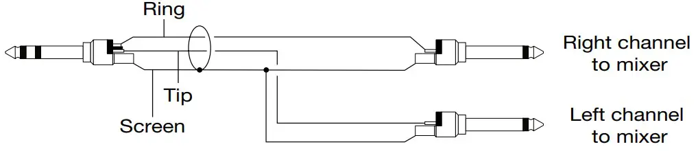
NOTE: This signal is taken after the Master volume control. - Line Out – Stereo CabRig Output This ¼” TRS jack socket provides a stereo connection to a recording \ device, mixing desk or headphones. Always use a good quality TRS (stereo) type lead or TRS to 2 x TS (mono) lead (see diagram below). The signal from this output is the fully processed guitar sound, with power amp and CabRig speaker cabinet emulation. The sound is dependent on the CabRig switch (34) setting and the more in-depth settings within the CabRig section of Blackstar’s Architect software. The CabRig signal level can also be attenuated by up to 20dB using the Level control (35). The USB stereo line input will also be affected by the Level control when it is monitored through the Line Out.
NOTE: This signal is taken after the Master volume control.
- Line Out – Stereo CabRig Output Use this to switch between the three CabRig settings currently stored in the pedal. You can customise the three factory patches using the CabRig section of Blackstar’s Architect software.
- Level – CabRig Outputs This control allows quick access, physical control over the XLR, Line Out and USB audio channel 3 output level. At maximum (fully clockwise), this control has no effect on the signal level. At minimum (fully anti-clockwise), this control attenuates the signal on these outputs by 20dB.
Amplifier

On this page all of the front panel (outlined in the ‘Front Panel’ section of this manual) controls of your AMPED 2 can be adjusted.

Local Patches
Click on the ‘Save’ icon in the toolbar to save a Local Patch. All of the front panel settings will be saved in a Local Patch. Local Patch can be recalled by double clicking on the relevant patch in the Patches panel.
NOTE: Local Patches cannot be saved to your amp. They can only be recalled and loaded to your amp when connected to Blackstar’s Architect.
Random Preset Generation

Audio Settings
Click on the ‘Audio Settings’ icon to open the Audio Settings panel.
Adjust detailed Delay and Modulation settings, Fuzz Bias, Presence, MIDI channel, FX Loop and Reverb settings here. Changes made here will automatically update, but will not be permanently saved to the amp. To save your changes, click “Save Amp Settings” at the bottom of the page.
Tuner
Click on the ‘Tuner’ icon or the screen to activate the Tuner. The behaviour of the Tuner is the same as outlined in the Tuner section (14).
NOTE: The “Wide” setting will enhance and widen the stereo image, resulting in an expansive stereo experience.
CabRig
To access edit CabRig settings you will need Blackstar’s Architect software. Download Architect from the Blackstar website:
https://blackstaramps.com/architect
Cab Channel Strip

The Cab Channel strip allows you to craft and control your virtual cabinet tone.
Cab Selection

Select your virtual cabinet using the Cabinet Selection panel. Choose from 23 distinct speaker cabinets or select DI (Direct Injection) for the direct power amp output.
NOTE: For use with 3rd party IR (Impulse Response) loaders, select the DI option. The DI is taken from after the power amp emulation.
Mic Selection

Mic up your virtual cabinet with a choice of 6 industry standard microphones. Toggle the axis of your microphone choice for a different tonal flavour. In general, OFF AXIS will darken your tone and shift the mid range character. Microphone Character
57 – Dynamic Bright and cutting, with controlled lows. A classic microphone choice for recording guitar cabinets. Use this microphone off-axis for a less sharp, mid-focussed tone.
421 – Dynamic Aggressive and tight. Use this microphone for an upfront sound or off-axis for a more mellow sound.
67 – Condenser Balanced with extended top end. Off-axis this microphone gives a similar tone to a ribbon, but with a controlled low end.
414 – Condenser Rich and bold. The extended top and bottom end of this microphone gives your tone a larger-than-life sound.
121 – Ribbon Thick and warm. A great choice for a vintage sound. Try off axis for a super smooth sound.
160 – Ribbon Punchy mids with smooth highs. Use this microphone for a more controlled ribbon sound or off-axis for a richer tone.
Mix Controls
Balance the levels of your cabs using the channel faders. Use the solo button to isolate your cab and room, or the mute button to silence it. Below is the signal chain for CabRig:

Room

Room Selection
Support your cab and mic selection with room ambience. Select the type of room using the drop-down menu. Each room type has a “Damped” option; selecting this will result in a shorter and more refined sound.
Width Selection
Adjust the stereo width of your room choice using this drop-down. These are emulations of three different micing techniques (shown below): mono mic, XY pair and spaced pair.
NOTE: The “Wide” setting will enhance and widen the stereo image, resulting in an expansive stereo experience.
Master


The channel EQs provide the ability to shape the tone of each of your cab and mic combinations individually. The EQ can be bypassed for a quick comparison.
- LOW-CUT: Controls a 2nd order high pass filter
- LOW: Controls a low shelf filter at 120Hz +/- 10dB
- LOW MIDS: Controls a peak filter at 400Hz +/- 10dB
- HIGH MIDS: Controls a peak filter at 1KHz +/- 10dB
- HIGH: Controls a high shelf filter at 4KHz +/- 10dB
- HI-CUT: Controls a 2nd order low pass filter
TIP: Choose one of the EQ Presets from the drop-down box (shown below) for a good place to start. This is like having your own sound engineer, getting you to the sound you want quickly. The EQ Presets also provide a great platform for experimentation should you wish to tweak your tone further.
Patches and Presets

These are the patches that are currently loaded on your amplifier, selectable via the CabRig switch. Press the save button and “Save Patch to Device” to save your current CabRig settings to one of your “Device Patches”.
Local Patches
“Local Patches” are saved on your computer (Documents – Blackstar – Saved Patches), instead of loaded onto your amp. To save a local patch, click the save button and “Save Local Patch”. You can save as many “Local Patches” as you like and these can be recalled at any point by double clicking on the patch in the patches panel or right clicking on the patch and selecting “Load Patch”.
TIP: To organise your “Local Patches” in the patch panel go to “Documents – Blackstar – Saved Patches” and create your own folders. Simply drag your patches into the folders you have created and your folders will appear in the patch panel.
Settings Panel

Audio
Adjust detailed Delay and Modulation settings, Fuzz Bias, Presence, MIDI channel, FX Loop and Reverb settings here. Changes made here will automatically update, but will not be permanently saved to the amp. To save your changes, click
“Save
Amp Settings” at the bottom of the page.
General
Adjust various Architect settings here.
About
Information about your amplifier will be displayed here.
Reset Default Patches and Settings
The default factory amp patches, CabRig patches and settings can be restored to your amplifier at any time. This can only be done using Blackstar’s Midi Table Architect software. Download Architect from the Blackstar website:
https://blackstaramps.com/architect/ Navigate to the ‘General’ settings panel within Architect and click ‘Restore Patches and Settings’. Follow the on screen instructions to complete the reset.
IMPORTANT NOTE: This process will overwrite any user content saved to the amp.
Firmware Upgrade
When a firmware upgrade for your amplifier is available, Architect will automatically prompt you, upon connection to your AMPED 2, to upgrade to the latest version. Follow the onscreen instructions to perform the firmware upgrade.
Technical Specifications
AMPED 2
Power (RMS): 100W
Weight (kg): 1.76
Dimensions (mm): 285(W) x 80(H) x 150(D)
| Function | CC Number | Value | |
| Voice | USA | 1 | 127 = On |
| UK | 2 | 127 = On | |
| Flat | 3 | 127 = On | |
| Preamp | Bass | 4 | 0-127 |
| Middle | 5 | 0-127 | |
| Treble | 6 | 0-127 | |
| Gain | 7 | 0-127 | |
| Response | EL84 | 8 | 127 = On |
| EL34 | 10 | 127 = On | |
| 6L6 | 12 | 127 = On | |
| Master Volume | 16 | 0-127 | |
| Response | KT88 | 18 | 127 = On |
| 6V6 | 20 | 127 = On | |
| LINEAR | 22 | 127 = On | |
| FX Loop | FX Loop Pre | 75 | 127 = On |
| FX Loop Post | 76 | 127 = On | |
| FX Loop Series | 77 | 127 = On | |
| FX Loop Parallel | 78 | 127 = On | |
| Reverb | Reverb Footswitch | 86 | 0 = Off127 = On |
| Reverb Level | 91 | 0-127 | |
| Reverb Hold | 92 | 0 = Off127 = On | |
| Preset Footswitch | 99 | 0 = Off127 = On | |
| Power Level | 1W | 110 | 127 = On |
| 20W | 111 | 127 = On | |
| 100W | 112 | 127 = On |



















