LG 55EJ5K Monitor Signage

BOX CONTENT


Due to the environment regulations about importation and disposal of batteries, remote control batteries will not be provided with LG monitor signage / commercial TV models (Argentina and Colombia).
SAFETY INSTRUCTION


You can download more detailed information on our website by searching the model number provided on the cover page:
- www.lg.com/id-manual
- SuperSign : http://partner.lge.com
DIMENSION
| Dimensions (Width x Height x Depth) / Weight | Display | 1220.3 mm x 696.8 mm x 4.9 mm / 6.5 kg |
| Signage Box | 782.8 mm x 238.4 mm x 34.7 mm / 3.4 kg |
TYPES OF CABLES


INSTALLATION INSTRUCTION





















PLUGIN IN

BATTERY INSTALLATION

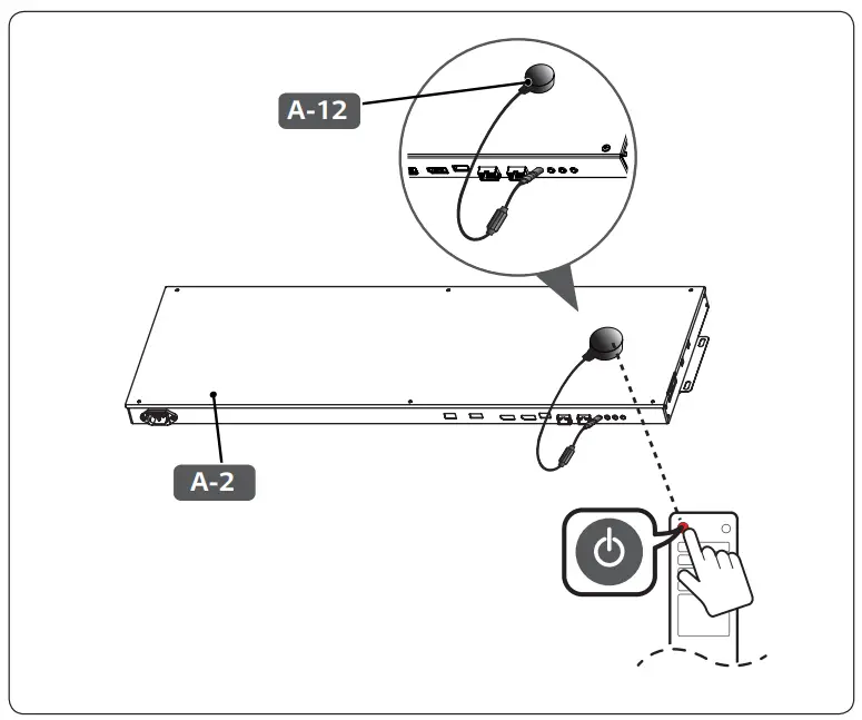
POWER ON





















