
Quick Start Guide
LG Digital Signage
(MONITOR SIGNAGE)
43UM3F 49UM3F 55UM3F 65UM3F
43UH5F 49UH5F 55UH5F 65UH5F
49UH7F 55UH7F 65UH7F
43UM3DF 49UM3DF 55UM3DF 65UM3DF

NOTE
Image shown may vary depending on model. All connection cable & devices shown in the pictures are not included along with the set.

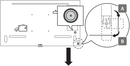
A B C

Depending upon country (Image may vary depending on model)
Unpacking
Check your product box for the following items. If there are any missing accessories, contact the local dealer where you purchased your product. The illustrations in this manual may differ from the actual product and item.

P/No. : MFL67360850 (2008-REV00)

Worldwide : www.lg.com/id-manual
SuperSign : http://partner.lge.com
You can download more detailed information on our website by searching the model number provided on the cover page.



NOTE
Image shown may vary depending on model. All connection cable & devices shown in the pictures are not included along with the set.



NOTE
Image shown may vary depending on model. All connection cable & devices shown in the pictures are not included along with the set.


NOTE
Image shown may vary depending on model. All connection cable & devices shown in the pictures are not included along with the set.

NOTE
Image shown may vary depending on model. All connection cable & devices shown in the pictures are not included along with the set.
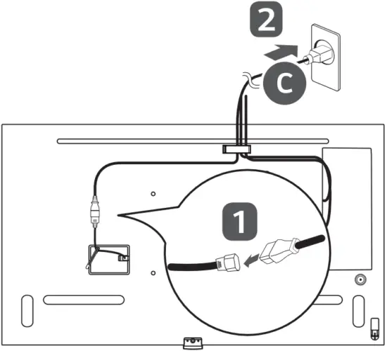
1 1

2 2

3 3


1
2 
3
4 
NOTE
Image shown may vary depending on model.



NOTE
Image shown may vary depending on model. All connection cable & devices shown in the pictures are not included along with the set.

IN002043



















