
INSTRUCTION MANUAL
Cordless Vacuum Cleaner
DVC350
![]()
Read before use.
WARNING
- This appliance can be used by children aged from 8 years and above and persons with reduced physical, sensory or mental capabilities or lack of experience and knowledge if they have been given supervision or instruction concerning use of the appliance in a safe way and understand the hazards involved.
- Children shall not play with the appliance. Cleaning and user maintenance shall not be made by children without supervision.
- See the chapter “SPECIFICATIONS” for the type reference of the battery.
- See the section “Installing or removing battery cartridge” for how to remove or install the battery.
- When disposing the battery cartridge, remove it from the tool and dispose of it in a safe place.
Follow your local regulations relating to disposal of battery. - If the tool is not used for a long period of time, the battery must be removed from the tool.
- Do not short the battery cartridge.
- See the chapter “MAINTENANCE” for the appropriate details of precautions during user maintenance.
SPECIFICATIONS
Model | DVC350 | ||
Capacity | Volume | 3.0 L | |
Max. Air volume | HIGH | 3.4 m3/min | |
Vacuum | HIGH | 5.5 kPa | |
Nominal overpressure | HIGH | 5.5 kPa | |
Continuous use (Approx.) | HIGH | 7 min (with BL1815N) | |
8 min (with BL1820B) | |||
13 min (with BL1830B) | |||
18 min (with BL1840B) | |||
21 min (with BL1850B) | |||
26 min (with BL1860B) | |||
LOW | 14 min (with BL1815N) | ||
16 min (with BL1820B) | |||
26 min (with BL1830B) | |||
36 min (with BL1840B) | |||
42 min (with BL1850B) | |||
52 min (with BL1860B) | |||
Overal | length | 403 mm | |
Net weight | 2.2 – 2.5 kg | ||
Rated voltage | D.C. 18 V | ||
- Due to our continuing program of research and development, the specifications herein are subject to change without notice.
- Specifications and battery cartridge may differ from country to country.
- The weight does not include accessories but battery cartridge(s). The lightest and heaviest combination weight of the appliance and battery cartridge(s) are shown in the table.
Applicable battery cartridge and charger
| Battery cartridge | BL1815N / BL1820B / BL1830B / BL1840B / BL1850B / BL1860B |
| Charger | DC18RC / DC18RD / DC18RE / DC18SD / DC18SE / DC18SF /DC18SH |
- Some of the battery cartridges and chargers listed above may not be available depending on your region of residence.
WARNING: Only use the battery cartridges and chargers listed above. Use of any other battery cartridges and chargers may cause injury and/or fire.
Symbols
The following show the symbols used for the equipment. Be sure that you understand their meaning before use.
![]()
Read before use.
Take particular care and attention.
Ni-MH Li-ion
Only for EU countries
Due to the presence of hazardous components in the equipment, waste electrical and electronic equipment, accumulators and batteries may have a negative impact on the environment and human health. Do not dispose of electrical and electronic appliances or batteries with household waste!
In accordance with the European Directive on waste electrical and electronic equipment and on accumulators and batteries and waste accumulators and batteries, as well as their adaptation to national law, waste electrical equipment, batteries and accumulators should be stored separately and delivered to a separate collection point for municipal waste, operating in accordance with the regulations on environmental protection.
This is indicated by the symbol of the crossed-out wheeled bin placed on the equipment.
Intended use
The tool is intended for collecting dry dust.
General power tool safety warnings
WARNING: Read all safety warnings, instructions, illustrations and specifications provided with this power tool. Failure to follow all instructions listed below may result in electric shock, fire and/or serious injury.
Save all warnings and instructions for future reference.
The term “power tool” in the warnings refers to your mains-operated (corded) power tool or battery-operated(cordless) power tool.
Work area safety
- Keep work area clean and well lit. Cluttered or dark areas invite accidents.
- Do not operate power tools in explosive atmospheres, such as in the presence of flammable liquids, gases or dust. Power tools create sparkswhich may ignite the dust or fumes.
- Keep children and bystanders away while operating a power tool. Distractions can cause you to lose control.
Electrical safety
- Power tool plugs must match the outlet. Never modify the plug in any way. Do not use any adapter plugs with earthed (grounded) power tools. Unmodified plugs and matching outlets will reduce risk of electric shock.
- Avoid body contact with earthed or grounded surfaces, such as pipes, radiators, ranges and refrigerators. There is an increased risk of electric shock if your body is earthed or grounded.
- Do not expose power tools to rain or wet conditions. Water entering a power tool will increase the risk of electric shock.
- Do not abuse the cord. Never use the cord for carrying, pulling or unplugging the power tool. Keep cord away from heat, oil, sharp edges or moving parts. Damaged or entangled cords increase the risk of electric shock.
- When operating a power tool outdoors, use an extension cord suitable for outdoor use. Use of a cord suitable for outdoor use reduces the risk of electric shock.
- If operating a power tool in a damp location is unavoidable, use a residual current device (RCD) protected supply. Use of an RCD reduces the risk of electric shock.
- Power tools can produce electromagnetic fields (EMF) that are not harmful to the user. However, users of pacemakers and other similar medical devices should contact the maker of their device and/or doctor for advice before operating this power tool.
Personal safety
- Stay alert, watch what you are doing and use common sense when operating a power tool. Do not use a power tool while you are tired or under the influence of drugs, alcohol or medication. A moment of inattention while operating power tools may result in serious personal injury.
- Use personal protective equipment. Always wear eye protection. Protective equipment such as a dust mask, non-skid safety shoes, hard hat or hearing protection used for appropriate conditions will reduce personal injuries.
- Prevent unintentional starting. Ensure the switch is in the off-position before connecting to power source and/or battery pack, picking up or carrying the tool. Carrying power tools with your finger on the switch or energising power tools that have the switch on invites accidents.
- Remove any adjusting key or wrench before turning the power tool on. A wrench or a key left attached to a rotating part of the power tool may result in personal injury.
- Do not overreach. Keep proper footing and balance at all times. This enables better control of the power tool in unexpected situations.
- Dress properly. Do not wear loose clothing or jewellery. Keep your hair and clothing away from moving parts. Loose clothes, jewellery or long hair can be caught in moving parts.
- If devices are provided for the connection of dust extraction and collection facilities, ensure these are connected and properly used. Use of dust collection can reduce dust-related hazards.
- Do not let familiarity gained from frequent use of tools allow you to become complacent and ignore tool safety principles. A careless action can cause severe injury within a fraction of a second.
- Always wear protective goggles to protect your eyes from injury when using power tools. The goggles must comply with ANSI Z87.1 in the USA, EN 166 in Europe, or AS/NZS 1336 in Australia/New Zealand. In Australia/New Zealand, it is legally required to wear a face shield to protect your face, too.
It is an employer’s responsibility to enforce the use of appropriate safety protective equipments by the tool operators and by other persons in the immediate working area.
Power tool use and care
- Do not force the power tool. Use the correct power tool for your application. The correct power tool will do the job better and safer at the rate for which it was designed.
- Do not use the power tool if the switch does not turn it on and off. Any power tool that cannot be controlled with the switch is dangerous and must be repaired.
- Disconnect the plug from the power source and/or remove the battery pack, if detachable, from the power tool before making any adjustments, changing accessories, or storing power tools. Such preventive safety measures reduce the risk of starting the power tool accidentally.
- Store idle power tools out of the reach of children and do not allow persons unfamiliar with the power tool or these instructions to operate the power tool. Power tools are dangerous in the hands of untrained users.
- Maintain power tools and accessories. Check for misalignment or binding of moving parts, breakage of parts and any other condition that may affect the power tool’s operation. If damaged, have the power tool repaired before use. Many accidents are caused by poorly maintained power tools.
- Keep cutting tools sharp and clean. Properly maintained cutting tools with sharp cutting edges are less likely to bind and are easier to control.
- Use the power tool, accessories and tool bits etc. in accordance with these instructions, taking into account the working conditions and the work to be performed. Use of the power tool for operations different from those intended could result in a hazardous situation.
- Keep handles and grasping surfaces dry, clean and free from oil and grease. Slippery handles and grasping surfaces do not allow for safe handling and control of the tool in unexpected situations.
- When using the tool, do not wear cloth work gloves which may be entangled. The entanglement of cloth work gloves in the moving parts may result in personal injury.
Battery tool use and care
- Recharge only with the charger specified by the manufacturer. A charger that is suitable for one type of battery pack may create a risk of fire when used with another battery pack.
- Use power tools only with specifically designated battery packs. Use of any other battery packs may create a risk of injury and fire.
- When battery pack is not in use, keep it away from other metal objects, like paper clips, coins, keys, nails, screws or other small metal objects, that can make a connection from one terminal to another. Shorting the battery terminals together may cause burns or a fire.
- Under abusive conditions, liquid may be ejected from the battery; avoid contact. If contact accidentally occurs, flush with water. If liquid contacts eyes, additionally seek medical help. Liquid ejected from the battery may cause irritation or burns.
- Do not use a battery pack or tool that is damaged or modified. Damaged or modified batteries may exhibit unpredictable behaviour resulting in fire, explosion or risk of injury.
- Do not expose a battery pack or tool to fire or excessive temperature. Exposure to fire or temperature above 130 °C may cause explosion.
- Follow all charging instructions and do not charge the battery pack or tool outside the temperature range specified in the instructions. Charging improperly or at temperatures outside the specified range may damage the battery and increase the risk of fire.
Service
- Have your power tool serviced by a qualified repair person using only identical replacement parts. This will ensure that the safety of the power tool is maintained.
- Never service damaged battery packs. Service of battery packs should only be performed by the manufacturer or authorized service providers.
- Follow instruction for lubricating and changing accessories.
CORDLESS VACUUM CLEANER SAFETY WARNINGS
WARNING! IMPORTANT READ CAREFULLY all safety warnings and all instructions BEFORE USE.
Failure to follow the warnings and instructions may result in electric shock, fire and/or serious injury.
- Operators must be adequately instructed on the use of this cleaner.
- This cleaner is not suitable for picking up hazardous dust.
- This cleaner is for dry use only.
- This cleaner is for indoor use only.
- This cleaner shall be stored indoors only.
- Do not pick up the following materials:
— Hot materials such as lit cigarettes or spark/metal dust generated by grinding/ cutting metal
— Flammable materials such as gasoline, thinner, benzine, kerosene or paint
— Explosive materials like nitroglycerin
— Ignitable materials such as Aluminum, zinc, magnesium, titanium, phosphorus or celluloid
— Wet dirt, water, oil or the like
— Hard pieces with sharp edges, such as wood chips, metals, stones, glasses, nails, pins or razors
— Powder to clot such as cement or toner
— Conductive dust such as metal or carbon
— Fine particle like concrete dust Such action may cause fire, injury and/or property damage. - Stop operation immediately if you notice anything abnormal.
- Do not bring close to stoves or other heat sources.
- Do not block the intake hole or vent holes.
- Do not leave the cleaner when battery fitted. Remove battery from appliance when not in use and before servicing.
- Do not allow to be used as a toy. Close attention is necessary when used by or near children.
- Use only as described in this manual. Use only manufacturer’s recommended attachments.
- Do not put any object into openings. Do not use with any opening blocked; keep free of dust, lint, hair, and anything that may reduce air flow.
- Use extra care when cleaning on stairs.
- When using the cleaner as a stationary cleaner, place it on a horizontal flat surface to prevent it from falling or moving unintentionally.
- For Finland, this machine is not to be used outdoors at low temperature.
- When using the cleaner as a blower
• always use protective goggles, a cap and mask while operating;
• always be sure that the cleaner is switched off and the battery cartridge is removed before clearing a blockage;
• always be sure of your footing on slopes;
• walk, never run;
• never point the nozzle at anyone in the vicinity;
• Keep all nuts, bolts and screws tight to be sure the cleaner is in safe working condition;
• Store the cleaner only in a dry place;
• The operator or user is responsible for accidents or hazzards ocurring to other people or their property.
KEEP FOR FUTURE REFERENCE
WARNING: DO NOT let comfort or famil- iarity with product (gained from repeated use) replace strict adherence to safety rules for the subject product. MISUSE or failure to follow the safety rules stated in this instruction manual may cause serious personal injury.
This cleaner is intended for both domestic and commercial use, for example in hotels, schools, hospitals, actories, shops, offices and rental businesses.
Important safety instructions for battery cartridge
- Before using battery cartridge, read all instructions and cautionary markings on
(1) battery charger,
(2) battery, and
(3) product using battery. - Do not disassemble or tamper with the battery cartridge. It may result in a fire, excessive heat, or explosion.
- If operating time has become excessively shorter, stop operating immediately. It may result in a risk of overheating, possible burns and even an explosion.
- If electrolyte gets into your eyes, rinse them out with clear water and seek medical attention right away. It may result in loss of your eyesight.
- Do not short the battery cartridge:
(1) Do not touch the terminals with any conductive material.
(2) Avoid storing battery cartridge in a container with other metal objects such as nails, coins, etc.
(3) Do not expose battery cartridge to water or rain. A battery short can cause a large current flow, overheating, possible burns and even a breakdown. - Do not store and use the tool and battery cartridge in locations where the temperature may reach or exceed 50 °C (122 °F).
- Do not incinerate the battery cartridge even if it is severely damaged or is completely worn out. The battery cartridge can explode in a fire.
- Do not nail, cut, crush, throw, drop the battery cartridge, or hit against a hard object to the battery cartridge. Such conduct may result in a fire, excessive heat, or explosion.
- Do not use a damaged battery.
- The contained lithium-ion batteries are subject to the Dangerous Goods Legislation requirements. For commercial transports e.g. by third parties, forwarding agents, special requirement on packaging and labeling must be observed. For preparation of the item being shipped, consulting an expert for hazardous material is required. Please also observe possibly more detailed national regulations. Tape or mask off open contacts and pack up the battery in such a manner that it cannot move around in the packaging.
- When disposing the battery cartridge, remove it from the tool and dispose of it in a safe place. Follow your local regulations relating to disposal of battery.
- Use the batteries only with the products specified by Makita. Installing the batteries to non-compliant products may result in a fire, excessive heat, explosion, or leak of electrolyte.
- If the tool is not used for a long period of time, the battery must be removed from the tool.
- During and after use, the battery cartridge may take on heat which can cause burns or low temperature burns. Pay attention to the handling of hot battery cartridges.
- Do not touch the terminal of the tool immediately after use as it may get hot enough to cause burns.
- Do not allow chips, dust, or soil stuck into the terminals, holes, and grooves of the battery cartridge. It may result in poor performance or breakdown of the tool or battery cartridge.
- Unless the tool supports the use near high-voltage electrical power lines, do not use the battery cartridge near high-voltage electrical power lines. It may result in a malfunction or breakdown of the tool or battery cartridge.
- Keep the battery away from children.
SAVE THESE INSTRUCTIONS.
CAUTION: Only use genuine Makita batteries. Use of non-genuine Makita batteries, or batteries that have been altered, may result in the battery bursting causing fires, personal injury and damage. It will also void the Makita warranty for the Makita tool and charger.
Tips for maintaining maximum battery life
- Charge the battery cartridge before completely discharged. Always stop tool operation and charge the battery cartridge when you notice less tool power.
- Never recharge a fully charged battery cartridge. Overcharging shortens the battery service life.
- Charge the battery cartridge with room temperature at 10 °C – 40 °C (50 °F – 104 °F). Let a hot battery cartridge cool down before charging it.
- When not using the battery cartridge, remove it from the tool or the charger.
- Charge the battery cartridge if you do not use it for a long period (more than six months).
FUNCTIONAL DESCRIPTION
CAUTION: Always be sure that the cleaner is switched off and the battery cartridge is removed before adjusting or checking function on the cleaner.
Installing or removing battery cartridge
► 1. Red indicator 2. Button 3. Battery cartridge
CAUTION:
- Always switch off the cleaner before installing or removing of the battery cartridge.
- Hold the cleaner and the battery cartridge firmly when installing or removing battery cartridge. Failure to hold the cleaner and the battery cartridge firmly may cause them to slip off your hands and result in damage to the cleaner and battery cartridge and a personal injury.
To remove the battery cartridge, slide it from the cleaner while sliding the button on the front of the cartridge. To install the battery cartridge, align the tongue on the battery cartridge with the groove in the housing and slip it into place. Insert it all the way until it locks in place with a little click. If you can see the red indicator on the upper side of the button, it is not locked completely.
CAUTION:
- Always install the battery cartridge fully until the red indicator cannot be seen. If not, it may accidentally fall out of the cleaner, causing injury to you or someone around you.
- Do not install the battery cartridge forcibly. If the cartridge does not slide in easily, it is not being inserted correctly.
Battery protection system
The cleaner is equipped with the protection system, which automatically cuts off the output power for its long service life. The cleaner stops during operation when the cleaner and/or battery are placed under the following situation. This is caused by the activation of protection system and does not show the cleaner trouble.
- When the cleaner is overloaded: At this time, press the “OFF” button and remove causes of overload and then press the “HIGH/LOW” button again to restart.
- When battery cells get hot: (refer to the note below.) If any operation of the “HIGH/LOW” button and the “OFF” button, the motor will remain stopped. At this time, stop use of the cleaner and cool or charge the battery cartridge after removing it from the cleaner.
- When the remaining battery capacity gets low: If any operation of the “HIGH/LOW” button and the “OFF” button, the motor will remain stopped. At this time, remove the battery cartridge from the cleaner and charge it.
Indicating the remaining battery capacity
Only for battery cartridges with the indicator
► 1. Indicator lamps 2. Check button
Press the check button on the battery cartridge to indicate the remaining battery capacity. The indicator lamps light up for a few seconds.
| Indicator lamps | Remaining capacity | ||
|
|
| |
| 75% to 100% | |||
| 50% to 75% | |||
| 25% to 50% | |||
| 0% to 25% | |||
![]() | Charge the battery. | ||
![]() | The battery may have malfunctioned. | ||
NOTE: Depending on the conditions of use and the ambient temperature, the indication may differ slightly from the actual capacity.
NOTE: The first (far left) indicator lamp will blink when the battery protection system works.
Switch action

► 1. HIGH/LOW button 2. OFF button
To start the cleaner, simply press the “HIGH/LOW” button. To switch off, press the “OFF” button. To change the cleaner speed, press the “HIGH/LOW” button. The first press on this button is for high speed and the second press for low speed and then each press on this button repeats the high/low speed cycle alternatively.
ASSEMBLY
CAUTION:
- Always be sure that the cleaner is switched off and the battery cartridge is removed before carrying out any work on the cleaner.
- Any work with the battery cartridge being installed on the cleaner may cause a personal injury or damage to the objects around the cleaner.
Installing dust bag
► 1. Dust outlet 2. Dust bag joint 3. Pins 4.
Dust bag Hold the square section of the dust bag joint and fit the pins inside the dust bag joint to the notches in the dust outlet of the cleaner and then insert and turn it clockwise all the way until it stops.
► 1. Hook
At this time, make sure that the fastener part on the dust bag faces upward.
NOTE:
• When the dust bag joint and the ring inside the dust bag come off, install as follows.
(1) Align the dust bag joint with the seam of the dust bag and install it so that its protrusion faces upward.
► 1. Protrusion
(2) Tighten the ring inside the dust bag firmly so that the pins and the ring are positioned as shown in the figure.
► 1. Pins 2. Ring
Installing the shoulder strap
► 1. Shoulder strap 2. Two hooks
Attach one end hook of the shoulder strap onto the ring in the front of the cleaner and thrust the other end of the strap through the band of the dust bag and then attach the other end hook as shown in the figure.
Adjusting the shoulder strap
► 1. Pull out 2. For shortening 3. For extending
To adjust the length of the shoulder strap, pull it out to your desired length and pull the strap in the direction of arrow as shown in the figure.
Connecting the hose
CAUTION:
- Do not force the hose to bend it and/or stamp it. Forcing and/or stamping the hose may cause deformation or damage to the hose.
- Do not pull the hose to carry the cleaner. Pulling the hose may cause deformation or damage to the hose.
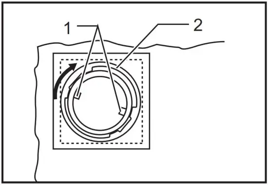
► 1. Dust outlet 2. Power tool
Insert the “A” end of the hose to the suction opening of the cleaner and turn it clockwise all the way until it locks. Attach the cuff on the “B” end of the hose and then connect it to the dust outlet of an power tool.
Replacing the front cuff
Change the front cuff of the hose according to the dust outlet size of a power tool you use.
► 1. Front cuff 2. Hose 3. Remove 4. Install
To remove the front cuff, hold the hose and turn it counterclockwise.
To mount the front cuff, turn it clockwise and then screw it in until it stops.
OPERATION
WARNING:
- Do not use the shoulder strap when working in a high place.
- When using the cleaner as a stationary cleaner, place it on a flat and stable surface.
Vacuum Cleaner
When using the cleaner as a portable cleaner, cross-hanging the shoulder strap before the breast is difficult to drop the cleaner.
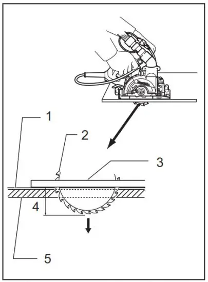
► 1. Decorative paper 2. Saw blade 3. Base 4. Cutting depth 5. Plaster board
NOTE:
- Long cut-off decorative paper that may be produced by plaster board cutting work depending on the conditions of workpiece to be cut and that may be stuffed inside the hose may cause the hose suction blocking. When this occurs, change the cutting depth setting of power tool to deeper depth, which will relieve the hose suction blocking.
CAUTION:
- When the dust bag is just new, dust may come out of its surface. Using it a few times will minimize the dust leak from the surface.
Operation of the cleaner with a nozzle or a dust bag being installed
WARNING:
- Always be sure that the cleaner is switched off and the battery cartridge is removed before installing or removing the nozzle or any other attachment on the cleaner. Failure to switch off and remove the battery cartridge may result in serious personal injury.
NOTE:
• Before the blower mode operation immediately after the cleaner mode operation, remove all remaining dust from the cleaner due to possible blow out of dust.
Using as a blower
► 1. Outlet (air vent) 2. Nozzle 3. Pin
Install the nozzle onto the outlet (air vent) without fail. To install the nozzle, fit the pin protruding from the inside of nozzle to one of the cleaner notches and then turn the nozzle clockwise securely. To remove the nozzle, turn counterclockwise and pull it out. Direct the top point of the cleaner and then switch on.
Emptying the dust bag
WARNING:
- Always be sure that both the cleaner and a connected power tool are switched off and the battery cartridge is removed and the power tool, if corded tool, is unplugged before installing or removing the dust bag on the cleaner and emptying the dust bag( made of cloth). Failure to switch off, remove the battery cartridge and unplug the connected power tool may result in electric shock and serious personal injury.
- When the dust bag is about half full, remove the dust bag from the cleaner and pull the fastener out. Empty the dust bag of its contents, tapping it lightly so as to remove particles adhering to the insides which might hamper further collection.
NOTE:
- For the time to empty the dust bag, use a guide line that the dust bag becomes full when drilling about 450 holes with 6.5 mm diameter and 40 mm depth on the concrete. A dust bag clogged with the built up particles may reduce the dust collection power and cause damage to the cleaner motor.
CAUTION:
- Attach the dust bag (made of cloth) to the dust bag joint securely and close the fastener completely before use. Failure to attach the dust bag securely and close its fastener completely may cause blow-out of dust and result in serious personal injury.
► 1. Dust bag joint 2. Square section
Pick up the square section of the dust bag joint firmly, turn it counterclockwise and then remove the dust bag.
Open the fastener and dispose of the dust.
CAUTION:
• Remove all particles adhering to the fastener area.
MAINTENANCE
WARNING:
- Always be sure that the cleaner is switched off and the battery cartridge is removed before attempting to perform inspection or maintenance.
Cleaning the filter area
CAUTION:
- Do not pick up materials other than dust , such as stone, wood chip and the like since this cleaner is intended for dust collection. Picking up stone, wood chip and the like may cause damage to the fan and the cleaner.
► 1. Filter area
Check and clean up the filter area in the suction inlet regularly. Remove foreign objects which will obstruct suction.
Cleaning
From time to time wipe off the outside (cleaner body) of the cleaner using a cloth dampened in soapy water.
CAUTION:
- Never use gasoline, benzine, thinner, alcohol or the like. Discoloration, deformation or cracks may result.
To maintain product SAFETY and RELIABILITY, repairs, any other maintenance or adjustment should be performed by Makita Authorized Service Centers, always using Makita replacement parts.
OPTIONAL ACCESSORIES
CAUTION:
- These accessories or attachments are recommended for use with your Makita cleaner specified in this manual. The use of any other accessories or attachments might resent a risk of injury to persons. Only use accessory or attachment for its stated purpose. If you need any assistance for more details regarding these accessories, ask your local Makita Service Center.
- Nozzles
- Dust bags
- Hoses
- Front cuffs
- Shoulder straps
- Makita genuine battery and charger
NOTE:
• Some items in the list may be included in the tool package as standard accessories. Theymay differ from country to country.
Makita Europe N.V.
Jan-Baptist Vinkstraat 2,
3070 Kortenberg, Belgium
Makita Corporation
3-11-8, Sumiyoshi-cho,
Anjo, Aichi 446-8502 Japan
Blinking
► 1. Dust outlet 2. Power tool
► 1. Dust bag joint 2. Square section
► 1. Filter area
















