Perixx Periduo-606 Wireless Mini Ergonomic Keyboard User Manual

Perixx’s warranty obligations are limited to the terms set forth below. Perixx warrants this hardware product against defects in materials and workmanship for a period of two (2) years from the date of original invoice.
If you discover a defect, Perixx will, at its option, repair or replace the product at no charge to you, provided you return it during the warranty period with shipping charges pre-paid to Perixx. You must contact Perixx for a Return Merchandise Authorization number (RMA) prior to returning any product. For each product returned for warranty service, please include your name, shipping address (no P.O. Box), telephone number, a copy of the bill of sale as proof of purchase and make sure that the package is clearly marked with your RMA number.
THE WARRANTY AND REMEDIES SET FORTH ABOVE ARE EXCLUSIVE AND IN LIEU OF ALL OTHERS, WHETHER WRITTEN, ORAL, EXPRESS OR IMPLIED. PERIXX SPECIFICALLY DISCLAIMS ANY AND ALL IMPLIED WARRANTIES, INCLUDING AND WITHOUT LIMITATION, WARRANTIES OF MERCHANTABILITY AND FITNESS FOR A PARTICULAR PURPOSE. NO PERIXX DEALER, AGENT, OR EMPLOYEE IS AUTHORIZED TO MAKE ANY MODIFICATION, EXTENTION OR ADDITION TO THIS WARRANTY.
PERIXX IS NOT RESPONSIBLE FOR SPECIAL, INCIDENTAL OR CONSEQUENTIAL DAMAGES RESULTING FROM ANY BREACH OF WARRANTY, OR UNDER ANY LEGAL THEORY, INCLUDING BUT NOT LIMITED TO LOST PROFITS, DOWNTIME, GOODWILL, DAMAGE TO OR REPLACEMENT OF EQUIPMENT OR PROPERTY AND ANY COST OF RECOVERING, REPROGRAMMING OR REPLRODUCING ANY PROGRAM OR DATA STORED IN OR USED WITH PERIXX PRODUCTS. PERIXX’S MAXIMUM LIABILITY FOR ANY AND ALL DAMAGES ARISING OUT OF USE OF THE PRODUCT SHALL BE LIMITED TO THE AMOUNTS PAID BY PURCHASER FOR SUCH PRODUCT.
Caution
- The manufacturer and re-resellers are not responsible for any malfunctions, damage, or personal injury incurred by:
► A misuse of the product
► Any attempt to dismantle, change or modify the product in any manner
► You are cautioned that changes or modifications not expressly approved by the party responsible for the compliance could void your authority to operate the equipment.
► Mandatory repair charges are required for the following conditions, within the guarantee period:
► Malfunction or damage is due to misuse or improper alteration or repair.
► Malfunction or damage caused by the falling after the purchase.
► Malfunction or damage is caused by a fire, salt, gas, earthquake, lighting, wind, water, or other natural calamities, or abnormal voltage.
► Malfunction or damage is caused by other devices connected to the keyboard. - All brand names, trademarks and logos are the properties of their respective owners.
Please Note: Long-term repetitive use of any keyboard could cause injury to user. Perixx recommends users avoid excessive use of this or any keyboard.
FCC Warning
This device complies with Part 15 of the FCC Rules. Operation is subject to the following two conditions:
(1) This device may not cause harmful interference, and (2) this device must accept any interference received, including interference that may cause undesired operation.
NOTE 1: This equipment has been tested and found to comply with the limits for a Class B digital device, pursuant to part 15 of the FCC Rules. These limits are designed to provide reasonable protection against harmful interference in a residential installation. This equipment generates uses and can radiate radio frequency energy and, if not installed and used in accordance with the instructions, may cause harmful interference to radio communications. However, there is no guarantee that interference will not occur in a particular installation. If this equipment does cause harmful interference to radio or television reception, which can be determined by turning the equipment off and on, the user is encouraged to try to correct the interference by one or more of the following measures:
– Reorient or relocate the receiving antenna.
– Increase the separation between the equipment and receiver.
– Connect the equipment into an outlet on a circuit different from that to which the receiver is connected.
– Consult the dealer or an experienced radio/TV technician for help.
NOTE 2: Any changes or modifications to this unit not expressly approved by the party responsible for compliance could void the user’s authority to operate the equipment.

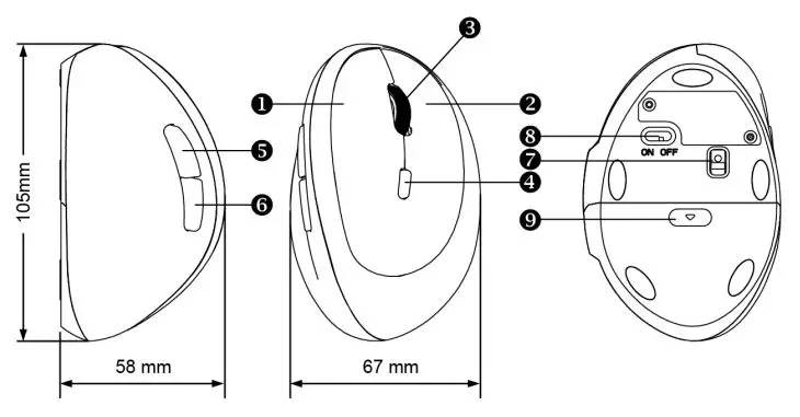
Product Illustration

- LED Indicators (Num Lock, Caps Lock and Scroll Lock)
- Scroll Wheel/Middle Click
- Keyboard Stand
- Position 1: For Removable Magnet Foot & Keyboard Stand
- Position 2: For Removable Magnet Foot
- Battery
- On/Off switch
- Connect Button

- Left Click Button
- Right Click Button
- Scroll Wheel/Middle Click
- DPI Switch
3DPI Levels: 800/1200/1600 DPI - Forward(Browser)
- Backward(Browser)
- Sensor
- On/Off Switch
- Battery Cover
Product Specification

Installation Process


Power Saving Mode & Battery Consumption
Power Saving mode helps to consume minimum power (when kept on) by turning off signal connection when the mouse is in Idle Mode and increases the battery life.
Keyboard

When the mouse is in power saving mode, click on any mouse button to reconnect. 2pcs of brand-new AAA battery (ll00mAh) provides up to 80 days of use when you use about two hours a day
Low Voltage Indicator:
Indicator (Num Lock) will flash 15 times
Mouse

When the mouse is in power saving mode, click on any mouse button to reconnect 2pcs of brand-new AAA battery (ll00mAh) provides up to 80 days of use when you use about two hours a day.
Caution
Please do not use rechargeable AAA battery with the product. The voltage spec of rechargeable battery (1.2V) is lower than the normal alkaline battery (1.SV), and your device may run out of power very soon if you use the rechargeable battery. With the optimal performance of the product, we recommend you to use the alkaline battery on the device.
Caution
- The manufacturer and re-resellers are not responsible for any technical malfunctions, damage, or personal injury incurred by:
► Any attempt to dismantle, change or modify the product in any manner
► Malfunction or damage due to misuse or improper alteration or repair.
► Malfunction or damage caused by external influence such as falling
► Malfunction or damage is caused by a fire, salt, gas, earthquake, lightning, wind, water, or other natural calamities, or abnormal voltage.
► Malfunction or damage is caused by other devices connected to the products.
► Malfunction or damage is caused by high temperature, humid, greasy, dusty and hazardous environment. - You are cautioned that changes or modifications not expressly approved by Perixx Computer GmbH could void your authority to operate the equipment.
- All brand names, trademarks and logos are the properties of their respective owners.
Please Note: Long-term repetitive use of any keyboard and mouse could cause injury to user. Perixx recommends users to avoid excessive use of this or any keyboard and mouse.
Thank you for purchasing a Perixx product. PEIRDUO-606 is a user friendly full size keyboard. It is an ideal solution for the office or home working space. It is easy to install and use with plug and play feature. There is no need to install any driver or software. You can use it with various applications like All-in-one PC, Notebook, and your Desktop PC.
System Requirements
Installation Process
The following steps initiate a connection process of the PERIDUO-606 to your PC.
- Turn ON the PC
- Insert Batteries
- Plug the USB Receiver into a free USB Port
- The device will be automatically detected by the PC, and it should be ready to work
- If the device is still not working, please repeat the process from step 1
- If the device is still not working, please repeat the process from step 1
- If the device is still not working, try to reboot the connection by unplugging your receiver from port and plug it back in again. Then, press and hold the connect button for 5 seconds.
Hot Keys





















