brother RJ-2030 2 Inch Receipt Printer with Bluetooth User Guide
Available Manuals
You can download the latest manuals from the Brother Solutions Center at support.brother.com
| Product Safety Guide *1,*2 | This guide provides safety information; read it thoroughly before using your printer. |
| Quick Setup Guide *1,*2 | This guide provides basic information about using your printer along with detailed troubleshooting tips. |
| User’s Guide *2 | This guide includes the contents of the Quick Setup Guide, and additional information about your printer settings,operations, safety precautions, network connection settings, troubleshooting tips, and maintenance instructions. |
| AirPrint Guide *2 | This guide provides information for using AirPrint to print from an iPad/iPhone/iPod device. |
| P-touch Template Manual *2 | This manual provides information on P-touch Template. |
| Raster Command Reference *2 | This manual provides information about printer control commands for controlling your printer directly. |
- Printed manual in the box
- PDF manual on the Brother Solutions Center website
Unpacking Your Printer
Check that the package contains the following before using your printer:
- Printer

- Rechargeable Li-ion Battery

- Belt Clip

- Quick Setup Guide

- Product Safety Guide

- Phillips Screws (2 ea)

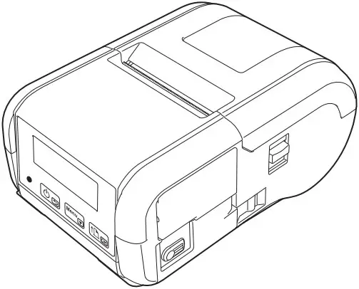
General Description

- LCD
- Paper exit slot
- Media roll compartment cover
- Media roll cover open lever
- Interface cover
- Battery cover
- Battery latch
- DC connector
- Mini-USB port
- Battery compartment
- (Feed) button/OK button (To feed the paper or print your printer settings)
- Menu button/▼ button
- (Power) button/Back button (To turn your printer on/off)
- LED indicator
Battery Installation/Removal
Installing the Battery (PA-BT-003)
- Move the battery cover lock to the unlock position, and then open the battery cover.

- Insert the battery into the battery compartment until the battery latch locks into place. Make sure that the terminal end of the battery is facing inwards and oriented correctly as shown. Do NOT use excessive force to install the battery

- Close the battery cover, and then move the battery cover lock to the lock position.

Removing the Battery
- Move the battery cover lock to the unlock position, and then open the battery cover.

- While pushing the battery latch, remove the battery.

- Close the battery cover, and then move the battery cover lock to the lock position.

Recharging the Battery
- Make sure that the rechargeable Li-ion battery is installed in your printer.
- Use the compatible Brother AC adapter and AC power cord to connect your printer to an AC power socket (see Recharging the Battery using the AC Adapter (PA-AD-600) (Optional)), or use the Brother compatible car adapter to connect your printer to a DC power socket (see Recharging the Battery using the Car Adapter (Optional).
- Battery latch
- The LED indicator light is orange when the battery is charging. When the rechargeable Li-ion battery is fully charged, the LED indicator turns off (when power is turned off) or lights in green (when power is turned on). Disconnect the AC adapter or car adapter from the battery’s DC connector.
For more information, see the User’s Guide
Recharging the Battery using the AC Adapter (PA-AD-600) (Optional)
- Make sure that the rechargeable Li-ion battery is installed in your printer.
- Open the interface cover and connect the AC adapter to your printer.
- Connect the AC power cord to the AC adapter.
- Connect the AC power cord to a nearby AC power socket (100 – 240 VAC, 50 – 60 Hz

- AC adapter
- AC power cord
Recharging the Battery using the Car Adapter (Optional)
Connect your printer to your vehicle’s 12 V DC power socket (cigarette lighter or similar) to charge the rechargeable battery.
- Make sure that the rechargeable Li-ion battery is installed in your printer.
- Connect the car adapter to the vehicle’s 12 V DC power socket.
- Open the interface cover and connect the car adapter to your printer.

- Car adapter
Recharging the Battery using the Battery Charger (Optional)
The optional battery charger can also be used for charging the battery outside of the printer. For more information, see the operation manual that is included with the battery charger.
Stopping Rechargeable Li-ion Battery Charging
To stop the battery charging, disconnect the AC adapter or car adapter from the DC connector.
Notes on Using the Rechargeable Li-ion Battery
- High density (dark) printing discharges the battery faster than low density printing. You can adjust the print density setting in the Printer Setting Tool (see the User’s Guide).
- The battery charging must take place between 5 and 35°C environments, otherwise the battery will not be charged. If the charging stops because the environment temperature is too low or too high, place your printer in an environment with a temperature between 5 and 35°C and try charging again.
- If you use your printer when both the battery is installed and the AC adapter or car adapter is connected, charging may stop even if the battery is not fully charged.
Rechargeable Li-ion Battery Characteristics
To ensure the highest performance and longest life from the battery:
- Do not use or store the battery in a location exposed to extreme high or low temperatures as it may deteriorate more quickly.
- Remove the battery when storing your printer for long periods of time.
- Store batteries with less than a 50% charge in a cool dry place out of direct sunlight.
- Recharge the battery every six months if it is stored for long periods of time.
- It is normal and safe for the printer to become warm while charging. Disconnect the charger and stop using the printer if it becomes hot to the touch.
Setting the Paper or Label Roll
For RJ-2030/2050
- Pull the cover open lever in the direction shown to open the media roll compartment cover.

- Cover open lever
- Insert the media roll into the media roll compartment with the roll feeding
from the bottom as shown.
- Print surface (faces outwards on the roll)
- Close the media roll compartment by pressing down on the centre of the cover until it locks into place.
For RJ-2140/2150
- Pull the cover open lever in the direction shown to open the media roll compartment cover.
- Cover open lever

- Cover open lever
- Open the roll guides by lifting up the roll guide adjustment lever and pulling the roll guide outwards. Insert the media roll into the media roll compartment with the roll feeding from the bottom as shown.
- Roll guide adjustment lever
- Roll guide
- Print surface (faces outwards on the roll)

- While lifting up the roll guide adjustment lever, push in both roll guides to the roll width. Insert the media roll so that it is positioned straight in the media roll compartment.

- Close the media roll compartment by pressing down on the centre of the cover until it locks into place.
Turning Your Printer On or Off
On: Press and hold the (Power) button until the LCD turns on.
Off: Press and hold the (Power) button until the message [System Off] appears on the LCD.
IMPORTANT
Do NOT remove the battery until the LCD turns off.
Setting the Language of the LCD
- Press the [Menu], [b] button to select the [Settings] menu, and then press the [OK] button.
- Select [ Language], and then press the [OK] button.
- Select a language, and then press the [OK] button.
LED Indicators
The indicator lights and flashes to indicate your printer’s status. The symbols used in this section explain the meaning of the different indicator colours and patterns:
Indicator is lit
Indicator is flashing
Off: Indicator is off
G = Green
O = Orange
R = Red
Example: G = Indicator is flashing green
| Indicator status | Condition |
| (Off) | Power offCharging complete (when power is turned off) |
| G | Battery level: one-third or moreCharging complete (when power is turned on) |
| O | Charging |
| O | Battery level: low |
R | Rechargeable battery error Battery level: empty Wrong media errorCover open error System errorMass storage error Communication error WPS connection error Memory full error Database search error No template error |
Driver and Software Installation
To print from your Windows® computer, install the printer driver, P-touch Editor and other applications on your computer:
- Visit install.brother and download the installer for the latest software and manuals.
- Double-click the downloaded .exe file and follow the on-screen instructions to proceed with the installation.
NOTE
To connect your printer to a computer using a wireless connection, we recommend the following:- Configure the wireless network settings while installing the software. You can change the settings later using the Printer Setting Tool. For more information, see the User’s Guide.
- Install the software on a computer wirelessly connected to your network and configure your printer using a USB cable.
- Get the SSID (network name) and password (network key) of the wireless network in advance.
- If your wireless access point/router supports WPS, you can use WPS (Wi-Fi Protected Setup) to quickly configure the wireless network settings.
- Close the dialog box when the installation is complete
Connecting to a Host Device
Your printer can be connected to your computer or mobile device using a USB cable or via a Bluetooth connection (RJ-2030/2050/2150 only) or Wi-Fi connection (RJ-2050/2140/2150 only). For more information, see the User’s Guide.
Connecting Using USB
- Make sure your printer is turned off before connecting the USB cable.
- Connect the printer end of the USB cable to the mini-USB port on the side of your printer.
- Connect the other end of the USB cable to the USB port on the computer.
Connecting Using Bluetooth (RJ-2030/2050/2150 only)
Use this procedure to pair your printer with the computer or mobile device using the Bluetooth management software:
- Press the [Menu] button to select the [Bluetooth] menu, and then press the [OK] button. Select [On].
- Use your Bluetooth device management software to discover your printer.
NOTE
Follow the recommendations of the manufacturer of your Bluetooth-equipped devices (computers and mobile devices) or Bluetooth adapter and install any necessary hardware and software.
- The Bluetooth connection settings are saved even after your printer is turned off.
- If your device cannot discover your printer using Bluetooth, your printer may be connected to another device. Use the connected device to end the Bluetooth connection with your printer, or turn your printer off and on again.
- If you close the cover of the device while transmitting data, the communication may be interrupted.
- If your printer becomes disconnected because the mobile device is moved away from your printer, select “Bluetooth” in the device settings, and then tap the device you want to connect to from the list of Bluetooth devices
Connecting Using Wi-Fi® (RJ-2050/2140/2150 only)
- Press the [Menu], [b] button to select the [WLAN] menu, and then press the [OK] button. Set [On/Off] to [On].
- Use your computer or mobile device to select the SSID of your printer (“DIRECT-*****_RJ-XXXX”). If required, enter the password (“205*****” for RJ-2050, “214*****” for RJ-2140, or “215*****” for RJ-2150). ***** is the last five digits of the serial number.
NOTE
For more information about connecting using Wi-Fi, see the User’s Guide.
Printing Receipts or Labels
- Install the printer driver and software downloaded from the Brother website. (See Driver and Software Installation.)
- Make sure that your printer is powered with a charged battery.
- Turn your printer on.
- Connect your printer to a computer or mobile device using either a USB cable, Bluetooth, or Wi-Fi.
- Insert the media roll.
- Print receipts or labels.
For more information, see the User’s Guide
Removing the Receipt/Label Roll
For RJ-2030/2050
- Pull the cover open lever in the direction shown to open the media roll compartment cover.

- Remove the roll.

NOTE
It is not necessary to adjust the roll holder once it is correctly adjusted to the media roll width.
For RJ-2140/2150
- Pull the cover open lever in the direction shown to open the media roll compartment cover.

- While pushing the roll release lever, tilt the roll guide slightly, and then remove the roll. The roll can be removed without changing the position of the roll guide. Do not forcefully tilt the roll guide too far. Otherwise, the roll guide could break.
- Roll release lever

- Roll release lever
Attaching the Belt Clip
The printer can be carried on your belt by attaching the included belt clip. Follow the instructions below to attach the clip to the printer and your belt. You can attach the included clip to your printer and secure it to your belt.
- Secure the belt clip to the rear of your printer using the Phillips-head screws as shown:
- Belt clip
- Phillips screw

- Attach the clip to your belt.

- Turn the clip as shown to lock the belt clip.

- Turn the clip to the left or right to unlock the belt clip.

IMPORTANT
Make sure you attach the belt clip securely to your printer and to your belt. There is a risk of injury or damage if the belt clip is not attached securely and your printer falls.
Troubleshooting
| Problem | Possible Solutions |
| Your printer cannot connect to the host device using Wi-Fi or Bluetooth. | n Move your printer within about one metre of the mobile device when you configure the Wi-Fi network settings.n Move your printer to an obstruction-free area.n If a wireless computer, Bluetooth-equipped device, microwave oven, digital cordless phone, or other device is near your printer or the wireless access point/router, move the device away from your printer or wireless access point/router. |
| Your printer cannot print using Wi-Fi or Bluetooth. | |
| Your printer does not feed paper. | n Is there dirt or lint on the roller preventing it from rolling freely?Clean the roller. (See Maintenance.)n Check that the ejection path of the paper is not blocked.n Check that the media roll is set correctly by removing the media roll and reinstalling. (See Removing the Receipt/Label Roll and Setting the Paper or Label Roll.)n Ensure that the media roll compartment cover is closed correctly. |
| Your printer feeds paper continuously. | n Open the media roll compartment cover.n Press the (Power) button to cancel the print job.n Turn your printer off. |
| Does not stop in betweenlabels. | n Check that you entered the mediainformation correctly. You can set the mediainformation using Paper Size Setup in thePrinter Setting Tool.n Check that the sensor is not dirty. If thesensor is dirty, wipe it with a dry cotton swab.
|
| Your printer is not connected correctly to the network. | Check the WLAN icon on the LCD. : The network is connected correctly. : Your printer is searching for the network.No icon : The wireless network settings are disabled. |
Maintenance
Maintenance of your printer may be carried out as required. However, some environments may require carrying maintenance out more frequently (for example, dusty environments).
- Print Head Maintenance
Wipe the print head with a dry, lint-free cloth moistened with isopropyl alcohol or ethanol. Carry out the maintenance frequently- Print head

- Roller

- Paper exit slot

- Print head
- Roller Maintenance
Wipe the roller with a dry, lint-free cloth moistened with isopropyl alcohol or ethanol. After cleaning the roller, make sure that no lint or other material remains on the roller. - Paper Exit Slot Maintenance
If adhesive accumulates at the paper exit slot and media becomes jammed, clean the paper exit slot with a cloth slightly moistened with isopropyl alcohol.
Product Specifications
| Model Name | RJ-2030/2050/2140/2150 |
| Dimensions | RJ-2030/2050Approximately 100 (D) x 122 (W) x 57 (H) mmRJ-2140/2150Approximately 100 (D) x 151 (W) x 73 (H) mm |
| Weight | RJ-2030/2050Approximately 465 g (including battery)RJ-2140/2150Approximately 545 g (including battery) |
| Printing | |
| Media size | RJ-2030/205058 mmRJ-2140/215025.4 – 58 mm |
| Method | Direct thermal printing |
| Interface | |
| USB | USB Ver. 2.0 (Full Speed) (mini-B) |
| Bluetooth(RJ-2030/2050/2150 only) | RJ-2030Ver 2.1 + EDRSupported profiles: SPP, OPP, BIP, HCRPRJ-2050/2150Ver 2.1 + EDRSupported profiles: SPP, OPP, BIP, HCRP Supported protocol: iAP |
| Wi-Fi(RJ-2050/2140/2150 only) | • Wireless Direct: IEEE 802.11g/n• Ad-hoc Mode: IEEE 802.11b/g/n• Infrastructure Mode: IEEE 802.11b/g/n |
| Environment | |
| Operating temperature | Printing: -10 – 50°C Charge: 5 – 35°C |
| Operating humidity | 10 – 90% (No condensation, Maximum wet bulb temperature: 27 °C) |
| Storage temperature | -20 – 60°C |
| Storage humidity | 10 – 90% (No condensation, Maximum wet bulb temperature: 45 °C) |
Printing the Printer Information
You can use the (Feed) button to print a report that lists the following printer information:
- Program version
- Printer usage history
- Missing dot test pattern
- Printer setting information
- List of transferred data
- Network setting information
NOTE
- You can use the Printer Setting Tool to set in advance which items will be printed.
- The node name appears in the Printer Settings. The default node name is “BRWxxxxxxxxxxxx”. (“xxxxxxxxxxxx” is based on your printer’s MAC Address / Ethernet Address.)
- This operation can also be performed using the Printer Setting Tool.
- Make sure that a roll of receipt paper has been loaded and the media roll compartment cover is closed.
- Turn on your printer.
- Press and hold the (Feed) button until “Printing” appears on the LCD. The printer information will print.
Useful Websites
Brother Global Web Site: www.brother.com
Brother Developer Center: www.brother.com/product/dev
For Frequently Asked Questions (FAQs), Product Support and Technical
Questions, and Driver Updates and Utilities: support.brother.com
References
setup.brother.com | Official Machine setup site | Brother
United States | Brother support website
United States | Brother support website
Brother: Products, Services & Solutions from Home Office to Corporate
Brother: Products, Services & Solutions from Home Office to Corporate
Information for Label Printer, Label Writer and Mobile Printer Developers | Brother
Information for Label Printer, Label Writer and Mobile Printer Developers | Brother













































