BLACK DECKER BHFEA420J Powerseries Cordless Stick Vacuum Cleaner

Intended use
Your BLACK+DECKER BHFEA420J, BHFEA515J, BHFEA520J cordless vacuum cleaners have been designed for vacuum cleaning purposes. These appliances are intended for household use only.
![]() | Read all of this manual carefully before operating the appliance. |
Safety instructions
![]() | Warning! Read all safety warnings and all instructions. Failure to follow the warnings and instructions listed below may result in electric shock, fire and/or serious injury. |
- The intended use is described in this manual. The use of any accessory or attachment or the performance of any operation with this appliance other than those recommended in this instruction manual may present a risk of personal injury.
- Retain this manual for future reference.
- This appliance contains batteries that are only replaceable by skilled persons.
Using your appliance
- Do not use the appliance to pick up liquids or any materials that could catch fire.
- Do not use without dust bag and/or filters in place
- Do not use the appliance near water.
- Do not immerse the appliance in water
- Never pull the charger lead to disconnect the charger from the socket. Keep the charger lead away from heat, oil and sharp edges.
- This appliance can be used by children aged from 8 years and above and persons with reduced physical, sensory or mental capabilities or lack of experience and knowledge if they have been given supervision or instruction concerning use of the appliance in a safe way and understand the hazards involved. Children shall not play with the appliance. Cleaning and user maintenance shall not be made by children without supervision.
Inspection and repairs
Before use, check the appliance for damaged or defective parts. Check for breakage of parts, damage to switches and any other conditions that may affect its operation.
- Do not use the appliance if any part is damaged or defective.
- Have any damaged or defective parts repaired or replaced by an authorized repair agent.
- Regularly check the charger lead for damage. Replace the charger if the lead is damaged or defective.
- Never attempt to remove or replace any parts other than those specified in this manual.
Additional safety instructions
After use
- Unplug the charger before cleaning the charger or charging base.
- When not in use, the appliance should be stored in a dry place.
- Children should not have access to stored appliances.
Residual risks
Additional residual risks may arise when using the tool which may not be included in the enclosed safety warnings. These risks can arise from misuse, prolonged use etc.
Even with the application of the relevant safety regulations and the implementation of safety devices, certain residual risks can not be avoided. These include
- Injuries caused by touching any rotating/moving parts.
- Injuries caused when changing any parts, blades or accessories.
- Injuries caused by prolonged use of a tool. When using any tool for prolonged periods ensure you take regular breaks.
- Impairment of hearing.
- Health hazards caused by breathing dust developed when using your tool (example:- working with wood, especially oak, beech and MDF.)
Chargers
Your charger has been designed for a specific voltage. Always check that the mains voltage corresponds to the voltage on the rating plate.
Warning! Never attempt to replace the charger unit with a regular mains plug.
- Use your BLACK+DECKER charger only to charge the battery in the appliance with which it was supplied. Other batteries could burst, causing personal injury and damage.
- Never attempt to charge nonrechargeable batteries.
- If the supply cord is damaged, it must be replaced by the manufacturer or an authorised BLACK+DECKER Service Centre in order to avoid a hazard.
- Do not expose the charger to water.
- Do not open the charger.
- Do not probe the charger.
- The appliance/battery must be placed in a well ventilated area when charging.
Electrical safety
Symbols on the charger
![]() | Read all of this manual carefully before using the appliance |
![]() | This tool is double insulated; therefore no earth wire is required. Always check that the power supply corresponds to the voltage on the rating plate. |
![]() | The charging base is intended for indoor use only |
Labels on appliance
The following symbols appear on this appliance along with the date code
![]() | Read all of this manual carefully before using the appliance |
| use charger S010QV2300040/ S010QB2300040/SSC-230040EU/ SSC-230040UK |
Features
This tool includes some or all of the following features.
- On/off power button
- Charging port
- State of charge indicator
- Dust bowl relase button
- Clear dust bowl
- Cyclonic filter assembly
- Extension pole release button
- Extension pole
- Floorhead (with in-built floor sense)
- Beater bar release button
- Crevice tool
- Charger
- Storage station

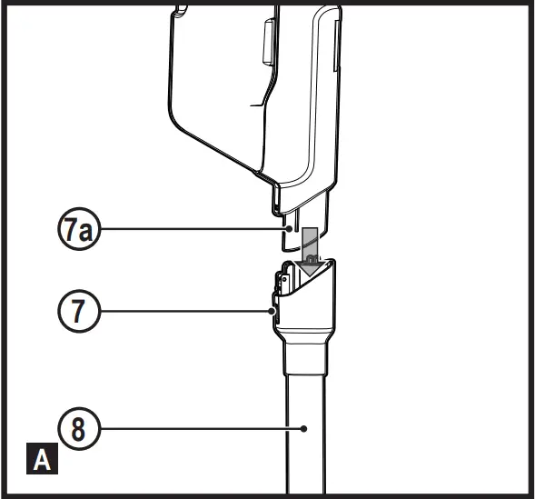
Assembly (Fig. A)
- Align the top of the extension tube (8) with the vacuum inlet (7a) as shown in Fig. A.
- Push the extension tube (8) onto the vacuum inlet (7a) so it locks into position.
- To remove an the extension tube, press the extension tube release button (7) and gently pull the extension tube off
Warning! When not in use position the unit with the rear of the vacuum facing a wall so that any inadvertent fall of the unit would contact a wall and not people or pets.

Charging the battery (Fig. B)
Warning! Use only with the supplied charger. From new, the rechargeable cells of the product need a minimum charge time of 5 hours to ensure full power.
- The unit must be turned Off in order to charge.
- Plug the jack plug (12a) of the charger (12) into the charging port (2) of the vacuum.
- Plug the charger into a standard electrical outlet.
- While charging, the charger may get warm, this is perfectly normal and safe. It is safe to leave the appliance connected to the charger indefinitely. The charger automatically reduces power consumption when charging is complete.
Warning! Do not charge the battery at ambient temperatures below 4 °C or above 40 °C. Follow all charging instructions and do not charge the appliance outside of the temperature range specified in the instructions. Charging improperly or at temperatures outside of the specified range may damage the battery and increase risk of fire.

State of charge indicator (Fig. C)
This appliance include a state of charge indicator (3) which consists of three LED lights that indicate the level of charge remaining in the battery. This feature is only activated when the vacuum is powered on and when the vacuum is on charge.
The state of charge indicator is an indication of approximate levels of charge remaining in the battery pack
The LED battery indicator displays the remaining charge and warns you when the battery is low. The final LED will flash continuously when there is only very little runtime remaining.
Note: The state of charge indicator is only an indication of the charge left on the battery. It does not indicate tool functionality and is subject to variation based on product components, temperature and end-user application
Use
This vacuum cleaner can be used in one of two ways
- With the extension tube (8) and the floor head (9) as.
- With the crevice tool (11) and the vacuum.

Mounting accessories (Fig. D)
- The crevice tool (11) allows for vacuuming in narrow and hard to-reach places.
- To attach the crevice tool (11) press into vacuum inlet (7a) so it locks into position as shown in figure D.
- To release the crevice tool (11) press the crevice tool release button (11a) and gently pull the extension tube off

Switching ON and OFF (Fig. E)
- To switch ON, push the on/off power button (1).
- For increased power, push the On/Off button (1) again.
- Push the On/Off button (1) a third time to turn the unit off.
Note: The state of charge indicator LEDs (3) will illuminate while the vacuum is ON. - To switch OFF, slide the on/off power switch (1) to the “O“ position.
- Return the product to the charger immediately after use so that it will be ready and fully charged for the next use. Ensure that the product is fully engaged with the charger plug.

Floorsense
Floorsense is active in the low speed. When a carpet is detected, the performance of the unit is automatically increased to high speed. When a hardfloor is detected, the performance of the unit reduces to low speed.
Cleaning and emptying the vacuum
Warning! Projectile/Respiratory Hazard: Never use the vac without its filter.
Warning! The filter is re-usable, do not confuse it with a disposable dust bag, and do not throw it away when the product is emptied. We recommend that you replace the filter every 6–9 months depending on frequency of use.
To empty the dust canister (Fig. F, G, H, I)
- Push down the dust canister release button (4) to release and remove the dust canister (5) from the vacuum
- Use your index finger and thumb to pinch the filter housing tabs and pull the filter housing (6) from the dust canister as shown in figure G.
- Place the dust canister over a trash can and empty the dust canister as illustrated in figure H.
- Remove the foam filter (6a) from the filter housing as shown in figure I.
- Shake or lightly brush any loose dust off of the foam filter (6a) and filter (6).
- Rinse out the dust canister (5) with warm soapy water.
- Wash the filters with warm soapy water.
- Ensure the filters are completely dry before refitting the filters into the filter housing.
- Refit the clean and dry foam filter (6a) into the filter housing (6).
- Install the filter housing into the dust canister (5).
- Install the dust canister onto the vacuum, until it “clicks” firmly into position.



Removing and cleaning the beater bar (Fig. J, K)
Warning! To reduce the risk of injury from moving parts, disconnect the floor head and extension tube from the vacuum before cleaning or servicing.
- To remove the beater bar (9b) from the floor head (9) Slide the beater bar release button (9a) to the rear of the unit.
- The beater bar (9b) can now be removed and cleaned.


Safe storage (Fig. L)
The unit can be safely stored, when not in use, by placing the catch on the rear of the motor unit onto the storage station (13) as shown in figure L.

Maintenance
Your BLACK+DECKER cordless appliance has been designed to operate over a long period of time with a minimum of maintenance. Continuous satisfactory operation depends upon proper tool care and regular cleaning.
Warning! Before performing any maintenance on cordless appliances
- Run the battery down completely if it is integral and then switch off.
- Unplug the charger before cleaning it. Your charger does not require any maintenance apart from regular cleaning.
- Regularly clean the ventilation slots in your appliance/ charger using a soft brush or dry cloth.
- Regularly clean the motor housing using a damp cloth. Do not use any abrasive or solvent-based cleaner.
Replacing the filters
The filters should be replaced every 6 to 9 months and whenever worn or damaged. Replacement filters are available from your BLACK+DECKER dealer.
- Remove the old filters as described above.
- Fit the new filters as described above.
Protecting the environment
![]() | Separate collection. Products and batteries marked with this symbol must not be disposed of with normal household waste. |
Products and batteries contain materials that can be recovered or recycled reducing the demand for raw materials. Please recycle electrical products and batteries according to local provisions. Further information is available at www.2helpU.com
Technical Data
| BHFEA420J | BHFEA515J | BHFEA520J | |
| Voltage | 14.4v | 18v | 18v |
| Watt Hours | 28.8Wh | 27Wh | 36Wh |
| Approx Charge Times | 5 hours | 4 hours | 5 hours |
| Weight | 2.56KG | 2.61 | 2.62KG |
Guarantee
Black & Decker is confident of the quality of its products and offers consumers a 24 month guarantee from the date of purchase. This guarantee is in addition to and in no way prejudices your statutory rights. The guarantee is valid within the territories of the Member States of the European Union and the European Free Trade Area.
To claim on the guarantee, the claim must be in accordance with Black&Decker Terms and Conditions and you will need to submit proof of purchase to the seller or an authorised repair agent. Terms and conditions of the Black&Decker 2 year guarantee and the location of your nearest authorised repair agent can be obtained on the Internet at www.2helpU.com, or by contacting your local Black & Decker office at the address indicated in this manual.
Please visit our website www.blackanddecker.co.uk to register your new Black & Decker product and receive updates on new products and special offers.

References
Ηλεκτρικά Εργαλεία | Εργαλεία Κήπου | Οικιακές συσκευές | BLACK+DECKER
2helpU
Power Tools | Garden Tools | Household Products | BLACK+DECKER
Elektrowerkzeuge | Gartengeräte | Haushaltsprodukte | BLACK+DECKER
Elektrisch gereedschap | Tuingereedschap | Huishoudproducten | BLACK+DECKER
Elektrowerkzeuge | Gartengeräte | Haushaltsprodukte | BLACK+DECKER
Power Tools | Garden Tools | Household Products | BLACK+DECKER
Elektrikli El Aletleri, Bahçe, Aksesuarlar | BLACK+DECKER
Elektrowerkzeuge | Gartengeräte | Haushaltsprodukte | BLACK+DECKER
Elværktøj | Haveredskaber | Husholdningsprodukter | BLACK+DECKER
Herramientas Eléctricas | Herramientas de Jardin | Pequeños Electrodomésticos | BLACK+DECKER
Sähkötyökalut | Puutarhatyökalut | Kotitaloustuotteet | BLACK+DECKER
Bricolage | Outils de Jardin | Petit Electroménager | BLACK+DECKER
Ηλεκτρικά Εργαλεία | Εργαλεία Κήπου | Οικιακές συσκευές | BLACK+DECKER
Elettroutensili | Utensili da giardino| Pulizia della casa | BLACK+DECKER
Elektrisch gereedschap | Tuingereedschap | Huishoudproducten | BLACK+DECKER
Elektroverktøy | Hageprodukter | husholdning produkterBLACK+DECKER
Ferramentas Elétricas | Ferramentas de Jardim | Pequenos Eletrodomésticos | BLACK+DECKER
Elverktyg | Trädgård | Hushåll | BLACK+DECKER




S010QV2300040/S010QB2300040/

















