scheppach 5903205901 Wet Sharpening System Tiger5000s

Explanation of the symbols on the device
Symbols are used in this manual to draw your attention to potential hazards. The safety symbols and the accompanying explanations must be fully understood. The warnings themselves will not rectify a hazard and cannot replace proper accident prevention measures.
![]() | Read the operating and safety instructions before start-up and follow them! |
![]() | Wear eye protection! |
![]() | Wear hearing protection! |
![]() | If dust builds up, wear respiratory protection! |
![]() | Danger of injury due to a rotating tool! Keep your hands away. |
![]() | Keep third-parties away from the danger zone. |
| We have marked points in these operating instructions that impact your safety with this symbol. |
Introduction
Manufacturer:
scheppach
Fabrikation von Holzbearbeitungsmaschinen GmbH Günzburger Straße 69
D-89335 Ichenhausen
Dear Customer,
we hope your new tool brings you much enjoyment and success.
Note:
According to the applicable product liability laws, the manufacturer of the device does not assume liability for damages to the product or damages caused by the product that occurs due to:
- Improper handling,
- Non-compliance of the operating instructions,
- Repairs by third parties, not by authorized service technicians,
- Installation and replacement of non-original spare parts,
- Application other than specified,
- A breakdown of the electrical system that occurs due to the non-compliance of the electric regulations and VDE regulations 0100, DIN 57113 / VDE0113.
We recommend:
Read through the complete text in the operating instructions before installing and commissioning the device.
The operating instructions are intended to help the user to become familiar with the machine and take advantage of its application possibilities in accordance with the recommendations.
The operating instructions contain important information on how to operate the machine safely, professionally and economically, how to avoid danger, costly repairs, reduce downtimes and how to increase reliability and service life of the machine.
In addition to the safety regulations in the operating instructions, you have to meet the applicable regulations that apply for the operation of the machine in your country.
Keep the operating instructions package with the machine at all times and store it in a plastic cover to protect it from dirt and moisture.
Read the instruction manual each time before operating the machine and carefully follow its information. The machine can only be operated by persons who were instructed concerning the operation of the machine and who are informed about the associated dangers. The minimum age requirement must be complied with. In addition to the safety instructions contained in this operating manual and the specific regulations of your country, the technical rules generally accepted for the operation of machines of the same type must be observed.
We accept no liability for damage or accidents which arise due to non-observance of these instructions and the safety information.
Device description
- Workpiece support
- Upper mount, workpiece support
- Star grip screw
- Leather honing wheel
- Machine housing
- On/off switch
- Rubber feet
- Water tank
- Washer
- Grinding shaft
- Nut
- Grindstone
- Fixture for chisel
- Star grip screw for leather honing wheel
- Side mount, workpiece support
- Holder for water tank
- Angle gauge
- Fixture for axes (optional accessory)
- Fixture for blade (optional accessory)
- Clamping screw
- Locking screw
- Adjusting ring
- Star grip screw, rear

Scope of delivery
- Wet grinding machine
- Grindstone
- Workpiece support
- Star grip screw for workpiece support
- Angle gauge
- Honing compound
- Fixture for chisel
- Fixture for blade (optional accessory)
- Fixture for axes (optional accessory)
- Operating manual
Proper use
The wet grinding machine is constructed exclusively for use with the tool offered for grinding steel (no carbide).
- The machine complies with the applicable EC machinery directive.
- Observe all safety information and danger notices on the machine.
- Ensure that all of the safety information and danger notices on the machine are complete and in legible condition.
- Only use the machine when in a technically faultless condition, appropriately and in compliance with the operating manual and with full knowledge of safety and hazards! In particular, rectify malfunctions that could impair safety immediately (or commission rectification works accordingly)!
- The manufacturer’s safety, operating and maintenance specifications as well as the dimensions given in the technical data must be observed.
- Relevant accident prevention regulations and other generally recognized safety and technical rules must also be observed.
- The machine may only be used, maintained or repaired by trained persons who are familiar with it and have been informed of the dangers. Any liability of the manufacturer for damages resulting from arbitrary changes to the machine is excluded.
- The machine is intended for use only with original accessories and original tools from the manufacturer.
- Any use beyond this is improper use. The manufacturer is not responsible for the resultant damages, the user bears this risk alone.
Please observe that our equipment was not designed with the intention of use for commercial or industrial purposes. We assume no guarantee if the equipment is used in commercial or industrial applications, or for equivalent work.
General safety information
General power tool safety warnings
WARNING!
Read all safety warnings, instructions, illustrations and specifications provided with this power tool.
Failure to follow all instructions listed below may result in electric shock, fire and/or serious injury.
Save all warnings and instructions for future reference.
The term “power tool” in the warnings refers to your mains-operated (corded) power tool or battery-operated (cordless) power tool.
- Work area safety
a) Keep work area clean and well lit. Cluttered or dark areas invite accidents.
b) Do not operate power tools in explosive atmospheres, such as in the presence of flammable liquids, gases or dust. Power tools create sparks which may ignite the dust or fumes.
c) Keep children and bystanders away while operating a power tool. Distractions can cause you to lose control. - Electrical safety
a) Power tool plugs must match the outlet. Never modify the plug in any way. Do not use any adapter plugs with earthed (grounded) power tools. Unmodified plugs and matching outlets will reduce risk of electric shock.
b) Avoid body contact with earthed or grounded surfaces, such as pipes, radiators, ranges and refrigerators. There is an increased risk of electric shock if your body is earthed or grounded.
c) Do not expose power tools to rain or wet conditions. Water entering a power tool will increase the risk of electric shock.
d) Do not abuse the cord. Never use the cord for carrying, pulling or unplugging the power tool. Keep cord away from heat, oil, sharp edges or moving parts. Damaged or entangled cords increase the risk of electric shock.
e) When operating a power tool outdoors, use an extension cord suitable for outdoor use. Use of a cord suitable for outdoor use reduces the risk of electric shock.
f) If operating a power tool in a damp location is unavoidable, use a residual current device (RCD) protected supply. Use of an RCD reduces the risk of electric shock. - Personal safety
a) Stay alert, watch what you are doing and use common sense when operating a power tool. Do not use a power tool while you are tired or under the influence of drugs, alcohol or medication. A moment of inattention while operating power tools may result in serious personal injury.
b) Use personal protective equipment. Always wear eye protection. Protective equipment such as a dust mask, non-skid safety shoes, hard hat or hearing protection used for appropriate conditions will reduce personal injuries.
c) Prevent unintentional starting. Ensure the switch is in the off-position before connecting to power source and/or battery pack, picking up or carrying the tool. Carrying power tools with your finger on the switch or energising power tools that have the switch on invites accidents.
d) Remove any adjusting key or wrench before turning the power tool on. A wrench or a key left attached to a rotating part of the power tool may result in personal injury.
e) Do not overreach. Keep proper footing and balance at all times. This enables better control of the power tool in unexpected situations.
f) Dress properly. Do not wear loose clothing or jewellery. Keep your hair and clothing away from moving parts. Loose clothes, jewellery or long hair can be caught in moving parts.
g) If devices are provided for the connection of dust extraction and collection facilities, ensure these are connected and properly used. Use of dust collection can reduce dust-related hazards.
h) Do not let familiarity gained from frequent use of tools allow you to become complacent and ignore tool safety principles. A careless action can cause severe injury within a fraction of a second. - Power tool use and care
a) Do not force the power tool. Use the correct power tool for your application. The correct power tool will do the job better and safer at the rate for which it was designed.
b) Do not use the power tool if the switch does not turn it on and off. Any power tool that cannot be controlled with the switch is dangerous and must be repaired.
c) Disconnect the plug from the power source and/or remove the battery pack, if detachable, from the power tool before making any adjustments, changing accessories, or storing power tools. Such preventive safety measures reduce the risk of starting the power tool accidentally.
d) Store idle power tools out of the reach of children and do not allow persons unfamiliar with the power tool or these instructions to operate the power tool. Power tools are dangerous in the hands of untrained users.
e) Maintain power tools and accessories. Check for misalignment or binding of moving parts, breakage of parts and any other condition that may affect the power tool’s operation. If damaged, have the power tool repaired before use. Many accidents are caused by poorly maintained power tools.
f) Keep cutting tools sharp and clean. Properly maintained cutting tools with sharp cutting edges are less likely to bind and are easier to control.
g) Use the power tool, accessories and tool bits etc. in accordance with these instructions, taking into account the working conditions and the work to be performed. Use of the power tool for operations different from those intended could result in a hazardous situation.
h) Keep handles and grasping surfaces dry, clean and free from oil and grease. Slippery handles and grasping surfaces do not allow for safe handling and control of the tool in unexpected situations. - Service
a) Have your power tool serviced by a qualified repair person using only identical replacement parts. This will ensure that the safety of the power tool is maintained.
ATTENTION!
This power tool generates an electromagnetic field during operation. This field can impair active or passive medical implants under certain conditions. In order to prevent the risk of serious or deadly injuries, we recommend that persons with medical implants consult with their physician and the manufacturer of the medical implant prior to operating the machine.
Safety instructions for table-top grinding machines
a) Do not use damaged tool inserts. Check tool attachments such as grinding discs for chipping and cracks before each use. Once you have checked and used the tool attachment, ensure that you and all other persons in the vicinity remain outside the plane of the rotating tool attachment and allow the device to run for 1 min. at the maximum speed. Damaged tool attachments usually break during this test period.
b) The permissible rotational speed for tool attachments must be at least as high as the maximum speed cited on the electric tool. Accessories that rotate faster than permitted can break and fly off at high speed.
c) Never grind on the side surfaces of the grinding disc. Grinding on the side surfaces can cause the grinding disc to break and fall apart.
Residual risks
The machine has been built according to the state of-the-art and the recognized technical safety requirements. However, individual residual risks can arise during operation.
- Danger of injury for fingers and hands due to the rotating grinding disc.
- Hazard due to electrical power with the use of improper electrical connection cables.
- Furthermore, despite all precautions having been met, some non-obvious residual risks may still remain.
- Residual risks can be minimized if the “Safety instructions” and “Intended use” are observed along with the complete operating instructions.
Technical data
| Motor | 230 – 240 V / 50 Hz |
| Rated input | 150 W |
| Operating mode | S2 30 min |
| Motor speed | 1490 min-1 |
| Grindstone idle speed | 115 min-1 |
| Grindstone | Ø200 x 40 x Ø12 mm |
| Dimensions L x W x H | 460 x 310 x 355 mm |
| Weight | 9kg |
Technical changes reserved!
Load factor:
A load factor of S2 30 min (intermittent periodic duty) means that you may operate the motor continuously at its nominal power level (150 W) for no longer than 30 minutes ON period. If you fail to observe this time limit the motor will overheat. During the OFF period the motor will cool again to its starting temperature.
Noise
The noise values have been determined in accordance
with EN 62841.
Sound pressure level LpA ………………………..63,5 dB(A)
Uncertainty KpA ………………………………………………3 dB
Sound power level LWA ……………………………76,5 dB(A)
Uncertainty KWA………………………………………………3 dB
WARNING
Excessive and frequent exposure to noise can lead to hearing damage or hearing loss.
- Wear hearing protection
- Take breaks.
Total vibration values (vector sum of three directions) determined according to EN 62841.
NOTE: The specified noise emission values have been measured in accordance with a standardised test procedure and can be used to compare one power tool with another.
The specified noise emission values can also be used for an initial estimation of the exposure.
WARNING: The noise emission values can vary from the specified values during the actual use of the power tool, depending on the type and the manner in which the power tool is used, and in particular the type of workpiece being processed.
Implement measures to protect against noise nuisance. In doing so, take into account the complete working process, including the times when the power tool is working without load or switched off. Suitable measures include regular maintenance and care of the power tool and the insertion tools, regular breaks as well as proper planning of the working process.
Unpacking
- Open the packaging and carefully remove the product.
- Remove the packaging material, packaging and transport safety devices (if applicable).
- Check the completeness of the scope of delivery. The customer service must be notified immediately of any complaints. Later claims will not be recognized.
- Check the scope of delivery for transport damage. The transport company must be notified immediately of any complaints. Later claims will not be recognized.
- Keep the packaging until the end of the warranty period.
- Read through the operating manual completely.
- Only use original spare parts or accessories. Original spare parts oraccessories can be obtained from your dealer.
- Check that the data on the type plate matches with the mains power data.
ATTENTION
The device and packaging materials are not toys! Children must not be allowed to play with plastic bags, film and small parts! There is a risk of swallowing and suffocation!
Assembly / Before commissioning
ATTENTION!
Always make sure the device is fully assembled before commissioning!
Warning!
Always ensure that the machine is switched off and disconnected from the power supply before changing the device settings.
- All covers and safety devices must be properly fitted before switching on the device.
- The grindstone must be able to run freely.
- Before operating the on/off switch, make sure that the grindstone and honing wheel are correctly mounted and that the moving parts of the device function smoothly. Visually inspect both for defects.
- Replace a damaged or worn grindstone.
Installation and setting
Please make sure that your grinding machine stands upright and stable on a solid surface with sufficient lighting.
The machine has no front or rear side. Grinding can take place either with or against the direction of rotation.
Tools required for all assembly / adjustment steps:
- Open-ended spanner 19 mm (not included in the scope of delivery) The grindstone is not pre-assembled for packaging reasons
Warning!
Do not connect the device to the power supply until assembly is complete. Failure to do so may result in accidental starting and possibly serious injury.
ATTENTION!
Always make sure to remove the transport locking screw A before commissioning! (Fig. 2)
Sound test
Check the grindstone for cracks and perform a sound test for crack detection.
- The grindstone must be removed from the machine for the sound test. The grindstone stands upright on the floor. On a hard floor, use a piece of wood as a support. The grindstone must be dry.
- Lightly tap the grinding disc with a non-metallic hammer. A crack-free disc has a high, purely bell-like sound. A disc that has a crack produces a muffled sound. If the grindstone is flawless, it can be fitted.

Installing the grindstone (Fig. 3 + 4)
Only use grindstones with identical technical data (see 6. Technical data).
- Remove the nut (11) with an open-ended spanner, the outer washer (9) and the cardboard transport sleeve of the grinding shaft (10). To do so, firmly hold the star grip for the leather honing wheel (14). Attention: Left-handed thread.
- The water tank (8) must be removed. (see 9.4)
- Place the grindstone on the grinding shaft (10). The inner washer must be behind the grindstone.
- Fit the grindstone (12) as shown in Fig. 2.
- Fasten the grindstone with the washer (9) and the nut (11) using an open-ended spanner. To do so, firmly hold the star grip of the leather honing wheel (14). Attention: Left-handed thread.


Fitting the workpiece support (1) (Fig. 5 + 6)
The workpiece support (1) can be attached both to the upper mount for workpiece support (2) and to the side mount for workpiece support (15). This depends on whether you wish to work with or against the grinding direction.

Fitting the upper mount
- To attach the workpiece support (1) to the upper mount for workpiece support (2), first attach the two loose star grip screws (3). Screw them into the upper workpiece support (2) (threaded hole) at the intended position with approx. 2 3 turns.
- Then insert the workpiece support into the holes of the upper mount for workpiece support (2).
- Fasten this at the desired height with the two star grip screws (3).
Fitting the side mount
- The two star grip screws (3) for the side mount for workpiece support (15) are pre-assembled.
- To mount the workpiece support (1) here, insert the workpiece support into the holes in the side mount for workpiece support (15).
- The workpiece support (1) is now fixed for the first step.
Installing the water tank (Fig. 7 + 8)
- Attach the water tank (8) in the lowest position to the brackets for the water tank (16) (behind the grindstone) on the machine housing (5). (Fig. 6)
- Then fill the tank with water up to the recess. (Fig. 7)


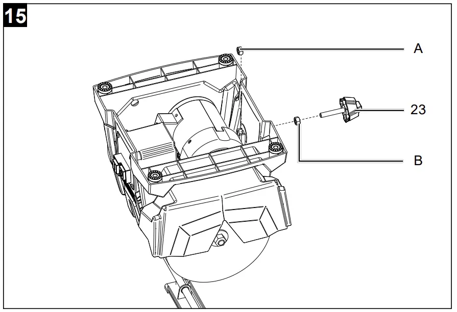
Fitting the star knob screw on the rear (fig. 14 + 15)
- Put a nut (A) in the recess.
- Screw the second nut (B) onto the rear star knob screw (23).
- Turn the star knob screw on the rear (23) through the machine housing into the nut (A) until you feel a slight resistance.
- Now lock both nuts (A + B)


Operation
ATTENTION!
Remove the mains plug before any maintenance, modification and assembly work.
ATTENTION!
Always make sure to remove the transport locking screw A before commissioning! (Fig. 2)
Grinding direction (Fig. 5 + 6)
This primarily depends on whether you wish to work with or against the grinding direction.
If you wish to remove large quantities of steel quickly (e.g. from very old, rusty tools) or if you want to grind coarse tools such as axes, it is advisable to work against the grinding direction.
If you wish to grind more accurately, we recommend working with the grinding direction. This applies, for example, when grinding tools and blades.
Please note that the grinding process is slowed down when you work with the direction of rotation. Please check before each operation that the surface of the grindstone is flat. To do this, lower the workpiece support onto the stone and turn it manually through 360°. If necessary, break off uneven material with a stone cutter.
Water tank (Fig. 8)
- Fill the water tank with water up to the recess. The grindstone absorbs water; top up water if necessary. Do not perform grinding without water. Since the diameter of the grindstone decreases with the number of grinding operations, the grindstone (12) will no longer touch the water in the water tank (8). The grindstone can no longer absorb water. If necessary, the water tank (8) must be placed in the upper holder for the water tank (16).
- When the grinding process is complete, lower the water tank to prevent the grindstone from remaining in the water for an extended period of time.
- Empty the water tank regularly. Otherwise steel particles and grinding dust will accumulate in the reservoir and compact.
- Expert tip: Such accumulations can be avoided by placing a magnet in the water.
Angle gauge (Fig. 9)
- Measure the angle of the workpiece by comparing the cutting edge with the notches. Then set the determined angle on the device by changing the height of the workpiece support. To do so, perform the following steps:
- First clamp the tool in the device and place the device on the workpiece support
- Then hold the protractor with the desired angle to the tool tip.
- Now adjust the height of the workpiece support so that the front end of the protractor lies directly against the grindstone. Please make sure that the protractor is always aligned with the tool tip.
- Note: The values indicated on the protractor are only guidelines. You can naturally change these values according to your requirements.

Grinding with the fixture for chisel (Fig. 10)
Since the grindstone rotates only slowly, it is possible to detect movement in a lateral direction. This is normal and has no negative influence on the grinding result.
Expert tip: New tools still show traces of the production process. You can significantly extend the service life of your tools if you grind them on both sides of the cutting edge before the first use. Simply grind the back in freehand mode on the vertical of the grindstone and the front as follows:
- After you have adjusted the angle, insert the tool mounted in the device into the universal holder, switch on the engine and start the grinding process.
- Press the tool evenly onto the grindstone near the cutting edge and move it laterally across the stone.
- Please make sure that at least half of the cutting edge width is always in contact with the grindstone to avoid damage to the stone.
- To achieve finer grinding results, prepare the stone with a stone preparer. This increases the grain size from 250 to approx. 1000.
Honing (Fig. 11) Never sharpen against the direction of the leather honing wheel! Otherwise the tool will cut into the leather!
- Impregnate the leather honing wheel with machine oil.
- Then apply the grinding paste to the leather honing wheel.
- Switch on the device and spread the grinding paste by pressing the workpiece onto the wheel with circular movements.
- These preparations are sufficient for five to ten tools.
- Then start again with a new layer of machine oil, followed by grinding paste. These measures increase the service life of the leather and the quality of your tools.
- Expert tip: You can hone in freehand mode. For a more accurate result, remove the tool with the aid of the appropriate fixture.

Grinding with the fixture for axes (optional accessory) (Fig. 12) For axes with a length of up to 170 mm. Larger axes are ground without using a grinding support on the tool support.
- The fixture consists of a wedge-shaped support into which the axe is clamped when grinding against the direction of the cutting edge.
- If necessary, the leather honing wheel can be removed to create more space for the handle.
- Honing: Always sharpen with the direction of rotation.

Grinding with the blade fixtures (optional accessory) (Fig. 13)
The blade fixtures are designed for blades with a cutting edge of approx. 40 – 100 mm and 100 – 200 mm and for drawing blades.
- The edge angle is adjusted with the tool support and the adjusting ring.
- The grinding support consists of a carrier, a clamping plate with a locking screw and a connecting screw, as well as an adjusting ring (22).
- Clamp the blade:
- The clamping screw (21) must be released.
- Clamp the blade with the clamping screw (21).
- Then fasten it with the connecting screw (20).
- The blade is now firmly clamped in the rest.
- The edge angle at the blade tip depends on the distance to the handle and the tip at which the blade is clamped.
- When the blade is correctly clamped, the edge angle is the same over the entire cutting edge. Use the edge angle from the previous sharpening operation or use the setting gauge with the tool support to roughly adjust the edge angle.
- Fine adjustment can take place using the adjusting ring (22) on the device.
- Honing: Always sharpen with the direction of rotation.

On/off switch (6) (Fig. 1)
- To switch on the machine, press the green “I” button.
- To switch the device off again, press the red button “0”.
Friction wheel adjustment with the star grip screw on the rear side (Fig. 15)
- You can adjust the contact pressure on the friction wheel with the star grip screw (23) on the back of the machine housing (see Figure 15). This may be necessary if the leather honing wheel or grindstone stops during sharpening or honing. Turn the star screw clockwise to increase the tension. Tighten the star grip screw only until you feel a slight resistance. Do not over-tighten.

Cleaning and maintenance
Warning!
Switch off the machine and pull out the mains plug before performing setting, maintenance or service work!
Cleaning
Keep all safety devices, ventilation slots and the engine housing free from dirt and dust insofar as possible. Wipe the device clean with a clean cloth or blow it off with compressed air at low pressure. We recommend cleaning the device immediately after each use.
Maintenance
The device has no further internal parts that require maintenance.
Service information
Please note that the following parts of this product are subject to normal or natural wear and tear, and are therefore also required as consumables.
Wearing parts *: Grindstone, grinding paste, leather honing wheel, friction wheel
* May not be included in the scope of delivery!
Storage and transport
Store devices and accessories out of the reach of children in a dark and dry place above freezing point. The optimum storage temperature lies between 5 and 30 °C. Store the power tool in its original packaging. Store the grindstone in a cool, dry and dark place.
Electrical connection
The electrical motor installed is connected and ready for operation. The connection complies with the applicable VDE and DIN provisions.
The customer’s mains power connection as well as the extension lead used must also comply with these regulations and the local electricity supplier regulations.
Damaged electrical connection cables
The insulation on electrical connection cables is often damaged.
Possible causes:
- Pressure points, where connection cables are passed through windows or doors.
- Kinks where the connection cable has been improperly fastened or routed.
- Places where the connection cables have been cut due to being driven over.
- Insulation damage due to being ripped out of the wall outlet.
- Cracks due to the insulation ageing.
Such defective electrical connecting cables must not be used and are life-threatening due to the insulation damage!
Check the electrical connection cables for damage regularly. Ensure that the connection cables are disconnected from electrical power when checking for damage.
Electrical connection cables must comply with the applicable VDE and DIN provisions, and the local power supply regulations.
Only use connection cables marked with H05-VV-F.
The printing of the type designation on the connection cable is mandatory.
AC motor
- The mains voltage must be 230-240 V/50 Hz.
- Extension leads up to 25 m long must have a minimum cross section of 1.5 mm², and over 25 m long must have a minimum cross section of 2.5 mm².
- The mains connection must be protected with a max. 16 A fuse.
Connections and repair work on the electrical equipment may only be carried out by electricians.
Please provide the following information in the event of any enquiries:
- Engine manufacturer, engine type
- Type of current for the motor
- Machine data – type plate
- Electrical control data
When returning the engine always send in the complete drive unit with electrical control.
Disposal and recycling
The equipment is supplied in packaging to prevent it from being damaged in transit. The raw materials in this packaging can be reused or recycled. The equipment and its accessories are made of various types of material, such as metal and plastic. Defective components must be disposed of as special waste. Ask your dealer or your local council.
Old devices must not be disposed of with household waste!
This symbol indicates that this product must not be disposed of together with domestic waste in compliance with the Directive (2012/19/EU) pertaining to waste electrical and electronic equipment (WEEE). This product must be disposed of at a designated collection point. This can occur, for example, by handing it in at an authorised collecting point for the recycling of waste electrical and electronic equipment. Improper handling of waste equipment may have negative consequences for the environment and human health due to potentially hazardous substances that are often contained in electrical and electronic equipment. By properly disposing of this product, you are also contributing to the effective use of natural resources. You can obtain information on collection points for waste equipment from your municipal administration, public waste disposal authority, an authorised body for the disposal of waste electrical and electronic equipment or your waste disposal company.
Troubleshooting
| Problem | Possible cause | Remedy |
| Engine does not run. | Engine, cable or connector defective, fuses burnt. | Have the machine checked by a specialist. Never repair the engine yourself. Attention! Check the fuses and replace them if necessary. |
| The engine starts slowly and does not reach the operating speed. | Voltage too low, coils damaged, capacitor burnt. | Have the power supply company check the voltage. Have the engine checked by a specialist. Have the capacitor replaced by a specialist. |
| Engine producing excessive noise. | Coils damaged, motor defective. | Have the engine checked by a specialist. |
| Engine does not reach full power. | Circuits in the network are overloaded (lamps, other engines, etc.) | Do not use any other devices or engines on the same circuit. |
| Motor overheats easily. | Overloading of the engine, insufficient cooling of the engine. | Avoid overloading the engine during grinding and remove dust from the engine to ensure optimum engine cooling. |
CE Declaration of Conformity
hereby declares the following conformity under the EU Directive and standards for the following article
Standard references:
EN 62841-1:2015; EN ISO 12100:2010;
EN 55014-1:2017; EN 55014-2:2015 EN IEC 61000-3-2:2019; EN 61000-3 3:2013+A1:2019
The object of the declaration described above fulfils the regulations of the directive 2011/65/EU of the European Parliament and Council from 8th June 2011, on the restriction of the use of certain hazardous substances in electrical and electronic equipment.
Warranty
Apparent defects must be notified within 8 days from the receipt of the goods. Otherwise, the buyerís rights of claim due to such defects are invalidated. We guarantee for our machines in case of proper treatment for the time of the statutory warranty period from delivery in such a way that we replace any machine part free of charge which provably becomes unusable due to faulty material or defects of fabrication within such period of time. With respect to parts not manufactured by us we only warrant insofar as we are entitled to warranty claims against the upstream suppliers. The costs for the installation of the new parts shall be borne by the buyer. The cancellation of sale or the reduction of purchase price as well as any other claims for damages shall be excluded.




































