
INSTALLATION
Before Installing
Installation Overview
Please read the following installation instructions first after purchasing this product or transporting it to another location.
The images in this guide may be different from the actual components and accessories, which are subject to change by the manufacturer without prior notice for product improvement purposes.

| 1 Check and choose the proper location | 2 Level the range |
| 3 Connect electric range | 4 Plug in the power cord |
| 5 Install anti-tip device | 6 Engage the anti-tip device |
| 7 Test run |
Tools Needed

- Phillips screwdriver
- Flat-blade screwdriver
- 1 /4″ nut driver
- Pliers
- Tape measure
- Level
- Adjustable wrench
- Drill
- Safety glasses
- Gloves
Parts
Parts Provided

- Anti-tip bracket (1 ea)
- Screws (6 ea)
- Anchors (6 ea)
- Template (1 ea)
Parts Not Provided
- 4-Wire cord or 3-Wire cord (UL approved 40 or 50 AMP)
- Strain relief (for conduit installations only)
NOTE
- Observe all governing codes and ordinances.
- Have the installer show you the location of the circuit breaker or fuse. Mark it for easy reference.
- As when using any appliance generating heat, follow common-sense safety precautions.
- Be sure your range is installed and grounded properly by a qualified installer or service technician.
Unpacking and Moving the Range
WARNING
- You should use two or more people to move and install the range. (Excessive Weight Hazard) Failure to do so can result in back or other injury.
- Do not use the door handles to push or pull the range during installation or when moving the range out for cleaning or service. Doing so can result in serious damage to the door of the range.
- To reduce the risk of burns, do not move this appliance while it is hot.
NOTE
- Remove packing material, tape and any temporary labels from your range before using. Do not remove any warning-type labels, the model and serial number label, or the Tech Sheet that is located on the back of the range.
- To remove any remaining tape or glue, rub the area briskly with your thumb. Tape or glue residue can also be easily removed by rubbing a small amount of liquid dish soap over the adhesive with your fingers. Wipe with warm water and dry.
- Do not use sharp instruments, rubbing alcohol, flammable fluids, or abrasive cleaners to remove tape or glue. These products can damage the surface of your range.
- Your range is heavy and can be installed on soft floor coverings such as cushioned vinyl or carpeting. Use care when moving the range on this type of flooring. Use a belt when moving the range to prevent damaging the floor. Or slide the range onto cardboard or plywood to avoid damaging the floor covering.

Choosing the Proper Location
Dimensions and Clearances
Dimensions
| – | Dimensions | LTEL7337* |
| A | Width | 29 7/8″ (758.8 mm) |
| B | Height | 361/2″ (927.9 mm) |
| C | Depth (Includes Door Handle) | 2917/64′(743.2 mm) |
| D | Height (Excludes Vent Trim) | 36″ (913.0 mm) |
| E | Depth (Includes only the product body that is loaded Into die cabinet. Exdudes door, drawer, and handles) | 24 3/4′ (6294 mm) |
| F | Depth (Excludes Door Handle) | 267/8″(683 mm) |
| G | Depth when upper door Is fully opened | 38 5/8″ (9812 mm) |
| H | Depth when lower door Is fully opened | 42 7/32″ (1072.2 mm) |
Minimum Dimensions 
| 1. Minimum distance from top of range to combustible surface overhead | 30″ (76.2 cm) |
| 2. Minimum clearance to left/right wall | 5″ (12.7 cm) |
| 3. Maximum depth for cabinets above countertops | 13″ (33.0 cm) |
| 4. Front edge of the range side panel forward from cabinet | 2 1/4″ (6.3 cm) |
| 5. To cabinets below cooktop and at the range back | 0″ |
| 6. Minimum opening in overhead cabinets | 30″ (76.2 cm) |
| 7. Minimum distance from countertop to overhead cabinets at side | 18″ (45.7 cm) |
| 8. Height of countertop | 36″ (91.3 cm) |
NOTE
- 1 30″ (76.2 cm) minimum clearance between the top of the cooking surface and the bottom of an unprotected wood or metal cabinet; or 24″ (60.9 cm) minimum when bottom of wood or metal cabinet is protected by not less than 1/4″ (6.4 cm) flame retardant millboard covered with not less than no. 28 MSG sheet steel, 0.015″ (0.381 mm) stainless steel, 0.024″ (0.610 mm) aluminum or 0.020″ (0.508 mm) copper.
- 7 15″ (38.1 cm) minimum between countertop and adjacent cabinet bottom.
- Important – Save for the use of the local electrical inspector.
- For installation in Canada, a free-standing range is not to be installed closer than 15/32″ (12 mm) from any adjacent surface.
Clearances

| 0 Acceptable Electrical Outlet Area | 0 Normal Countertop Depth |
| 0 Countertop Height | 0 Cabinet |
| 0 Wall | 0 Center |
| 0 Cabinet opening = 30″ (76.2 cm) For U.S.A = 30″ (76.2 cm) – 31″ (78.7 cm) For CANADA | |
Electricity
The range should always be plugged into its own individual properly grounded electrical outlet.
- This prevents overloading house wiring circuits which could cause a fire hazard from overheated wires.
- It is recommended that a separate circuit serving only this appliance be provided.
Flooring
CAUTION
- Use an Insulated pad or 1/4 In. (0.64 cm) plywood under the range If Installing the range over carpeting.
Ambient Temperature
CAUTION
- Make sure wall coverings, countertops and cabinets around the range can withstand the heat (up to 194 °F) generated by the range. Discoloration, delamination or melting may occur. This range has been designed to comply with the maximum allowable wood cabinet temperature of 194 °F.
- Before installing the range in an area covered with linoleum or other synthetic floor covering, make sure the floor covering can withstand temperatures of at least 200 °F (93 °C).
Leveling
Leveling the Range Level the range by adjusting the leveling legs with a wrench. Extending the legs slightly may also make it easier to insert the rear leg into the anti-tip bracket. 
Checking Adjustments
- Place the level diagonally on the oven rack, and check each direction for level.
• First check direction a Then check direction e.
- If the level doesn’t show that the rack is level, adjust the leveling legs with a wrench.
Connecting Electricity Electrical Requirements This appliance must be installed and grounded on a branch circuit by a qualified technician In accordance with the National Electrical code ANSI/ NFPA NO. 70
• latest edition.
All wiring should conform to local and NEC codes. This range requires a single-phase. 3 wire. AC 120/ 208 V or 120/240 V 60 Hz electrical system. Use only a 3-conductor or a 4-conductor UL – listed range cord with closed-loop terminals, open-end spade lugs with upturned ends or similar termination. Do not install the power cord without a strain relief. A range cord rated at 40 amps with 120/240 minimum volt range is required. If a 50 amp range cord is used, It should be marked for use with 13/ 8″ diameter connection openings. This appliance may be connected by means of a conduit or power cord. If a conduit is being used, refer to -3-Wire Connection: Conduit” or “4-Wire Connection: Conduit” sections.
WARNING
- Allow 2 to 3 ft (61.0 cm to 91.4 cm) of slack in the line so that the range can be moved if servicing is ever necessary.
- The power supply cord and plug should not be modified. If it will not fit the outlet, have a proper outlet Installed by a qualified electrician.
- Using an extension cord to connect the power is prohibited. Connect the power cord and plug directly.
- Electrical ground is required on this appliance.
- Make sure that the power cord is not pinched by the range or heavy objects. Failure to do so can result in serious bums or electrical shock.
Specified Power Cord Kit Rating
Case 1
- Voltage: 120/240 volts (3-wire)
- Range rating: 8,750 W – 16,500 W
- Specified rating of power supply-cord kit, amperes: 40 A or 50 A
- Diameter (inches) of range connection opening – Power cord: 1 3/8″ – Conduit: 11/8″
Case 2
- Voltage: 120/240 volts (3-wire)
- Range rating: 16,501 W – 22,500 W
- Specified rating of power supply-cord kit, amperes: 50 A
- Diameter (Inches) of range connection opening – Power cord: 1 3/4″ – Conduit: 1 3/8″
Case 3
- Voltage: 120/208 volts (3-wire)
- Range rating: 7,801 W- 12,500 W
- Specified rating of power supply-cord kit, amperes: 40 A or 50 A
- Diameter (inches) of range connection opening – Power cord: 1 3/8″ – Conduit: 11/8″
Case 4
- Voltage: 120/208 volts (3-wire)
- Range rating: 12,501 W – 18,500 W
- Specified rating of power supply-cord kit, amperes: 50 A
- Diameter (inches) of range connection opening – Power cord: 1 3/4″ – Conduit: 1 3/8″
3, 4 – Wire Electrical Wall Receptacle
4 Wire receptacle (14-5011)
3 Wire receptacle (10.51311)
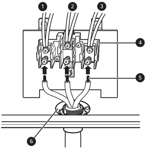
Connecting the Power Cord / Conduit The rear access cover 0 must be removed. Loosen the two screws with a screwdriver. The terminal block will then be accessible.
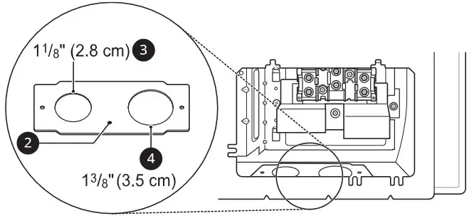
Use the cord/conduit connection plate 0 to install the power cord or conduit. Leave the connection plate as Installed for power cord installations. Remove the connection plate for conduit installations and rotate it to use the smaller 1 1/8 in. (2.8 cm) conduit hole 0 instead of the 1 3/8 in. (3.5 cm) power cord hole 0.
For power cord 0 installations, hook the strain relief over the 1 3/8 in. (3.5 cm) power cord hole located below the rear of the oven. Insert the power cord through the strain relief and tighten it.
For conduit Installations, Insert the conduit strain relief in the 1 1/8 in. (2.8 cm) conduit hole. Then install the conduit through the body of the strain relief and fasten the strain relief with Its ring. 
6. Ring 7. Body 8. Cord/Conduit Connection Plate to Conduit
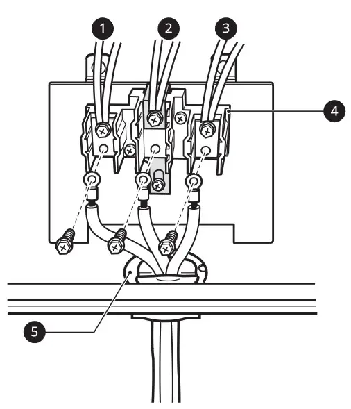
3-Wire Connection: Power Cord
WARNING
- The white middle (neutral or ground) wire of a 3-wire power cord or a 3-wire conduit has to be connected to the middle post of the main terminal block. The remaining two wires of the power cord or conduit have to be connected to the outside posts of the main terminal
connection block. Failure to do so can result in electrical shock, severe personal injury or death. - If screws are not tightened securely, it can result in electrical spark and severe personal injury or death.
- For power cord installations, hook the strain relief over the power cord hole (1 3/8″) located below the rear of the oven.
- Insert the power cord through the strain relief and tighten it.
CAUTION • Do not install the power cord without a strain relief. - Remove the lower 3 screws from the terminal block and retain them.
- Insert the 3 screws through each power cord terminal ring and into the lower terminals of the terminal block.
• Make sure that the white center wire is connected to the center lower position of the terminal block. - Tighten the 3 screws securely Into the terminal block.
CAUTION
- Do not remove the ground strap connections.

- Black
- White
- Red
- Terminal Block
- Cord/Conduit Connection Plate
4-Wire Connection: Power Cord
WARNING
- Only a 4-conductor power-supply cord kit rated 120/240 volts, 50 amperes and marked for use with ranges with closed-loop connectors or opened spade lugs with upturned ends must be used. The white middle (neutral) wire of the power cord or 4-wire conduit has to be connected to the middle post of the main terminal block. The other two wires of the power cord or conduit have to be connected to the outside posts of the main terminal connection block. The 4th ground wire (green) must be connected to the frame of the range with the ground screw. Failure to do so can result in electrical shock severe personal injury or death.
- If screws are not tightened securely, It can result In electrical spark and severe personal Injury or death.
- For power cord installations, hook the strain relief over the power cord hole (1 3/8″) located below the rear of the oven.
- Insert the power cord through the strain relief and tighten it.
CAUTION • Do not install the power cord without a strain relief. - Remove the lower 3 screws from the terminal block and retain them.
- Remove the ground screw and bend the end of the ground strap up so the slot is over the hole of the center screw removed in step 3.
- Insert the ground screw into the power cord ground wire (green) terminal ring and secure it to the range frame.
- Insert the 3 screws through each power cord terminal ring and into the lower terminals of the terminal block.
• Make sure that the white center (neutral) wire is connected to the center lower position of the terminal block. - Tighten the 3 screws securely into the terminal block.

• The center screw now attaches the bent up ground strap to the block.
• Black o White
• Red
o Terminal Block
o Ground Strap
O Ground Screw
• Cord/Conduit Connection Plate
O Bend strap up and attach.
3-Wire Connection: Conduit
WARNING
- If screws are not tightened securely, it can result in electrical spark and severe personal injury or death.
Conduit Installations
CAUTION
- Do not install the conduit without a strain relief.
1 Remove the cord/conduit connection plate from the rear of the oven and rotate it.
• The conduit hole (1 1/8″)must be used.
2 Prepare the conduit wires as shown below.
• Cord/Conduit connection plate
3 Install the conduit strain relief.
- Insert the strain relief In the 1 1/8 in. (2.8 cm) conduit hole. 2) Install the conduit through the body of the strain relief and fasten the strain relief with its ring.
NOTE • For conduit installations, purchase a strain relief.
4 Reinstall the cord/conduit connection plate.
Conduit Connections If the wire in the conduit is copper it must be 8 or 10 AWG wiring. If the wire in the conduit Is aluminum It must be 6 or 8 AWG wiring. 1 Loosen the lower 3 screws from the terminal block. - Insert the bare wire (white/neutral) end through the center terminal block opening. Do not remove the ground strap connections.
- Insert the two side bare wire ends Into the lower left and the lower right terminal block openings.
- Tighten the 3 screws securely into the terminal block. (approximately 35 – SO IN-LB)

O Black
O White
O Red
O Terminal Block
• Wire Ends O Conduit Connection Plate
4-Wire Connection: Conduit
WARNING
- The white middle (neutral) wire of the power cord or 4-wire conduit has to be connected to the middle post of the main terminal block. The other two wires of the power cord or conduit have to be connected to the outside posts of the main terminal connection block. The 4th ground wire (green) must be connected to the frame of the range with the ground screw. Failure to do so can result in electrical shock, severe personal injury or death.
- If screws are not tightened securely, it can result in electrical spark and severe personal injury or death.
Conduit Installations
CAUTION - Do not install the conduit without a strain relief.
1 Remove the cord/conduit connection plate from the rear of the oven and rotate It. - The conduit hole (1 1/81 must be used.
2 Prepare the conduit wires as shown below.
1. Cord/Conduit Connection Plate
2. Ground Wire
3 Install the conduit strain relief.
- Insert the strain relief in the 1 1/8 in. (2.8 cm) conduit hole.
- Install the conduit through the body of the strain relief and fasten the strain relief with its ring.
NOTE • For conduit installations, purchase a strain relief.
4 Reinstall the cord/conduit connection plate.
Conduit Connections If the wire In the conduit Is copper it must be 8 or 10 AWG wiring. If the wire in the conduit is aluminum it must be 6 or 8 AWG wiring.
- Loosen the 2 lower left and right screws from the terminal block Remove the lower 2 center screws. Do not discard any screws.
- Remove the ground screw and bend the end of the ground strap up so the slot Is over the hole of the center screw removed in step 1.
- Attach the ground (green) bare wire end to the range frame and secure it in place with the ground screw.
- Insert the bare wire (white/neutral) end through the center terminal block opening. The center screw now attaches the bent up ground strap to the block.
- Insert the two side bare wire ends into the left and the right terminal block openings.
Tighten the 3 screws securely into the terminal block. (approximately 35 – 50 IN-LB)
- Black
- White
- Red
- Terminal Block
- Wire Ends
- Ground Strap
- Conduit Connection Plate
- Ground Screw
- Ground Wire
- Bend strap up and attach.
Optional Rear Filler
Installing the Rear Filler
If the counter does not bridge the opening at the rear wall, the rear filler kit which Is provided with the slide In range will be needed.
NOTE
- If the countertop depth is greater than 25 3/8″ there will be a gap between the filler kit and the back wall.
NOTE
• If the countertop depth is less than 24 3/4′. the control panel will not sit flush with the countertop.
- Using a screwdriver, remove the three screws holding the rear top plate in place.

- Attach the rear top plate and filler assembly as shown, using three screws removed in step 1.

Anti-tip Device
Installing the Anti-tip Device Tip Hazard
WARNING
- A child or adult can tip the range and be killed.

- Install the anti-tip device to the structure and/or the range. Verify the anti-tip device has been properly installed and engaged by following the guide on the anti-tip bracket template.
- Engage the range to the anti-tip device by following the guide on the anti-tip bracket
template. Ensure the anti-tip device is re-engaged when the range is moved by following the guide on the anti-tip bracket template. Re-engage the anti-tip device if the range Is moved. Do not operate the range without the anti-tip device in place and engaged. - See installation Instructions for details.
- Failure to follow these instructions can result in death or serious burns to children or adults.
- Range must be secured with an approved anti-tip device.
- The range could be tipped by standing, sitting or leaning on an open door If the range or anti-tip device is not properly Installed.
- The use of this device does not preclude tipping of the range when not properly installed.
- After installing the anti-tip device, verify that it is in place by carefully attempting to tilt the range forward.
- This range has been designed to meet all recognized industry tip standards for all normal conditions.
- The installation of the anti-tip device must meet all local codes for securing the appliance.
Using the Anti-Tip Bracket Template
- The anti-tip bracket is packaged with an installation template. The instructions include necessary information to complete the installation. Read and follow the range installation instruction sheet.

- Screws 4) must enter wood or concrete.
O Anti-tip Bracket O Wall Plate
Engaging the Anti-tip Device
0 Anti-tip Bracket
• Leveling Leg
- Slide the range against the wall, making sure the back leg slides into and engages the anti-tip bracket.
- Check for proper installation by grasping the front edge of the cooktop and carefully attempting to tilt the range forward.
Test Run
Test the Range Before Use Check if the range is properly installed and run a test cycle.
- Before using the cooktop for the first time, clean it with a ceramic cooktop cleaner. This helps protect the top and makes cleanup easier.
- Press CLEAR/OFF.
- Turn each knob to the HI position to check that the surface heating elements are working properly. The elements should glow red and radiate heat, and they should cycle on and off periodically even when the knob is in the HI position. This cycling prevents the glass-ceramic from being cracked by thermal shock
NOTE • The Warm Zone does not consume enough power to glow red. - After checking all the surface heating elements, check the locking system by pressing Control Lock for three seconds. The oven controller should lock and the cooktop should not operate while the Control Lock function is turned on. Pressing Control Lock for three seconds to disable Control Lock.
- Now check the oven’s operation. Turn the oven mode knob to select the Bake mode. 350 °F appears in the display. Press START.
- The oven should finish preheating in 15 minutes, and the convection fan should operate while the oven is preheating.
- After checking the oven’s operation, turn the temperature up to 450 °F and leave the oven on for at least an hour to help remove any oil which might cause smoke and odors when first using the oven.
NOTE • Smoke may come out of the range when it is first used.




• Cord/Conduit connection plate























