SENTROL 5150 Series On The Glass Shock Sensors

Easy Installation and Range Verification
- Mount directly on the glass
- Two wire, self powered, solid state
- Easy mounting with specially formulated 3M™ adhesive tape
Applications
The 5150 is rated for all types of glass, without adjustment. The sensor is rated for plate, wired, tempered and laminated glass up to 1/4″.
Shock sensors are intrusion detection devices designed to detect a glass break big enough to reach, crawl, or walk through. Shock sensors aren’t rated to detect cracks, bullet holes and other small holes, removing windows, or entry via glass cutting without breakage. All Glassbreak sensors should be
Protected under patent 4,745,398 re. 33,807 and other patents
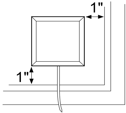
Mount sensor 1″ from the frame
Strike far opposite corner of glass with screwdriver handle
Sensor trips at panel or keypad verifying range for entire glass area
Walk away with confidence
backed up by interior protection.
Laminated Glass will reduce the specified range.
Test carefully to ensure maximum detection. Armor coated glass and plexiglass will reduce specified range by 50%, from a 10′ radius to a 5′ radius.
This shock sensor is self powered and therefore will not effect battery life for wireless transmitters.
Step 1 — Mounting
To maximize range, mount the 5150 Series shock sensor approximately 1″ out from any side of the frame.
Sensors mount with industrial grade acrylic tape specifically formulated to resist the effects of sunlight and extreme temperature changes after application.
For best adhesion:
- Glass must be clean and dry. With a clean cloth, apply a 50/50 solution of isopropyl alcohol and water to remove residue.
- The ideal mounting temperature is 70° to 100°F (21° to 38°C). Application at glass temperatures below 50°F (10°C) is not recommended because the adhesive may become too firm to adhere readily. Once the tape is applied, however, low temperatures do not effect bonding.
- Bond strength depends on how much surface contact develops. Press the sensor firmly to the glass. Firm application pressure develops better adhesion and thus improves the bond.
Step 2 — Wiring
The 5150 is a two wire device. It draws no power from the loop. The sensor generates its own power by converting the shock energy of the break into electricity using a piezo transducer.
All 5150 Series shock sensors are non-polarity sensitive. The alarm output operates without respect to polarity and wires directly into the closed loop.
When wiring multiple sensors in series, be aware that resistance is additive. The value of the end-ofline resistor may have to be adjusted when a large quantity of sensors are in series. Sentrol recommends a maximum of 10 sensors in series.
The 5150 does not require a processor. Do not wire the sensor into fast response loops—false alarms will result.
Step 3 — Testing
The 5150 sensor is tested by rapping the glass with the handle of a large screwdriver. Test at likely points of attack — near door and window latches and the lower points where it can be kicked in. This is an accurate test of the sensor since the energy output from a glass break is typically at least 50% more that the energy output from the hardest rap test. In Sentrol’s experience, a screwdriver handle rap provides an excellent test of sensor operation with little risk of damaging the glass.
Connect an ohmmeter across the sensor leads.
Resistance is typically 14 ohms (13–24 ohms is acceptable and within specification). Resistanceshould increase to one Meg ohm as the sensor is tripped from the shock generated by the rap. Hold there for 1 to 10 seconds.
To ensure proper operation and detection, test the sensor at least once a year.
Specifications
Resistance:
Typical (normally closed) …………………………………………………….. 24 ohms maximum
Alarm (open) …………………………………………………………………………1 Meg ohm minimum
Time open on alarm ………………………………………………………………1–10 seconds (5 sec. Nominal)
Maximum loop voltage ………………………………………………………….15 V DC
Maximum loop current ………………………………………………………….15 mA
Power consumption ……………………………………………………………….Self-generating on alarm
Lightning suppression ……………………………………………………………400 W for 1 msec pulse
Temperature …………………………………………………………………………..0° to 120°F (-18° to 50°C)
Sensitivity ……………………………………………………………………………….Factory set
Mounting method ………………………………………………………………….Field proven acrylic tape
Size ………………………………………………………………………………………..1.25″ W x 1.25″ L x 0.37″ D
Lead ……………………………………………………………………………………….22 gauge, 2 wire zip cord
Colors …………………………………………………………………………………….White, Mahogany brown




















