MASTER SPAS Axis® Cover System User Guide



KIT COMPONENTS
Unbox and verify all components are present.
a. 1 qty – Axis Cover
SPECIFICATIONS
- Cover skirt is approximately 12½” (measured down from the top of the swim spa shell).
- Bottom of Rotating Lever Latch is approximately 17″ at lowest adjustable point from the top of the swim spa shell.
- Fully rolled diameter is approximately 28″, based on a 19′ model.
- Cover locks measure approximately 7½” (measured down from the top of the swim spa shell).

b. 2 qty – X900198 Lever Channels
c. 2 qty – X900185 Top Handle of Rotating Lever Latch
d. 2 qty – X900185 Base of Rotating Lever Latch
e. 2 qty – X900185 Plastic Pinned Washers for Rotating Lever Latch
f. 12 qty – X551350 #8x½” Screw
g. 6 qty – X717900 #10×2½” Screw
h. 2 qty – Axis Cover Dome Labels
i. X900162 #4x¾” PH FH Screw for Cover Lock*
*quantity varies depending on model/size
INSTALLATION
1. COVER Place cover on one end of the swim spa and roll open across the swim spa by grasping the bottom grey insulating bag (Figure 1). Then, grasp the bottom grey insulating bag and its handles to center the cover on the swim spa.

CAUTION: Do not grasp the side cover skirt material to roll or move the cover. Doing so may result in unwarranted damage such as ripped and torn material. Only grasp the bottom grey insulating bag and its handles as shown below. Grabbing and pulling on other components/parts of the cover to shift or maneuver the cover will result in unwarranted damage.

Cover skirting has been flipped up to expose the layers of material for illustrative purposes.
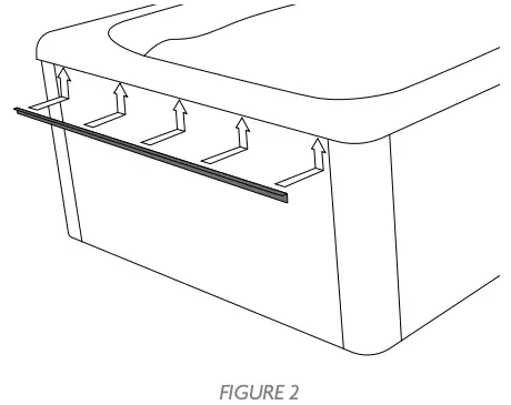
2. LEVER CHANNEL Install Lever Channels (b) to both 8′ ends of the swim spa skirting (Figure 2). Center Lever Channel on the swim spa skirting against the swim spa shell flange with “L” side up (Figure 3). Use 5 of the #8x½” screws (f) to mount this. First, install 1 screw into the channel groove at each end, 1″ from the end (Figure 3). Then, space the remaining 3 screws evenly across the Lever Channel. Repeat for the opposite end of the swim spa.
NOTE: If there are vertical trim strips on the skirting (causing an uneven surface), they will need to be moved down or trimmed to allow Lever Channel to be mounted on a flat surface.


3. ROTATING LEVER LATCH At the center of the 8′ end of the swim spa, use a level or straight edge to reference the top of the swim spa shell. Measure down 10″ and mark this center point for the top center screw of the Rotating Lever Latch Base (d). With the arrow facing up, mount base of Rotating Lever Latch to swim spa skirting using 3, #10×2½” screws (g). The Rotating Lever Latch may mount over a skirt vent which is normal (if vent prohibits base mounting flush, simply remove vent when mounting base). Mount with screws at the lowest point in the slots on the Rotating Level Latch Base. The slot is present to allow downward adjustment of the base if necessary later. Repeat for opposite end. (Continued…)

Next, push the top half of the Rotating Lever Latch (c) on to its base (d) mounted to the swim spa skirting with the lever end facing a 3 o’clock position (Figure 5).
Insert the plastic pinned washer (e) into the center pivot shaft of the Rotating Lever Latch with pins aligned to the grooves in the shaft. Use 1 #8x½” screw (f) to attach top half and base of Rotating Lever Latch together.

Install 1 Axis Cover Dome Label (h) into recessed, oval area on the Rotating Lever Latch (c) (Figure 6). Repeat for the opposite end.

SECURING THE COVER Insert cover lever arm into the Lever Channel installed on the swim spa skirt (Figure 7 below and Figure 18 on page 13 provide illustrations for securing the cover). Push in on the cover lever arm and turn the Rotating Lever Latch to 12 o’clock position to secure the cover lever arm (Figure 19, page 13).

Cover skirt is approximately 12½” (measured down from the top of the swim spa shell).
4. COVER LOCKS Using provided #4x¾” Phillips Flat Head Screws (i), mount the cover locks located along the long sides of the Axis Cover to the swim spa skirting (Figure 8). These cover locks MUST be attached and secured when swim spa is not in use. Refer to cover lock system overview (Figure 9).
*Screw quantity varies by cover model/size. There should be 3 screws per cover lock body.


Cover skirting has been flipped up to expose cover locks for illustrative purposes.

OPENING THE COVER
ATTENTION:
Be sure to remove any foreign objects such as small sticks, branches, or other debris from the top of cover before rolling it open. This prevents damage from occurring and debris from getting into the swim spa when it is rolled closed again. Tears or puncture damage caused to the cover by foreign objects are not covered by the limited warranty.
Unlock and release all cover locks along the long sides of the cover. Lift up the cover skirt to access the Rotating Lever Latch, push against the 8′ lever arm at the end of the cover and turn Rotating Lever Latch to release lever arm of cover. Repeat for opposite end.
Flip the vinyl cover skirting over on top of the cover at the corners to prevent these points from catching and being damaged when starting to roll cover open (Figure 11).
Standing at one end of the swim spa, start rolling cover until it is out of reach (Figure 12). Then, move to the long side of the swim spa. Grasp the rolled portion of the cover by the grey insulating bag (Figure 13) and continue rolling cover open until it is past the entry step area in the swim spa (approximately 3′ to 5′).
From this point; it is easiest to get into the swim spa, standing in the center, to continue rolling cover open. Push upward on the bottom grey insulating bag of the cover (Figure 14) and roll until the cover is fully removed from over the body of water (Figure 15).



![]()
WARNING
BE SURE NO PERSON, CHILD OR ANIMAL IS POSITIONED AT THE END OF THE SWIM SPA WHERE THE COVER WILL BE LOCATED WHEN OPEN AND SWIM SPA IS IN USE. THE ROLLED COVER IS HEAVY. SERIOUS OR FATAL INJURY COULD OCCUR IF COVER ROLLS OR FALLS OFF THE END OF THE SWIM SPA.
CLOSING THE COVER
Standing at the 8′ end where the rolled cover is located, push the rolled cover across the surface of the swim spa, unrolling until out of reach.
On the 8’ end where the rolled cover was located, place the cover lever arm edge (Figures 16 & 17) into Lever Channel (b) mounted to the swim spa skirt. Push down on cover lever arm (Figure 18) and turn Rotating Lever Latch to secure it (Figure 19).
Moving to the long side of the swim spa, grasp the grey insulating bag portion of the cover and continue unrolling until fully closed (Figure 13, page 11). Then, grasp the bottom grey insulating bag and its handles to center the cover on the swim spa and pull it taut.


Next, place cover lever arm edge into the Lever Channel mounted to swim spa skirt (Figure 18). Push down on cover lever arm and turn Rotating Lever Latch to secure (Figure 19).
Be sure to secure cover lever arms with rotating lever latches and lock all cover locks along the long sides of the cover anytime swim spa is not in use.

COVER CARE
ATTENTION:
COVER SHELF Master Spas strongly recommends a cover shelf to be installed on one end of the swim spa to hold the cover when rolled open (Figure 20). A cover shelf is required for safe, proper use of the cover on models where the cover cannot be fully rolled open and removed from the top of the body of water. Covers must be fully removed from the usable areas of the swim spa during operation.
Your local Master Spas dealer can be contacted for more information regarding information and purchase of a cover shelf accessory.
Some cover shelves may not allow the cover lever arm to be disconnected once installed. It is important to review spacing and mounting of the cover shelf components before installation of the Axis Cover and cover shelf.
Damage caused due to the cover being rolled off or falling off the end of the swim spa is not covered under warranty.

ADDITIONAL SUPPORT If your swim spa was built before 2018, additional support may need to be added to the swim spa framing to allow the cover shelf mounting screws to have solid points to attach for supporting the weight of the cover as well as for the Rotating Lever Latch points.
TENSION It is crucial to use the cover lever arms to secure the cover and keep it taut. This prevents a significant amount of water from accumulating on the top of the cover and potentially causing unwarranted damage. The center section of the cover should not sag between supports and pool water (Figure 21). Some circumstances may require additional adjustments. If after installation, it is extremely difficult to secure the cover lever arms or the cover is not pulled tight enough to prevent water from pooling, contact Master Spas Customer Support to review steps for adjusting tension.

Master Spas Customer Support:
800.860.7727 | [email protected]
CLEANING The cover should be cleaned with mild soap and fresh water at least semi-monthly. Do not use abrasive soaps, petroleum based cleaners or silicon based treatments on the vinyl. Failure to properly take care of the cover may cause the vinyl to become brittle, seams to split and create uneven discoloration due to environmental factors such as dirt, bird droppings, leaves, tree sap, etc. These environmental factors can be absorbed into the vinyl if it is not frequently cleaned. For these reasons, it is important to ensure proper care is performed.
CHEMICALS The cover should be left fully removed from over the swim spa water for 15 – 30 minutes after adding chemicals to allow the gases from the chemicals to dissipate. The chemicals will cause normal discoloration and fading of the bottom material and can also cause unwarranted damage to the cover if improper or extreme water conditions and chemical levels are present.
HANDLES The handles on the grey insulating bag are designed to assist in positioning the cover. They are not designed to support the full weight of the cover and can be damaged (i.e torn or ripped off) if excessive force is applied to them.
LOCKING STRAPS Do not open the cover unless all the locking straps have been released. The locking straps are designed to secure the cover in a closed position only. Locking straps can be torn or ripped off if the cover is lifted or rolled open without disconnecting all locking straps, if the straps are used to lift the weight of the cover, or if excessive force is applied to them.
PROTECTING THE TOPSIDE Do not place objects on top of the cover. Resulting damage caused to the cover would not be covered by the limited warranty.
Do not sit, stand, walk or allow animals on the cover. Resulting damage caused to the cover would not be covered by the limited warranty.
Do not let snow or ice loads accumulate on top of the cover. Resulting damage caused to the cover would not be covered by the limited warranty.
Be sure to remove any foreign objects such as small sticks or branches from the top of cover before opening the cover. Tears or puncture damage caused to the cover is not covered by the limited warranty.
![]()
WARNING AVOID DROWNING RISK
NON-SECURED OR IMPROPERLY SECURED COVERS ARE A HAZARD FAILURE TO FOLLOW ALL INSTRUCTIONS MAY RESULT IN INJURY OR DROWNING

MANUAL SAFETY COVER IN ACCORDANCE WITH ASTM F 1346-2010
4YE4
E358534
UNSAFE FOR
SITTING OR STANDING
ATTENTION:
This warning label is also found on the cover and should be inspected periodically for premature wear or deterioration which affects its legibility. If the warning label on the cover is becoming illegible, Master Spas should be contacted to help provide a replacement label to be placed over the original ink screened warning.



6927 Lincoln Parkway, Fort Wayne, IN 46804
800.860.7727
[email protected]
MasterSpas.com
The manufacturer reserves the right to change specifications or features without notice. As a manufacturer of spas and related products we stand behind every product we produce pursuant to those representations which are stated in our written limited warranty. Your dealer is an independent business person or company and not an employee or agent of the manufacturer. We cannot and do not accept any responsibility or liability for any other representations, statements or contracts made by any dealer beyond the provisions of our written limited warranty.
![]()
POPAXISCOVOM
Rev. 202203
















