Whirlpool WDHG 861484 Fully Integrated Hotpoint Washer Dryer
THANK YOU FOR PURCHASING A HOTPOINT PRODUCT.
To receive more comprehensive assistance, register the appliance on www.hotpoint.eu/register
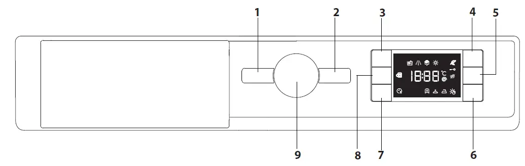
CONTROL PANEL
- ON/OFF button
- START/PAUSE button
- TEMPERATURE button
- ENERGY SAVER button
- DRY ONLY button / Lock button
- DRYING SETTINGS button
- START DELAY button
- SPIN SPEED button
- WASH CYCLE SELECTOR KNOB
DISPLAY INDICATORS
Washing phase![]()
Indicates washing phase of the cycle
Drying phase![]()
Energy Saver activated![]()
Key lock activated![]()
Drying only![]()
Time drying mode![]()
Drying automatic levels![]()
Start delay activated![]()
Door locked ![]()
WASH CYCLE TABLE
For wash programmes with temperatures above 50°C, we recommend using powder detergent rather than liquid and following the directions given on the detergent package.
This data may differ in your home due to changing conditions in inlet water temperature, water pressure etc. Approximate program duration values refer to the default setting of the programmes, without options. The values given for programs other than the Eco 40-60 program are indicative only.
For all Test Institutes
Eco 40-60 (Wash)- Test wash cycle in compliance with EU Ecodesign regulation 2019/2014. The most efficient programme in terms of energy and water consumption for washing normally soiled cotton laundry.
Eco 40-60 (Wash&Drying)- Test the wash&drying cycle in compliance with EU Ecodesign regulation 2019/2014. To access “wash and dry” cycle select “Eco 40-60” wash programme and set the “Drying” option level to “ ”. The most efficient program in terms of energy and water consumption for washing and drying normally soiled cotton laundry. At the end of cycle the garments can be immediately stored to the cupboard.
PRODUCT DESCRIPTION
- Worktop
- Detergent dispenser
- Control panel
- Door handle
- Door
- Water filter
- Adjustable feet (4)
Note: spin speed values shown on the display can slightly differs from the values stated in the table.
For all testing institutes:
- Long cotton cycle: set programme 5 at temperature 40°C.
- Long synthetics cycle: set cycle 6 at a temperature of 40°C.
- By selecting the cycle and excluding the spin cycle, the washer-dryer will drain only.
- The duration of the programme is shown on the display.
- After programme end and spinning with maximum selectable spin speed, in default programme setting.
- The display will show the suggested spin speed as default value.
DETERGENT DISPENSER
Compartment 1:
Do not insert detergent in this compartment.
Compartment 2: Washing detergent (powder or liquid)
Compartment 3: Additives (fabric softeners, etc.)
The fabric softener must not exceed the “MAX” level.
Use powder detergent for white cotton garments, for pre-washing, and for washing at temperatures over 60°C.
Follow the instructions given on the detergent packaging.
WASH CYCLES
Follow the instructions on the symbols of the garment’s wash care label. The value indicated in the symbol is the maximum recommended temperature for washing the garment.
Mixed Wash&Dry
use program 1 to wash and dry mixed garments (cotton and synthetics). This cycle may be used to wash and dry loads of up to 3,5 kg; we recommend the use of liquid detergent.
The use of the steam in this program is optimized to reduce the formation of creases on garments, making them easier to iron.
Shirts and T-shirts
Use program 2 to wash and dry shirts and T-shirts in different fabrics and colors to ensure maximum care. This cycle may be used to wash and dry loads of up to 2 kg. To achieve optimum results, use liquid detergent and pre-treat cuffs, collars, and stains. The use of the steam in this program is optimized to reduce the formation of creases on garments, making them easier to iron.
Pre Iron
Use this program immediately before ironing; max. 1,5 kg load. The use of the steam in this program is optimized to reduce the formation of creases on garments, making them easier to iron.
Steam Refresh
For refreshing garments, neutralized unpleasant odors and relaxed the fibers by delivering steam into the drum. The garments will be damp at the end of the cycle.
Cotton
Suitable for washing towels, underwear, table cloths, etc. made of resistant linen and cotton that are moderate to heavily soiled. Synthetics
Suitable for washing moderately soiled garments made of synthetic fibers (e.g. polyester, polyacrylic, viscose, etc.) or mixed synthetic-cotton fibers.
Anti Stain Quick
this program is ideal for washing the most difficult daily stains in 1 hour. It is ideal for mixed fabrics and colored garments, caring for your clothes as it washes.
If the drying function is selected, a drying cycle automatically activates at the end of the wash cycle that resembles open-air drying, with the added advantages of preserving garments from yellowing due to sunlight exposure and preventing loss of whiteness caused by the possible presence of dust in the air. Dryness level “
” recommended.
Anti Stain 40°
the program is suitable to heavily-soiled garments with resistant colors. It ensures a washing class that is higher than the standard class (A class). When running the program, do not mix garments of different colors. We recommend the use of powder detergent. Pre-treatment with special additives is recommended if there are obstinate stains.
If the drying function is selected, a drying cycle automatically activates at the end of the wash cycle that resembles open-air drying, with the added advantages of preserving garments from yellowing due to sunlight exposure and preventing loss of whiteness caused by the possible presence of dust in the air. Dryness level “
” recommended.
White
For heavily soiled whites and resistant colors.
Eco 40-60
For washing normally soiled cotton garments declared to be washable at 40 °C or 60 °C, together in the same cycle. This is the standard cotton program and the most efficient in terms of water and energy consumption.
20°C
For washing lightly soiled cotton garments, at a temperature of 20 °C.
Delicates
For washing very delicate garments. It is advisable to turn the garments inside out before washing them. For best results, use liquid detergent on delicate garments.
We recommend turning the garments inside out before washing and placing small items into the special bag for washing delicates. Use liquid detergent on delicate garments for best results.
When selecting an exclusively time-based drying function, a drying cycle is performed at the end of the wash cycle that is particularly delicate, thanks to light handling and appropriate temperature control of the water jet. The recommended durations are:
- 1 kg of synthetic garments –> 150 min
- 1 kg of synthetic and cotton garments –> 180 min
- 1 kg of cotton garments –> 180 min
- The degree of dryness depends on the load and fabric composition.
Wool – Woolmark Apparel Care – Green:
the wool wash cycle of this machine has been approved by The Woolmark Company for the washing of wool garments labelled as “hand wash” provided that the products are washed according to the instructions on the garment label and those issued by the manufacturer of this washer-dryer. (M1318)
Rapid 30‘
For washing lightly soiled garments in a short time. Not suitable for wool, silk and garments to be washed by hand.
Rinse & Spin
Designed for rinsing and spinning.
Spin & Drain
Designed for spinning and draining the water.
Door locked indicator
if the
symbol is of the door is locked. To prevent any damage, wait until the symbol turns on before opening the door. To open the door while a cycle is in progress, press the START/PAUSE button
; if the symbol
is lit, the door can be opened.
FIRST-TIME USE
Once the appliance has been installed, and before it is used for the first time, run a wash cycle with detergent and no laundry, by setting the cycle 9(60°C).
DAILY USE
Prepare the laundry by following the suggestions appearing under the “TIPS AND SUGGESTIONS” section.
- Press the ON/OFF button ; the indicator light relative to START/PAUSE will flash slowly.
- Open the door. Load the laundry while making sure not to exceed the maximum load quantity indicated in the wash cycle table.
- Pull out the detergent dispenser drawer and pour the detergent into the relevant compartments, as described in the “DETERGENT DISPENSER DRAWER” section.
- Close the door.
- The machine automatically displays the default temperature and spin speed values for the selected cycle, or the most recently used settings if they are compatible with the selected cycle.
- Select the desired wash cycle.
- Select the desired options.
STARTING CYCLE
Press the START/PAUSE
button.
The machine will lock the door (
symbol OFF) and the drum will start to rotate; the door will be unlocked (
symbol on) and then locked again (
symbol OFF) as preparation phase of each washing cycle. The “Clicking” noise is part of the door locking mechanism. Water will enter the drum and start the washing phase once the door is locked.
PAUSING A CYCLE
To pause the wash cycle, press the START/PAUSE
button again; the indicator light will flash. If the
symbol is lit, the door may be opened. To start the wash cycle from the point at which it was interrupted, press the START/PAUSE button again.
OPENING THE DOOR, IF NECESSARY
Once a cycle starts, the symbol
turns off to signal that the door cannot be opened. While a wash cycle is running, the door remains locked. To open the door while a cycle is under way, for example, to add or remove garments, press the START/PAUSE
button to pause the cycle; the indicator light will flash. If the
symbol is lit, the door may be opened. Press the START/PAUSE
button again to continue the cycle.
CHANGING A RUNNING WASH CYCLE
To change a wash cycle while it is in progress, pause the washer-dryer using the START/PAUSE
button (the relative indicator light will flash), then select the desired cycle and press the START/PAUSE
button again. To cancel a cycle that has already begun, press and hold the ON/OFF
button. The cycle will be stopped and the machine will switch off.
AT THE END OF THE WASH CYCLE
This will be indicated by the word “END” on the display; when the symbol
switches on, the door may be opened. Open the door, unload the laundry and switch off the machine. If you do not press “ON/OFF”
button, the washing machine will switch off automatically after about a 10 minutes. Close the water tap, open the door and unload the washing machine. Leave the door ajar to allow the drum to dry.
OPTIONS
- If the selected option is incompatible with the programme set, the incompatibility will be signalled by a buzzer and the corresponding indicator light will flash.
- If the selected option is incompatible with another previously set option, only the most recent selection will remain active.
Energy saver
This option saves energy by not heating the water used to wash your laundry – an advantage both to the environment and to your energy bill. Instead, intensified wash action and water optimisation ensure great wash results in the same average time of a standard cycle.
For the best washing results we recommend the usage of a liquid detergent.
Start Delay
To set the selected programme to start at a later time, press the button to set the desired delay time. The
symbol lights on the display when this function is enabled. To cancel the delayed start, press the button again until the value “0” is shown on the display.
Temperature
Each wash cycle has a pre-defined temperature. To modify the temperature, press the “Temp.” button. The value will appear on the display.
Spin
Each wash cycle has a pre-defined spin speed. To modify the spin speed, press the “Spin Speed” button. The value will appear on the display.
Setting the drying cycle
The first time the button “Drying Settings” is pressed, the machine will automatically select the maximum drying cycle which is compatible with the selected wash cycle. Subsequent presses will decrease the drying level and then the drying time, until the cycle is excluded completely (“OFF”). Drying may be set as follows:
- Based on the desired laundry dryness level:
Cupboard: suitable for laundry which can be put back in a cupboard without being ironed.
Hanger: ideal for clothes that do not need to be dried fully.
Iron: suitable for clothes which will need ironing afterward. the remaining dampness softens creases, making them easier to remove. - Based on a set time period: between 210 and 30 minutes.
If your laundry load to be washed and dried is much greater than the maximum stated load (see adjacent table of wash cycles), perform the wash cycle, and when the cycle is complete, divide the garments into groups and put some of them back in the drum. At this point, follow the instructions provided for a “Drying only” cycle. Repeat this procedure for the remainder of the load. Note: a cooling-down period is always added to the end of each drying cycle.
Drying only
Press the button “Dry only” to perform the drying-only cycle. After selecting the desired cycle (compatible with the type of garments), press button
“Dry only” to exclude the washing phase and start the drying phase at the maximum level for the selected cycle. The drying level or time may be set and changed by pressing the drying button “Drying Settings”.
KEY LOCK![]()
to lock the control panel, press and hold the button “Dry only” for approximately 3 seconds. the symbol
lights on the display to indicate that the control panel is locked (with the exception
of the button). This prevents unintentional changes to programmes, especially with children near the machine. If any attempt is made to use the control panel, the symbol
flashes on the display. To unlock the control panel, press and hold the button “Dry only” for approximately 3 seconds.
TIPS AND SUGGESTIONS
Divide the laundry according to:
Type of fabric (cotton, mixed fibres, synthetics, wool, garments to be hand-washed). Colour (separate colored garments from whites, wash new colored garments separately). Delicates (small garments – such as nylon stockings – and items with hooks – such as bras: insert them in a fabric bag).
Empty the pockets:
Objects such as coins or lighters can damage the washing machine and the drum. Check all buttons.
Follow the dosage recommendation/additives
It optimizes the cleaning result, it avoids irritating residues of surplus detergent in your laundry and it saves money by avoiding waste of surplus detergent
Use low temperature and longer duration
The most efficient programs in terms of energy consumption are generally those that perform at lower temperatures and longer duration.
Observe the load sizes
Load your washing machine up to the capacity indicated in the “PROGRAMME CHART” table to save water and energy.
Noise and remaining moisture content
They are influenced by the spinning speed: the higher the spinning speed in the spinning phase, the higher the noise and the lower the remaining moisture content.
CARE AND MAINTENANCE
Before performing cleaning and maintenance, switch the washing machine off and disconnect it from the mains power. Do not use flammable liquids to clean the washing machine. Clean and maintain your washer – dryer periodically (at least 4 times per year).
Disconnect the water and power supplies
Close the water tap after every wash. This will limit wear on the hydraulic system inside the washing machine and help to prevent leaks.
Unplug the washing machine when cleaning it and during all maintenance work.
Clean the washing machine
The outer parts and rubber components of the appliance can be cleaned using a soft cloth soaked in lukewarm soapy water. Do not use solvents or abrasives.
Clean the detergent dispenser drawer
Wash it under running water; this operation should be repeated frequently.
Care for the door and drum
Always leave the porthole door ajar in order to prevent unpleasant odours from forming.
Cleaning the water filter / draining residual water
Switch off and unplug the washing machine, take out the kitchen plinth before cleaning the water filter or draining residual water. The kitchen plinth must be mounted back all the time once the cleaning operation is over.
If you used a hot wash program, wait until the water has cooled down before draining any water. Clean the water filter regularly, to avoid that the water cannot drain after the wash due to obstruction of the filter. If the water cannot drain, the display indicates that the water filter may be clogged.
- Place a container close to the pump to collect any spillage.
- Remove, pulling it out, the “emergency drain hose” from the base of the washing machine.
Remove the stopper of the “emergency drain hose” at the end of the hose and let the water flow into the container.
- Turn the exhaust filter handle and pull it out of the housing. When the container of the plinth is full of water, plug the stopper to the hose end, and reinsert the small hose into the washing machine’s base. After, empty the container. Afterward firmly close the emergency drain hose with the stopper.
- Remove filter: Lay a cotton cloth beneath the water filter, which can absorb a small amount of the rest water. Then remove the water filter by turning it out anticlockwise.

- Clean the water filter: remove residues in the filter and clean it under running water.
- Insert the water filter: Reinsert the water filter again by turning it in a clockwise direction. Make sure to turn it in as far as it goes; the filter handle must be in a vertical position. To test the water tightness of the water filter, you can pour about 1 liter of water into the detergent dispenser.

Then reinstall the kitchen plinth.
Check the water inlet hose
Check the water inlet hose at least once a year. If it is cracked or broken, it must be replaced: during wash cycles, the high pressure of the water could suddenly split the hose open. Never use hoses that have already been used.
LOAD BALANCING SYSTEM
Before every spin cycle, to avoid excessive vibrations before every spin and to distribute the load in a uniform manner, the drum rotates continuously at a speed which is slightly greater than the washing rotation speed. If, after several attempts, the load is not balanced correctly, the machine spins at a reduced spin speed. If the load is excessively unbalanced, the washing machine performs the distribution process instead of spinning. To encourage improved load distribution and balance, we recommend small and large garments are mixed in the load.
TRANSPORT AND HANDLING
Do not lift the washer-dryer by gripping it from the upper section.
Unplug the appliance and close the water tap. Check that the door and detergent dispenser drawer are tightly closed. Detach the filling hose from the water tap then detach the drain hose. Empty all the water remaining in the hoses and secure the latter so that they do not get damaged during transport. Apply the transport bolts back on. Repeat, in reverse order, the transport bolt removal procedure described in the “Installation instructions”.
TROUBLESHOOTING
Your washer-dryer could occasionally fail to work. Before contacting the Technical Assistance Service, make sure that the problem cannot be easily solved using the following list.
| Anomalies | Possible causes / Solution |
| The washer-dryer does not | The appliance is not plugged into the socket fully, or not enough to make contact. |
| start. | There is no power in the house. |
| The wash cycle does not start. | The washer-dryer door is not closed properly. |
| The ON/OFF | |
| The START/PAUSE | |
| The water tap has not been opened. | |
| A delay has been set for the start time. | |
| The washer-dryer does not fill with water (“H2O” appears on the display). | The water inlet hose is not connected to the tap. |
| The hose is bent. | |
| The water tap has not been opened. | |
| There is no water supply in the house. | |
| The pressure is too low. | |
| The START/PAUSE | |
|
The washer-dryer continuously loads and unloads water. | The drain hose is not fitted between 65 and 100 cm from the floor. |
| The free end of the hose is immersed in water. | |
| The wall drainage system is not fitted with a breather pipe.
If the problem persists even after these checks, turn off the water tap, switch the appliance off and contact the Technical Assistance Service. If the home is on one of the upper floors of a building, there may be problems relating to back-siphonage, causing the washer-dryer to fill with water and drain continuously. Special anti-siphon valves are available in shops and help to prevent this inconvenience. | |
| The washer-dryer does not drain or spin. | The cycle does not include drainage: with certain cycles it must be started manually. |
| The drain hose is bent. | |
| The drainage duct is clogged. | |
| The washer-dryer vibrates a lot during the spin cycle. | The drum was not unlocked correctly during installation. |
| The washer-dryer is not level. | |
| The washer-dryer is tucked between furniture cabinets and the wall. | |
| The washer-dryer leaks. | The water inlet hose is not screwed on properly. |
| The detergent dispenser drawer is obstructed. | |
| The drain hose is not properly attached. | |
| The START/PAUSE indicator light flash rapidly and an error code appears on the display (e.g.: F-01, F-..). | Switch off the machine and unplug it, wait for approximately 1 minute and then switch it back on again. If the problem persists, contact the Technical Assistance Service. |
| There is too much foam. | The detergent is not suitable for machine washing (it should display the text “for washer-dryers” or “hand and machine wash”, or the like). |
| Too much detergent was used. | |
| The washer-dryer does not dry. | The appliance is not plugged into the socket, or not enough to make contact. |
| There has been a power failure. | |
| The appliance door is not shut properly. | |
| A Delay has been set. | |
| DRYING is in the OFF position. | |
| The machine can be heard taking in water during the drying cycle. | It is normal for the machine to take in short bursts of water during the drying cycle. This helps keep some internal parts cool, and aids speed of drying. |
DEMO MODE: to deactivate this function, switch the washer-dryer OFF. Than press and hold “Start/Pause”
button, within 5 seconds press also “ON/OFF”
button and hold both buttons for 2 seconds.
Policies, standard documentation, ordering of spare parts and additional product information can be found by:
- Visiting the website http://docs.hotpoint.eu and parts-selfservice.hotpoint.com
- Using the QR code.

- Alternatively, contact our Technical Assistance Service (the telephone number is indicated in the warranty booklet). When contacting the Technical Assistance Service, provide the codes shown on the adhesive label applied to the inside of the door.
For User’s Repair & Maintenance Information visit www.hotpoint.eu
The model information can be retrieved using the QR-Code reported in the energy label. The label also includes the model identifier that can be used to consult the portal of the registry at https://eprel.ec.europa.eu





Remove the stopper of the “emergency drain hose” at the end of the hose and let the water flow into the container.



















