
ECNK90
Island Extractor
Installation, use and maintenance

www.cda.eu
Cod:0103086432-00.05
Important
The CDA Group Ltd. cannot be held responsible for injuries or losses caused by incorrect use or installation of this product. Please note that The CDA Group Ltd. reserves the right to invalidate the guarantee supplied with this product following incorrect installation or misuse of the appliance or use in a commercial environment.
This appliance is not designed to be used by people (including children) with reduced physical, sensorial or mental capacity, or who lack experience or knowledge about it, unless they have had supervision or instructions on how to use the appliance by someone who is responsible for their safety.
Under no circumstances should any external covers be removed for servicing or maintenance except by suitably qualified personnel.
Appliance information:
Please enter the details on the appliance rating plate below for reference, to assist CDA Customer Care in the event of a fault with your appliance and to register your appliance for guarantee purposes.
| Appliance Model | |
| Serial Number |
Declarations of Conformity:
This appliance has been manufactured to comply with all EU & UK statutory requirements and complies with all applicable legislation and the following European Directives:
- The Low Voltage Directive 2014/35/EU
- Electromagnetic Compatibility Directive 2014/30/EU
The product has been marked with the UKCA and CE symbols.

This appliance is marked according to the European directive 2004/104/EC on Waste Electrical and Electronic equipment (WEEE).
IMPORTANT INFORMATION FOR CORRECT DISPOSAL OF THE PRODUCT IN ACCORDANCE WITH EC DIRECTIVE 2012/19/EU.
At the end of its working life, the product must be taken to a special local authority waste collection centre or to a dealer providing appliance recycling services. Disposing of a household appliance separately avoids possible negative consequences for the environment and health. It also enables the constituent materials to be recovered, saving both energy and resources. As a reminder of the need to dispose of household appliances separately, the product is marked with a crossed out wheeled dustbin. ![]()
Please note:
- Under no circumstances should the extractor be connected to any gas ventilation system, flue system or hot air ducting system.
- Do not vent the extractor into an attic or loft space.
- Only house the extractor in rooms with adequate ventilation. Remember that the extractor is powerful and whatever air is extracted needs to be replaced.
- Do not tile the extractor in. It should be removable for service or maintenance.
- Do not use silicone sealant to secure the hood to the wall.
- You must be able to isolate the extractor from the mains electrical supply after installation.
- Steam cleaners must not be used when cleaning this appliance.
- The performance of your extractor will vary depending on a number of factors. These include: type of extraction, length of ducting, room volume, ventilation available and cleanliness of the filters.
Using your extractor
For best performance, you should switch on the extractor 15 minutes before starting to cook and leave it to run for approximately 15 minutes after the end of cooking.

Control Panel
A – Power off button
B – Speed level buttons
C – Light button
To switch the extractor light on or off
- Press button “C”.
To switch on the extractor or to change the speed at any time when the extractor is running
- Press the relevant “B” button for the first, second or third speed level as required.
To switch the extractor off
- Press the “A” button.
Important: The lighting is intended to be used for the duration of cooking only. The lighting should not be used for ambient lighting purposes.
Care and maintenance
IMPORTANT: DO NOT PERFORM MAINTENANCE OR CLEANING OF THE EXTRACTOR WITHOUT FIRST SWITCHING OFF THE ELECTRICITY SUPPLY.
Cleaning
You should use a nonabrasive cleaner. Any abrasive cleaner (including Cif) will scratch the surface and could erase the control panel markings. You can clean your extractor effectively by simply using a dilute solution of water and mild detergent and drying to a shine with a clean cloth.
Cleaning the grease filter
The grease filter should be kept clean to minimise the risk of fire.
At least once a month, you should remove and clean the grease filter with hot soapy water. You can also wash the grease filter in a dishwasher (see note on page 8), ensuring that you place it in an upright position to prevent damage from other items in the dishwasher. After rinsing and drying, replace the filter.
To remove the grease filter
- Pull open the handle on the grease filter as shown in fig. 2. It will release at the handle side.
- Lower the grease filter to remove it completely.
To replace the grease filter
Repeat the steps on page 7 in reverse order.
Please note: Cleaning the grease filter in a dishwasher may lead to discolouration. This is normal and does not constitute a fault with the appliance.
Changing the charcoal filter (re-circulating only)
We recommend protecting any areas below and near the hob before and during this process to make sure nothing falls and causes damage.
To attach a new charcoal filter, first remove the grease filter as described on page 7. Remove any old charcoal filter and then offer up the magnetic side of the new charcoal filter to the metal extractor housing/opening (the same that holds the grease filter) so that it secures into place. Leave the tab on the filter accessible for when you need to remove it. Then, replace the grease filter.
Charcoal filters are available as an optional accessory from CDA
Customer Care under code CHA12.
Changing the light
In case of malfunction of the illumination system contact the technical service.
Replaceable (LED only) light source by a professional
The light is designed for use during cooking and not for general room illumination. Extended use of the light can reduce the life span of the bulb.
Mains electricity connection
THIS APPLIANCE MUST BE CONNECTED TO THE MAINS SUPPLY BY A COMPETENT PERSON, USING FIXED WIRING VIA A DOUBLE POLE SWITCHED FUSED SPUR OUTLET AND PROTECTED BY A 3A FUSE.
The appliance must be connected by a qualified electrician, who is a member of the N.I.C.E.I.C. and who will comply with the I.E.T. and local regulations.
The wires in the mains lead of this appliance are coloured in accordance with the following code:
BLUE = NEUTRAL, BROWN = LIVE, GREEN+YELLOW = EARTH
As the colours of the wires in the mains lead for the appliance may not correspond with the coloured markings identifying the terminals connecting to the fused spur, proceed as follows:
- The wire which is coloured blue must be connected to the terminal marked N (Neutral), or coloured black.
- The wire which is coloured brown must be connected to the terminal marked L (Live), or coloured red.
- The wire which is coloured green and yellow must be connected to the terminal marked E (Earth) or coloured green or green and yellow.
NOTE: USE A 3A FUSE
Assembly and electrical connection should be carried out by competent personnel. When installing this product we recommend you seek the help of another individual.
Do not mount the isolation switch behind the chimney section. It is a requirement that you must be able to isolate the extractor from the mains electrical supply after installation.
This appliance is intended to be connected to the mains electrical supply by means of an isolation switch and fused spur and is intended to be protected by a 3A fuse. The use of a 13A fuse can cause damage to the internal wiring in the event of a fault, and may also invalidate the warranty.
Electrical information
Mains electrical voltage: 230 - 240Vac, 50Hz
Total rated power consumption: 74W
Troubleshooting
If your extractor is not working:
- Check that the mains supply has not been switched off.
- Check that the fuse in the spur has not blown.
- If the motor is not working, check that the lights are. The power may have tripped, the fuse blown or the power may be turned off.
Installation – preparation
The extractor is intended to be mounted directly to a solid ceiling using fixings appropriate for the ceiling.
When the extractor is to be installed above an electric hob, the minimum distance between the hob and extractor must exceed 600mm for ceramic and solid plate hobs and 550mm for induction Hobs.
When the extractor is to be installed above a gas hob, the minimum distance between the hob and extractor must exceed 650mm.
If the instructions provided with your gas hob state that the required distance between the hob and extractor must be greater than 650mm, then that is the distance that should be observed; this is a legal requirement and may lead to your hob being disconnected from the gas supply and the installation being reported under RIDDOR (The height should be measured from the top of the burners).
IN THE ABSENCE OF ANY INSTRUCTIONS SUPPLIED WITH THE GAS HOB, THE MINIMUM DISTANCE BETWEEN THE HOB AND EXTRACTOR MUST BE AT LEAST 650mm.
The width of any hob must not be greater than the width of the extractor installed above it.
Ducting
The ducting used should be 150mm, rigid circular pipe and must be manufactured from fire retardant material, produced to BS 476 or DIN 4102-B1.
Wherever possible utilise rigid circular pipe which has a smooth interior, rather than the expanding concertina type ducting. The lengths of ducting with minimal effect on performance are as follows:
- 4 metres with 1 x 90° bend.
- 3 metres with 2 x 90° bends.
- 2 metres with 3 x 90° bends.
Longer ducting can be used but the performance of the extractor will likely be reduced.
Please note: Ducting components and ducting kits are optional accessories and have to be ordered, they are not automatically supplied with the hood. Use of ducting less than 150mm in diameter will affect performance and increase the noise produced by the extractor.
Note that the ducting should be secured and sealed to the vent outlet pipe / valve using appropriate jubilee clips or securing means.
Installation
Note
- We recommend that you seek the help of another individual when installing this product. Always wear adequate PPE (Personal Protective Equipment).
- The fixings supplied are suitable for most installations. It is the responsibility of the installer to ensure that the fixings are suitable for the ceiling type in the property.
Installation steps
1. Firstly, fix the vent outlet to the extractor body using four screws, as shown in fig 5.
2. Using the supplied template, mark the positions of the ceiling mounting screws and the cut-out for the ducting pipe, if required.
Fix four suitable wall plugs into the holes and proceed to assemble the extractor, as per fig 6.
3. To determine the overall height of the chimney section, use the calculation shown on this page for your extractor (also refer to fig 4):
A = Height of gas hob burner or electric hotplate height from the kitchen floor
B = Clearance required: Gas hobs 750mm recommended Electric hobs: 650mm recommended
A + B is the required height of the body of the extractor above the floor.
Next you need to calculate the required height of the extractor.
Whole extractor height = ceiling height height above floor (A+B).
4. Assemble the support sections 1, 2 3 and 4 on the diagram in fig 7, using the supplied fixing screws and fix to the chimney body. Measure the height of the chimney and ensure that it is equal to or less than the height calculated in step 3. (When the extractor is mounted the height between the hob and extractor must be at least the minimum height specified). Connect the mounting frame at the required height as per Figs. 10 and 11.
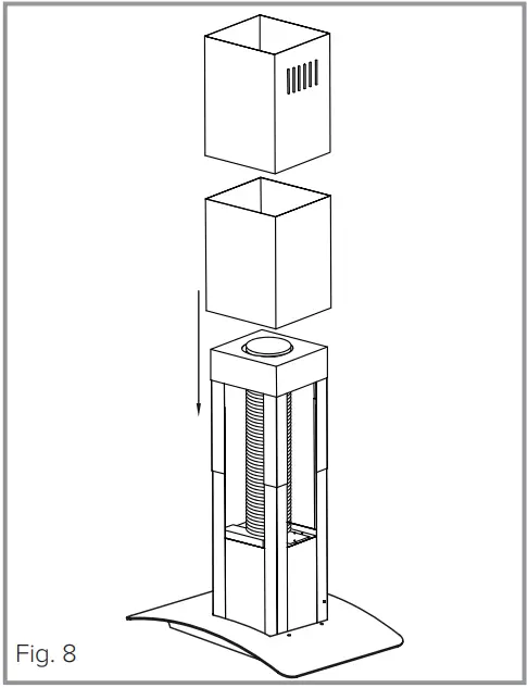
5. Place the chimney sections over the body assembly, as shown in fig 8.
6. With the help of another individual, raise the whole assembly to the ceiling and fix securely in place using four screws appropriate for the wall plugs inserted in step 2. Ensure that the supporting ceiling is strong enough to take the weight before releasing the extractor.
7. Connect the ducting to the extractor vent outlet, securing it in place with a worm-drive hose clamp (jubilee clip).
8. Finally, raise the inner section of the chimney to the ceiling and secure in place using the two small screws supplied
9. Note that the electrical connection to the extractor must not be located inside the boundaries of the chimney. There must be an isolation switch so that the extractor can be disconnected from the mains electrical supply after installation.


NOTES:
| Energy Efficiency Information | |||
| Attribute | Symbol | Value | Units |
| Model Identification | ECNK90 | ||
| Annual Energy Consumption | AECHood | 12.1 | kWh |
| Time increase factor | f | 0.7 | |
| Fluid Dynamic Efficiency | FDEHood | 35.9 (A) | |
| Energy Efficiency Index | EEIHood | 32.4 (A++) | |
| Measured airflow at Best Efficiency Point | QBEP | 261.9 | m3 /h |
| Measured Pressure at Best Efficiency Point | PBEP | 178 | Pa |
| Maximum airflow | QMAX | 627 | m3 /h |
| Measured electric power at Best Efficiency Point | WBEP | 36.1 | W |
| Nominal lighting power | WL | 4 | W |
| Average illumination of the lighting system on the cooking surface | EMiddle | 440 | Lux |
| Measured power consumption in standby | PS | 0.4 | W |
| Measured power consumption off mode | PO | 0 | W |
| Sound power level | LWA | 61.0 | dBA |
| Grease Filter Efficiency | GFEHood | 81.3 (C) | % |
| Lamp efficiency | LEHood | 110 (A) | % |
E & O E. All instructions, dimensions and illustrations are provided for guidance only. CDA reserve the right to change specifications without prior notice.


For service or queries relating to your product please contact:
The Customer Care Department on 01949 862 012 or email [email protected]
For more information please contact:
The Sales Department on 01949 862 010 or email [email protected]
Customer Care Department. The CDA Group Ltd, Harby Road, Langar, Nottinghamshire, NG13 9HY
T: 01949 862 012 F: 01949 862 003 E: [email protected]
Installation – preparation
Installation



















