CDA CST61 Extractor Instruction Manual

Important
The CDA Group Ltd cannot be held responsible for injuries or losses caused by incorrect use or installation of this product. Please note that CDA reserve the right to invalidate the guarantee supplied with this product following incorrect installation or misuse of the appliance or use in a commercial environment.
This appliance is not designed to be used by people (including children) with reduced physical, sensorial or mental capacity, or who lack experience or knowledge about it, unless they have had supervision or instructions on how to use the appliance by someone who is responsible for their safety.
Under no circumstances should any external covers be removed for servicing or maintenance except by suitably qualified personnel.
Appliance information:
Please enter the details on the appliance rating plate below for reference, to assist CDA Customer Care in the event of a fault with your appliance and to register your appliance for guarantee purposes.

Declarations of Conformity:
This appliance has been manufactured to comply with all EU & UK statutory requirements and complies with all applicable legislation and the following European Directives:
- The Low Voltage Directive 2014/35/EU
- Electromagnetic Compatibility Directive 2014/30/EU
The product has been marked with the UKCA and CE symbols.
![]()
This appliance is marked according to the European directive 2004/104/EC on Waste Electrical and Electronic equipment (WEEE).
IMPORTANT INFORMATION FOR CORRECT DISPOSAL OF THE PRODUCT IN ACCORDANCE WITH EC DIRECTIVE 2012/19/EU.
At the end of its working life, the product must be taken to a special local authority waste collection centre or to a dealer providing appliance recycling services.
Disposing of a household appliance separately avoids possible negative consequences for the environment and health. It also enables the constituent materials to be recovered, saving both energy and resources. As a reminder of the need to dispose of household appliances separately, the product is marked with a crossed-out wheeled dustbin. ![]()
Please note:
- Under no circumstances should the extractor be connected to any gas ventilation system, flue system or hot air ducting system.
- Do not vent the extractor into an attic or loft space.
- Only house the extractor in rooms with adequate ventilation. Remember that the extractor is powerful and whatever air is extracted needs to be replaced.
- Do not tile the extractor in. It should be removable for service or maintenance.
- Do not use silicone sealant to secure the hood to the wall.
- You must be able to isolate the extractor from the mains electrical supply after installation.
- This extractor has been designed to be used in a room with a volume of less than 36m3
- Steam cleaners must not be used when cleaning this appliance.
- The performance of your extractor will vary depending on a number of factors. These include: type of extraction, length of ducting, room volume, ventilation available and cleanliness of the filters.
Using your extractor
For best performance, you should switch on the extractor 15 minutes before starting to cook and leave it to run for approximately 15 minutes after the end of cooking.
Control Panel

A – Neon Indicator
B – Light button
C – Off button
D – Speed level buttons
To switch the extractor light on or off
- Press button “B”.
To switch on the extractor or to change the speed at any time when the extractor is running
- Press the relevant “D” button for the first, second or third speed level as required. The neon light “A” illuminates to show that the extractor is running.
To switch the extractor off
- Press button “C”.
Care and maintenance
IMPORTANT : DO NOT PERFORM MAINTENANCE OR CLEANING OF THE EXTRACTOR WITHOUT FIRST SWITCHING OFF THE ELECTRICITY SUPPLY.
Cleaning
You should use a nonabrasive cleaner. Any abrasive cleaner (including Cif) will scratch the surface and could erase the control panel markings.
You can clean your extractor effectively by simply using a dilute solution of water and mild detergent and drying to a shine with a clean cloth, such as a clean micro fiber cloth.
Cleaning the grease filter
The grease filter should be kept clean to minimize the risk of fire.
At least once a month you should remove and clean the grease filter with hot soapy water. You can also wash the grease filter in a dishwasher, ensuring that you place it in an upright position to prevent damage from other items in the dishwasher.
See the next page for how to remove and replace the grease filter.

To remove the grease filter
- Open the grease filter cover by sliding the retaining clips across.
- Remove the wire filter clip then lift out the grease filter itself (shown as “G” in figure 2).
To replace the grease filter
- Repeat the steps above in reverse.
Please note: Cleaning the filter in the dishwasher may lead to discoloration. This is normal and does not constitute a fault with the appliance.
Changing the charcoal filter (re-circulating only)
(Charcoal filter – CDA part number: CHA36)
To ensure best performance of your extractor, you should replace the charcoal filter every four to six months, depending on use. See page 14 for information on how to fit a new filter.
Changing the light bulb
DO NOT CHANGE THE LIGHT BULB IMMEDIATELY AFTER USE AS THE BULB WILL BE HOT. ALLOW IT TO COOL BEFORE REMOVING IT. ENSURE POWER TO THE EXTRACTOR IS OFF.
Open the base of the extractor as described on the previous page, unscrew the light bulb and replace it with a new one (type SES halogen screw fitting (E14), 240V max 5.5W LED). We recommend wearing gloves for this process to prevent premature failure of the light. Finally, replace the grease filter.
Do not touch the bulb or adjacent areas during or straight after prolonged use of the light.
The light is designed for use during cooking and not for general room illumination. Extended use of the light can reduce the life span of the bulb.
Bulb replacement is not covered by the guarantee.
Only use the bulb recommended for your extractor. Do not fit a bulb of a higher power rating. Bulbs of a lower power rating may be adequate for use, generally last longer and use less energy.
Spare bulbs are available from CDA Customer Care or from your local DIY shop.
Mains Electricity Connection

THIS APPLIANCE MUST BE CONNECTED TO THE MAINS SUPPLY BY A COMPETENT PERSON, USING FIXED WIRING VIA A DOUBLE POLE SWITCHED FUSE SPUR OUTLET AND PROTECTED BY A 3A FUSE.
We recommend that the appliance is connected by a qualified electrician, who is a member of the N.I.C.E.I.C. and who will comply with the I.E.T. and local regulations.
The wires in the mains lead of this appliance are coloured in accordance with the following code:
Green & Yellow = Earth
Blue = Neutral
Brown = Live
As the colours of the wires in the mains lead for the appliance may not correspond with the coloured markings identifying the terminals
connecting to the fuse spur, proceed as follows:
- The wire which is coloured green and yellow must be connected to the terminal marked E (Earth) or coloured green.
- The wire which is coloured blue must be connected to the terminal marked N (Neutral) or coloured black.
- The wire which is coloured brown must be connected to the terminal marked L (Live), or coloured red.
Note: Use a 3A Fuse.
Assembly and electrical connection should be carried out by specialised personnel.
When installing this product we recommend you seek the help of another individual.
Electrical information
Mains electrical voltage: 230 – 240Vac.
Total rated power consumption: 70.5W.
Troubleshooting
Please note:
Your extractor is equipped with a motor protection device that will switch off the motor to prevent damage from overheating. This may
happen during cooking when most or all of the zones/burners are being used simultaneously, or if your extractor is installed lower than the recommended height above the hob. This is normal, and the extractor will work again once the motor has cooled sufficiently.
If your extractor is not working:
- Check that the mains supply has not been switched off.
- Check that the fuse in the spur has not blown.
Installation
When the extractor is to be installed above an electric hob, the minimum distance between the hob and extractor must exceed 600mm (650mm is recommended).
When the extractor is to be installed above a gas hob, the minimum distance between the hob and extractor must exceed 700mm (750mm is recommended).
If the instructions provided with your gas hob state that the required distance between the hob and extractor must be greater than 700mm, then that is the distance that should be observed; this is a legal requirement and may lead to your hob being disconnected from the gas supply and the installation being reported under RIDDOR (the height should be measured from the top of the burners).
IN THE ABSENCE OF ANY INSTRUCTIONS SUPPLIED WITH THE GAS HOB, THE MINIMUM DISTANCE BETWEEN THE HOB AND EXTRACTOR MUST BE AT LEAST 760mm.

The width of any hob must not be greater than the width of the extractor installed above it.
Mounting your extractor
The extractor can be mounted in two ways:
To fasten the product to the underside of a bridging cabinet:
- Remove the grease filter cover.
- Screw the hood directly to the cabinet using appropriate wood screws (these are not supplied).
- Replace the grease filter cover

To mount the hood on to a wall:
- Remove the grease filter and cover.
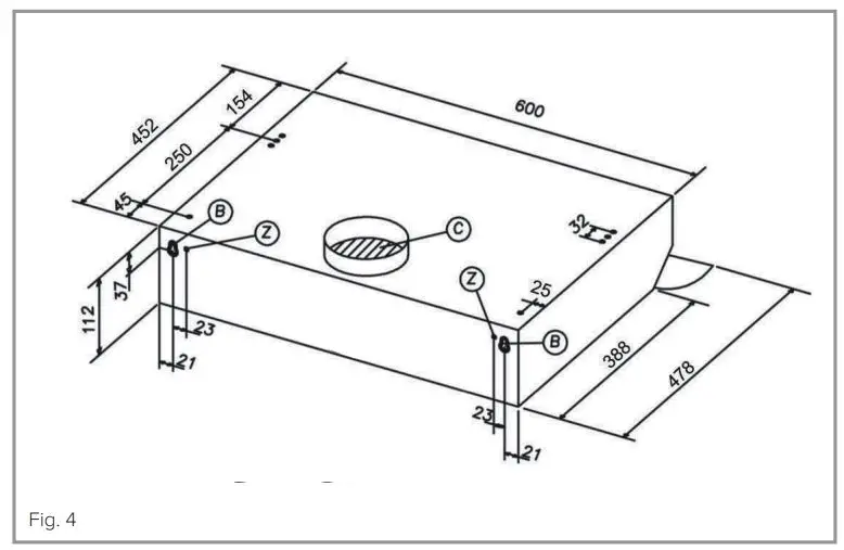
- Drill four holes as shown as “B” and “Z” in Fig. 4.
Please note: The size required for the holes is dependent on the wall fixings to be used. - Insert wall fixings into all four holes.
- Tighten the fixing screws “B”, leaving approximately 3mm proud of the wall.
- Hang the extractor on the fixing screws “B” and insert fixing screws “Z” to secure into position.
- Replace the grease filter cover.
Selecting operating mode
When setting up this extractor it is necessary to set an internal lever to select either “extraction” (A) or “recirculation” (F) mode.

Extraction mode
For extraction mode, set the lever “L” (Fig. 5) to position “A” (the left hand side). The extracted air is then routed through the outlet “C” (Fig. 4).
Recirculation mode
For recirculation mode, set the lever “L” (Fig. 5) to position “F” (the right hand side). Then, fit the outlet cover (pictured below) to the outlet marked ‘C’ in fig. 4. Secure this cover in place with the two screws provided.

Fitting the charcoal filter
For recirculation mode, fit a filter to the motor assembly. Remove any old filter first and then insert a replacement until it clicks into place (Fig. 6).


E & O E. All instructions, dimensions and illustrations are provided for guidance only. CDA reserve the right to change specifications without prior notice.


For service or queries relating to your product please contact:
The Customer Care Department on 01949 862 012 or email [email protected]
For more information please contact:
The Sales Department on 01949 862 010 or email [email protected]
Customer Care Department. The CDA Group Ltd, Harby Road, Langar, Nottinghamshire, NG13 9HY
T: 01949 862 012 F: 01949 862 003 E: [email protected]
VER 2111


















