Hockvill H-01 LCD Writing Tablet
OVERVIEW
Pinch the bottom of the Stylus and lift it upward to remove it easily.
About us
Our team aims at providing you with the best purchase experience. If for any reason you are not completely satisfied with your purchase, please feel free to contact us. Our customer service team will always try the best to offer you the most satisfactory service.
How to use
- Writing or drawing on LCD screen area directly with stylus.
- Press “Erase Button” to clear the writing area.
Note: The “Erase Lock” is off in default.- When “Erase Lock” is off
,the “Erase Button” is disabled. - When “Erase Lock” is on
,the “Erase Button” is available.
- When “Erase Lock” is off
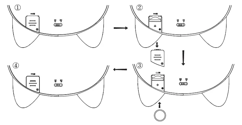
Battery Replacement
- CD Remove battery case.
- Pull out battery.
- Replace the battery.
- Insert battery case.
Battery Information
Requirs one CR2025[3V] battery (included), the battery is already in equipment. The included battery can last about one year.
Warning
- Avoid continuous exposure to sunlight.
- Do not get product wet or submerged in water.
- This product can not transfer data or images to or from any other devices.
- Please do not press too hard or write with objects that could damage the screen.
- To achieve better writing experience and to avoid scratching the screen, please use the matching stylus.
- Cleaning: Please clean gently with soft cloth. Storage Temperature: -10°C-60°C. Operating Temperature: 10°C-40°C.
- Not suitable children under 3-year old. Contains small parts careful of danger of swallowing by chidren.























