HINKLEY 41103 Axis LED 13 Inch Wall Sconce in Heritage Brass

Assembly Instructions
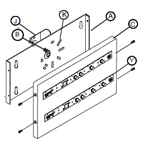
For junction box mounting:

- To begin remove mounting plate (A) from backplate(C) by removing the four screws (E) located on the side of fixture see drawing 2.
- Next determine which knockouts (K) need to be removed in order to secure mounting plate (A) to the junction box (J)
- Use two 8-32 screws (not provided) (B) to secure mounting plate (A) to junction box (J)
- Next assemble finial at bottom of fixture secure lock ups (L) on top of diffuser (D) and finial (F).
- Connect black live wire (W) on fixture to supply wire inside junction box (X) using wire nuts provided
- Connect white neutral wire (Z) on fixture to neutral wire inside junction box (Y) using wire nuts provided.
- To ground fixture fasten ground wire to ground screw inside mounting plate
- Attach backplate (C) to mounting plate using the four screws provided
- Line up holes from backplate(C), shade (G), and diffuser (D).
- Next screw in ball knobs (H) in those holes so that the backplate, shade and diffuser are all assembled
JUNCTION BOX MOUNTING

NON-JUNCTION BOX MOUNTING

For non-junction box mounting:
- Knockout the four holes indicated on drawing 3.
- For conduit mounting knockout ring around wire entry (U)
- Place the four wall anchors (N) into the wall in a square The four wall anchors should line up with the four knockouts.
- Secure mounting plate by placing screws (S) in the wall anchors.
- Connect black supply wire (X) on fixture to supply wire inside junction box using wire nuts provided
- Connect white neutral wire (Y) on fixture to supply wire inside junction box using wire nuts provided
- To ground fixture wrap ground wire around ground screw inside mounting plate
- Attach bottom diffuser (D) using lock up (L)
- Attach backplate (C) to mounting plate using the four screws provided(E).
- Line up holes from backplate(C), shade (G), and diffuser (D).
- Next screw in ball knob (H) in those holes so that the backplate, shade and diffuser are all assembled
WIRING

REPLACEMENT PARTS

41103

41104


41503

41504


41603

41604

LED replacement
UNMOUNTING FIXTURE

LED REPLACEMENT

WIRING LED

start here
- To replace LED, first make sure that there is no power to the LED
- To remove fixture from mounted location unscrew the four screws that hold backplate to mounting plate (Refer to drawing 1)
- Disconnect both supply and neutral wires that connect the fixture to junction box or other power supply
- Remove shade and diffusers from fixture so that LED is accessible (Refer to assembly Instructions on page 1)
- Disconnect neutral and supply wires that connect the LED to the fixture . This can be done by pushing down on the push in connectors with a pen or small screwdriver, and simultaneously pulling the wires out. (Refer to drawing 3)
- Remove defected LED by removing the small screws that hold in the LED board to the backplate
- To attach new LED board use hex nuts and screws that were used to attach the previous LED to the backplate. The gray thermal PAD that rested in-between the LED and backplate can be reused and should be placed between the new LED and backplate.(Refer to drawing 2)
- Reconnect wires from the fixture to the new LED. This can be done by pushing down on the push in connectors with a pen or small screwdriver, and simultaneously pushing the wires into the connectors. (Refer to drawing 3)
- Reassemble shade and diffusers onto fixture. (Refer to assembly Instructions on page 1)
- Remount fixture to its original location and restore power. (Refer to drawing 1)
HINKLEY 33000 Pin Oak Parkway, Avon Lake, OH 44012 800.446.5539 / 440.653.5500 hinkley.com

















