RAPTURE RPT-WSL200B Racing Wheel Stand LAPS

THANK YOU FOR CHOOSING US!
We value your trust. We hope that you will be happy with our product, and as excited about it as we are. We try to offer products of the highest quality that satisfy even the most demanding requirements. If you are satisfied, it would make us very happy if you choose us again the next time you make a purchase.
SAFETY INFORMATION
- Read this manual before starting the installation.
- Please make sure that the complete package has been delivered to you. If there happens to be something missing or damaged, contact the seller.
- Caution: Using this product with heavier weight than
- Listed may result in damage or serious injury.
- The product must be installed as instructed. Failure to follow the instructions may result in damage or serious injury.
- Appropriate tools and safety aids must be used during installation. This product should only be installed by professionals.
- Make sure you install the product on a surface that can handle the combined weight of the product and the installed device with all of its components.
- Use the product only for its intended purpose.
- This product is not a toy. It may contain small parts.
- Keep out of the reach of children.
- This product is not recommended for use by children without supervision.
- This product is intended for indoor use only. Outdoor use may result in product damage or injury. Store the product in a clean and dust-free environment
- Do not expose the product to high or low temperatures. Keep the product dry.
- Do not disassemble the product. Improper modifications can damage the product and cause serious injuries.
- Caution: Do not apply excessive force to tighten to the screws in order to avoid tearing the thread.
- Maintenance: Check product safety at regular intervals (at least every 3 months).
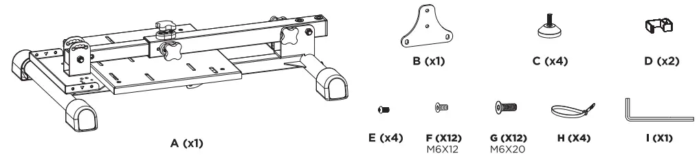
PARTS
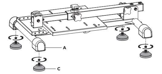
INSTALLATION INSTRUCTION





CAUTION: Do not pull the column out beyond the MAX marking found on the column.
WARRANTY & SUPPORRT
Your new product is protected by our 24-month warranty, or extended warranty (if stated), which you can apply at any of our points of sale. For inquiries, you can use thee contact form or one of our international call centers.
- United Kingdom
- +44 (0)203 514 4411

- Online: www.alzashop.com/contact
- www.rapture-gaming.com
- Co. Reg. No. 27082440
- Alza.cz a.s., Jankovcova 1522/53, 170 00 Prague 7, Czech Republic
- 2022 Alza. cz a.s. All Rights Reserved.





























