User Manual
E130

4CH Single-Rotor Flybarless Helicopter
6-Axis Electronic Gyroscope To Keep Fly Stably
Adopting 2.4Ghz communcation protpcol

Package Content

| NO. | PARTS | QUANTITY |
| 1 | PVC packaging | 1 |
| 2 | User Manual | 1 |
| 3 | Helicopter | 1 |
| 4 | Transmitter | 1 |
| 5 | Charger | 1 |
| 6 | Battery 7.4v 700mah 20C | 1 |
| 7 | Cross Screwdriver/Hex Wrench | 1 |
| 8 | Main Propeller & Tail Propeller | 1 |
NOTICE
All instructions, warranties, and other collateral documents are subject to change at the sole discretion of our company. For up-to-date product literature, please visit www.eachine.com
WARNING
Read the ENTIRE user manual to become familiar with the features of the product before operating. Failure to operate the product correctly can result in damage to the product, personal property and cause serious injury. This is a sophisticated hobby product. It must be operated with caution and common sense and requires some basic mechanical ability. Failure to operate this product in a safe and responsible manner could result in injury or damage to the product or other properties. This product is not intended for use by children without direct adult supervision. This manual contains instructions for safety, operation, and maintenance. It is essential to read and follow all the instructions and warnings in the manual, prior to assembly, setup or use, in order to operate correctly and avoid damage or serious injury.
ADDITIONAL SAFETY PRECAUTIONS AND WARNINGS
- Age Recommendation: Not for children under 14 years. This is not a toy.
- Always operate your model in open spaces away from full-size vehicles, traffic, and people.
- Follow the operation notice, warning, and any support equipment(charger, battery, etc) carefully.
- Keep away from any chemicals; keep children away from any small parts and electrical equipment.
- Always keep away from water, especially for this product doesn’t have a waterproof function; lt will be damaged by moisture.
- Never place any portion of the model in your mouth as it could cause serious injury or even death.
- Never operate your model with low voltage transmitter batteries.
INTRODUCTION
This is a super classic helicopter with excellent flight performance. Flybarless design decreases the resistance of the rotor head. Quote to aerodynamics, the blades can supply strong power and keep stability. Using new type gyro, compatible with 3D and 6G modes. You can make a variety of stunts by 3D mode;6G mode is suitable for beginners especially.
After flying this mini helicopter, you will find other mini helicopters which you have flying are eclipsed, This is an incomparable and popularization helicopter. Beginners will find it is easy to fly, masters will find it is interesting. It is worth being possessed.
This manual with detailed instructions will help you learn more about the product. Please read it before your flying.
HELICOPTER PARAMETERS
| Length | 345 MM |
| Height | 108 MM |
| Weight | 131g |
| Length of Main Propeller | 320MM |
| Landing gear width | 62MM |
| Battery | 7.4v 700mah 20C |
| Flight Time | 15-20 Min |
| Main Motor | 50 |
| Tail Motor | 8520 |
WARNING AND THE GUIDE OF BATTERY USAGE

To ensure safety, please use the included standard charger
WARNING: lt is recommended to use the original power supply charger when charging, otherwise property damage and injury may occur.
Notice: When it is lower than 7.4V, the lithium battery may be damaged, or it may no longer be charged. When the battery voltage is lower than 7.4V, and the flight power decrease sharply, please land immediately and charge the battery in time.
BATTERY CHARGING
- The user should connect to the power adapter with a USB port or connect to the USB port of the computer.
- Connect the USB cable to the power adapter, the USB charger red light flashes at the same time.
- The partial voltage charging head of the battery is connected with the USB cable. At this time, the USB charger’s red light is always on, and charging is in progress.
- When the USB charger red light is off, charging is completed.

Warning
- To ensure safety, please charge under the supervision of someone.
- Children cannot change alone, they should charge with the assistance of an adult.
- Please use the original standard charger of this product for charging. The charger of unknown origin may cause a fire and explosion accident.
- lt is recommended that users prepare their own 2A current adapter, which will shorten the charging time.
NOTICE BEFORE FLIGHT:
- Check if the transmitter power supply is sufficient, whether the helicopter power supply is sufficient
- Please make sure the transmitter throttle stick is at the bottom when turning on the transmitter
- Confirm if the transmitter and the helicopter are in the same frequency, re-check the code if it is abnormal
- Firstly turn on the transmitter when powering on, then connect the battery to the receiver for binding. Firstly unplug the cable between the battery and the receiver when powering off, and then turn off the transmitter.
- Find a suitable place for safe and happy flying. Keep away from crowds, cars, high voltage towers, ponds, etc.
BINDING BETWEEN THE TRANSMITTER AND RECEIVER
- Turn on the remote control, the remote control emits a long beep, and the power indicator of the remote control flashes
- Turn on the power switch of the helicopter, the receiving board indicator will flash at this time. Move the throttle stick to the top and then to the bottom, the remote control will emit a beep and the remote control indicator changes to solid on. The indicator on the receiving board also changes to solid on, then the binding is complete.
- If the linking is unsuccessful, please disconnect the power of the helicopter and turn off the remote control, repeat the above steps, and bind again.
AIRCRAFT HORIZONTAL CALIBRATION
- When the aircraft appears obvious orbit deviation, the flight attitude can be corrected by horizontal calibration.
- Hold the left and right joystick at the same time to the bottom left corner for 1-2 seconds as shown, At this time, the aircraft indicator light enters quick flashes. The aircraft enters the horizontal calibration, waiting for the aircraft indicator lights to return to long light, the calibration is completed.
Special note: For calibration, find a relatively flat field to ensure the helicopter and the ground at the same level as possible as you can. After the aircraft enters the calibration procedure, it shall be ensured that the aircraft is still, and the aircraft cannot be moved until the calibration is completed.
HOVER SETTING
The aircraft you purchased has been set before leaving the factory. If the aircraft cannot enter the hover well, you can set it through the following steps.
- Power up the plane, match the frequency, and take off.
- In flight, long-press the hover setting button to enter the setting. The remote control makes a beep sound and the indicator light starts to flash.
- According to the yaw direction of the aircraft, push the Trim Button of the corresponding channel in the opposite direction until the aircraft hovers smoothly.
- Land the aircraft and press the hover setting button to exit the setting. At this time, the remote control will emit beep and the indicator light will return to Solid on.
- Restart the plane and reset the power of the remote, bind again for fly.

INITIAL FLIGHT
If you are not familiar with the control of the Helis, take a few minutes to get familiar with them and then try your first flight.


START YOUR FIRST FLIGHT
- Put the helicopter on the horizontal ground after successful binding, ensure the helicopter tail point you and the head in the front.
- As shown in the figure, simultaneously move the joystick to the lower-left corner and the lower right corner respectively, the motor starts. Operate the joystick as the figure shows again, the motor turnsoff immediately.
Note: Keep the throttle stick at the bottom position for2-3 seconds after the helicopter landed. Then you release the sticks after the motors stop rotating.
ABOUT REMOTE CONTROLLER

RIGHT-HAND THROTTLE

LEFT-HAND THROTTLE

- The transmitter can support MODE1/MODE2 conversion. Press the D/R button to switch, then to bind and fly.
- Turn off transmitter, and then power it on, it will be back to default setting.
FLIGHT BATTERY INSTALLMENT
- Install the battery into the rack and connect it properly with the receiving power.
- Once the battery is connected, the signal starts to blink. Keep it still and wait until the signal light stops blinking, which means the receiver has completed self-inspection and gets ready for flight.

TROUBLESHOOTING
| Problem | Cause | Solution | |
| 1 | After connecting the battery to the receiver, the receiver indicator keeps flashing but does not respond to operations. | Transmitter and receiver failed to match code | Please re-execute the connection operation of the transmitter and receiver connection code (refer to PS transmitter and receiver connection code) |
| 2 | After the battery is connected to the receiver, the helicopter does not respond | Check whether the transmitter and the receiver are connected to the power supply, check the battery voltage of the transmitter and the receiver, and the battery pole pieces are in poor contact. | Turn on the transmitter and confirmed. Use a fully charged battery, reinsert the battery, and confirm whether the battery is in normal contact with the battery pole piece. |
| 3 | When pushing the throttle stick, the motor does not turn and the receiver indicator light starts to flash. | The helicopter battery voltage is insufficient, and the battery plug is in poor contact with the receiver socket. | Charge the battery or replace it with a fully charged battery. Reconnect the battery to the receiver. |
| 4 | Connect the battery to the receiver and the helicopter will take off immediately after the connection code is successfully matched | Before turning on the transmitter, the throttle stick is not at the bottom | Before turning on the transmitter, place the throttle stick at the bottom |
| 5 | After the code matching is successful, start the helicopter, the main propeller rotates continuously, but it cannot fly. | The battery voltage is insufficient and the main shaft gear is loose | Charge the battery or replace it with a fully charged battery, press the main shaft and gear tightly |
| 6 | The helicopter vibrated badly. | The main rotor is deformed, the horizontal axis is bent, and the tail rotor is deformed. The propeller clamp screw is too tight, causing the main propeller to fail to rotate. | Replace the main propeller, Replace the spindle, Replace the tail rotor, Properly loosen the propeller fixing screws |
| During the flight, the two wings of the main propeller tremble. | The horizontal axis is bent, the horizontal axis screw is not tightened, and the propeller bearing is worn. Foreign matter in the steering gear causes jitter, The upper swashplate and the lower swashplate are loose, Deformed or damaged tail rotor | Replace the horizontal shaft, tighten the horizontal shaft screw, and make it move smoothly. Replace the bearing, remove the steering gear, remove the foreign matter of the steering gear, Press the upper swashplate and the lower swashplate tightly, and replace the tail rotor. | |
| 8 | The sound of the helicopter’s main rotor becomes smaller. | The helicopter battery voltage is low. | Charge the battery or replace it with a fully charged one. |
| 9 | The helicopter does not respond or cannot fly smoothly | Signal binding failed. | Re-bind, the helicopter must be placed horizontally when binding. |
| 10 | When the helicopter took off, it deflected to the left. | “Insufficient tail motor power, loose propeller blades Damaged tail motor” | Check the fit between the tail rotor blade and the motor shaft, If loose, replace the tail blade. Motor damage Replace the tail motor. |
| 11 | The helicopter is powered on, but the governor has no sound | Brushless governor failure or poor contact | Check the joints or replace the governor. |
RECEIVER INTERFACE DIAGRAM

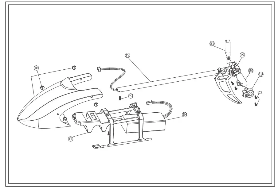
EXPLODED VIEW


ACCESSORY LIST
| NO. | PARA NAME | QUANTITY |
| 1 | Rotor Head Set | 1 |
| 2 | Horizontal Axis Group | 2 |
| 3 | Rotor Clip Set | 1 |
| Paddle Group | 2 | |
| 5 | Link Group | 1 |
| 6 | Swash Plate Group | 1 |
| 7 | Lower Link Group | 2 |
| 8 | Rudder Unit | 1 |
| 9 | Spindle Group | 2 |
| 10 | Servo Pressure Plate Group | 1 |
| 11 | Main Motor Unit | 1 |
| 12 | Bearing Set | 1 |
| 13 | Main Rack Group | 1 |
| 14 | Big Gear Set | 2 |
| 15 | Flight Control Motherboard | 1 |
| 16 | Governor Group | 2 |
| 17 | Landing Gear Group | 1 |
| 18 | Chassis Group | 1 |
| 19 | Tailstock Group | 1 |
| 20 | Tail Motor Unit | 2 |
| 21 | Chassis Group | 1 |
| 22 | Rear Wing | 1 |
| 23 | Screw Set | 1 |
| 24 | Battery | 1 |
| 25 | USB Charger Set | 1 |
| 26 | Remote Control Unit | 1 |
Company: Lotus NL B.V.
Address: Koningin Julianaplein 10, le Verd, 2595AA, The Hague, Netherlands.
E-mail: [email protected]
Tel: +31644168999

HOVER SETTING


















