Item No. 207721

Thank you for purchasing the Sharper Image Frozen Dessert Maker. Please take a
moment to read this guide and store it for future reference.
INTRODUCTION
The Sharper Image Frozen Dessert Maker turns frozen fruit such as banana, mango,
kiwi, peach, apple, strawberry, pineapple and cantaloupe into a creamy frozen treat.
It is for household use only and must not be handled by children.
BEFORE FIRST USE
- Take the device carefully out of its packaging.
- Remove all the packaging material.
- Keep children and animals away from packaging materials.
- Clean the chute, dispenser, grinder and plunger before it comes into contact with any food (refer to the CLEANING section).
CLEANING
- It is necessary to clean the device attachments (chute, plunger, grinder, dispenser and tray) completely before first use and after every use.
- Do not wash and immerse the housing in water.
- Do not use sharp or abrasive cleaning tools.
CAUTION!
- Before starting to clean the device, switch it off and unplug it from the socket.
- Remove the attachments (chute, plunger, grinder, dispenser and tray) and completely clean in warm water and mild dish soap.
- Wipe and clean the housing with a damp cloth and dry with a soft cloth.
- To prolong the life for your Sharper Image Frozen Dessert Maker, hand-washing parts is advised.
- Dishwasher use is not recommended. Never place the Base in a dishwasher.
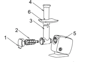
IDENTIFICATION OF PARTS
- Dispenser
- Grinder
- Chute
- Plunger
- Housing
- Tray

ASSEMBLING THE FROZEN DESSERT MAKER
- Put and lock the tray on chute top properly. Insert the grinder into the chute. Be sure the gasket is properly placed inside the dispenser. Then affix the dispenser to the chute by placing on the front and turning counterclockwise to lock.
- Insert the tip of the grinder into the housing. Turn counterclockwise to lock the chute assembly in place.
- Insert the plunger into the chute.

DISASSEMBLING THE FROZEN DESSERT MAKER
- Switch off and unplug the device, then take out the plunger from the chute.
- Remove the chute assembly by turning clockwise from the housing.
- Remove dispenser from chute assembly by turning clockwise. Then take out the grinder from the chute and remove the tray from chute top.

OPERATING THE FROZEN DESSERT MAKER
- Peel fruits if necessary.
- Slice fruits into small pieces and place them in the freezer for 5 to 12 hours.
- When the fruits are frozen, remove them from the freezer and allow them to thaw for 10-15
minutes. - Place the frozen fruits into the chute.
- Place the food plunger into the chute.
- Place a serving bowl at the base of the dispenser.
- Turn the device on. Apply gentle pressure to the plunger as the fruit is processed.
- Unplug the device and hand wash the parts after use.
WARNING:
- Never touch the attachments when it is operating or plugged into an outlet!
- To safeguard your fingers always use the food plunger. Never put hand, or utensils into chute or into rotating attachment.
- This device is for household use with partially thawed frozen fruit. Never use this device to crush ice cubes or other hard foods.
- Do not operate the device continuously for more than 2 minutes. Allow it to cool completely before using again.
- Do not operate without fruit in the chute.
IMPORTANT SAFETY RULES
- Before connecting the appliance to the AC outlet, check whether the type of supply and the voltage corresponds with the appliance.
- Always switch OFF and pull the plug out of the socket before you clean the appliance or when you have finished using it. To disconnect the device from the electricity supply, never pull the plug out using the power cord, always pull directly on the plug. Never carry the unit by its power cord.
- Indoor use only. Never immerse the device in water and do not expose the device to rain or moisture. If the device should fall into water, first pull the plug out of the socket and only then remove the device from the water.
- Do not use the appliance if your hands are wet or if you are standing on a wet floor.
- Set up and store the appliance and its attachments out of reach of children.
- Do not leave the appliance unattended while it is on.
- Always ensure that the device is safely set up before you start to use it.
- Do not reach into the feed tube. Always use food pusher to avoid injury.
- This device is not suitable for ice blocks crushing and extremely hard products.
- Keep your hair, clothing and jewelry away from the rotating parts.
- Check unit and its components regularly for damages. Do not use the appliance if it is damaged in any way.
- If the supply cord appears frayed or damaged, contact Sharper Image Customer Service immediately.
- No claims under the warranty or liability for damages will be accepted if they result from improper or incorrect use.
- Switch off and unplug the device before removing or inserting the attachments.
CAUTION! Handle the attachments with care. - Do not try to open the housing yourself. Do not introduce any kind of objects into the housing.
- Do not operate the unit continuously for more than 2 minutes. Allow the unit to cool completely before using again.
- The manufacturer does not recommend the use of accessory attachments. Use of accessory attachments may cause injuries.
- Make sure the Chute, Grinder and Dispenser are securely locked in place before operating,
- Position the appliance as close to the outlet as possible to prevent injury due to tripping over cord.
- Do not place on or near a hot gas or electric burner, or in a heated oven.
- A short power supply cord is provided to reduce the risk resulting tripping.
- Extension cords are not recommended for use with this device.
- Keep the device out of reach of children at all times.
- The symbol “’O” on switch means ‘’OFF’’, the symbol ‘’I’’ on switch means ‘’ON’’.
- Never set the device up on a hot surface or near an open flame.
- Set up the device on a flat, non-slip surface close to an electrical socket.
- Connect the device to a grounded socket.
WARRANTY / CUSTOMER SERVICE
WARRANTY / CUSTOMER SERVICE
Sharper Image branded items purchased from SharperImage.com include a 1-year limited replacement warranty. If you have any questions not covered in this guide, please call our Customer Service department at 1 (877) 210-3449. Customer Service agents are available Monday through Friday, 9:00 a.m. to 6:00 p.m. ET.
Frozen Dessert Maker Manual Optimized
Frozen Dessert Maker Manual Original

















