
Assembly
PO# Customer service: 800.633.5096
Instruction Manual
FS1217356 Daltaire Smart Electric Fireplace
Product number: Fa1217356
Thank you for your purchase!
![]()
Techniques
![]()
| Top panel | Bottom panel | Side panel |
| Left vertical panel | Right vertical panel | Upper front panel |
| Left door | Right door | Middle adjustable shelf |
| Side adjustable shelf | Left back panel | Right back panel |
| Frame | Side connection rail | Middle connection rail |
| Middle leg |

| Screw Ø3×16mm | Handle | Screw Ø3×12mm |
| Hinge | Screw Ø3×14mm | Shelf support |
| Bracket | Screw Ø3×16mm | Iron bracket |
| Screw 8#×1/2” | Anchor | Screw 8#×1-1/2” |
| Tie | ||

Step 1: Attach Frame (M), Side frame (N), Middle frame(O), Middle leg (P) using Bolt (5) and Wash (6) as shown.

Do not fully tighten screws until all screws are in position.
Step 2: Attach Bottom panel (B) using Bolt (5) and Wash (6) as shown.

Tighten all screws.

Step 3: Attach Cam bolt (1) to Bottom panel (B) as shown.

Step 4: Attach Cam bolt (1), Plastic door stop (8) use screw (9) to Top panel (A) as shown.


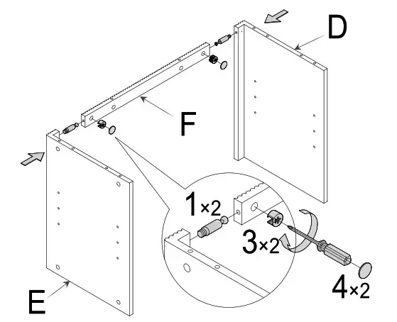
Step 5: Attach Left vertical panel (D), Right vertical panel (E), Upper front panel (F) using Cam bolt (1), Cam lock (3) and Cover (4) as shown.


Step 6: Attach Side panel (C), Left vertical panel (D), Right vertical panel (E) using Wood dowel (2), Cam lock (3) and Cover (4) as shown.


Step 7: Attach Top panel (A) using Wood dowel (2), Cam lock (3) and Cover (4) as shown.


Step 8: Attach Left back panel (K), Right back panel (L) using Screw (10) as shown., Attach Bracket (16) to Top panel (A) as shown.


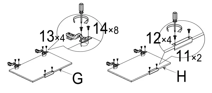
Step 9: Attach Handle (11) to Left door (G), Right door (H) using Screw (12) as shown. Attach Hinge (13) to Left door (G), Right door (H) using Screw (14) as shown.

Step10: Attach Left door (G), Right door (H) using Screw (16) as shown.

![]()
To achieve uniform clearance around the door, you may need to adjust the door by tightening or loosening the two screws on the hinge itself.

Step 11: Attach Side adjustable shelf (J) using Shelf support (15) as shown.

Adjust the bottom nails to keep the door gap consistent.

Step 12: First installation method, Attach Middle adjustable shelf (I) using Shelf support (15) as shown.


Step 14: Second installation method, Attach Iron bracket (18) using Screw (19) as shown.

Firebox shipped in a separate carton


Anti-tipping hardware must be used for this product to avoid tipping and injury.
Replacement Parts or Damages
You should examine your merchandise promptly upon receipt. For product concerns, please contact SEI Furniture customer service at 800-633-5096 Mon-Fri 8:30 am – 5 pm CST. Please have your purchase information ready when you call.
One Year Limited Warranty
Product warranty applies to the original purchaser with items in original factory-sealed cartons. Proof of purchase date, price, and seller must be shown to validate the warranty. This warranty covers defects in manufacturing. It does not apply to any defects caused by negligence, misuse, accidental damage, or improper assembly. Glass and mirrors are excluded from this warranty. Warranty does not extend to cosmetic damage, accidents, misuse, abuse, or neglect. Liability for incidental or consequential damages is excluded to the maximum extent permitted by law.
After verification of claim, SEI Furniture will repair or replace any defective product or missing part. If the defective item must be returned in whole or in part, we will send written authorization and a pre-addressed shipping label for the return of any defective product or part.
No returns will be accepted without prior approval.
PO# Customer service: 800.633.5096

Product number: FA4723
ELECTRICAL SPECIFICATIONS
| Voltage: | 120V, 60 Hz |
| Amps: | 12.5 Amps |
| Watts: | 1500 Watts |
| Lighting: | LED |

| Safety | Note! |
Electric Firebox Insert
User’s Operating Manual
Consumer safety information:
Please read this manual before installing and operating this appliance.
WARNING!!!
If the information in this manual is not followed correctly, an electric shock or fire may result in property damage, personal injury, or loss of life. Do not store or use gasoline or other flammable vapors or liquids near this appliance.
Safety Feature:
This unit has an internal thermal overload protector, when a temperature that may cause overheating is reached, the heater will automatically shut off. Operation can only resume when the unit is reset. (See instructions below)
To Reset Heater:
Unplug the heater and wait 10 minutes for the unit to cool down. After 10 minutes, plug the heater again and follow the operating instructions described in this manual.
Important Operating and Safety Instructions:
CAUTION:
High Temperatures! Keep draperies, electrical cords, and other furnishings at least 3 feet (.9 meters) from the front and away from the front, sides, and rear of the heater.
WARNING:
Risk of fire — keep combustible material away from the front of the electrical fireplace. Servicing should be done only while the electrical fireplace is disconnected from the power supply.
Important Operating and Safety Information:
When using electrical appliances, the following basic precautions should always be followed to reduce the risk of fire, electric shock, and injury.
- Read all instructions before using this heater.
- Use this heater only as described in this manual. Any other use not recommended by the manufacturer may cause fire, electric shock, or injury.
- Before connecting the appliance to the electric source, check that the current and power match those given on the ratings plate.
- This heater is for use with a 120 Volt electrical outlet. The cord has a three-prong grounded plug, which must be used in a properly grounded three-prong outlet.
- Avoid the use of an extension cord since the extension cord may overheat and cause a risk of fire, however, if you must use an extension cord it has to be a grounded No. 16 AWG minimum size and rated for not less than 1875 watts.
- Do not run the cord under carpet. Do not cover cord with throw rug, runner, or similar items. Cord should be placed away from traffic areas to prevent tripping hazard.
- Never use the cord to pull the appliance.
- Never leave the appliance unattended while it is in use.
- Turn controls to “off before removing plug from outlet.
- Always unplug heater when not in use.
- Do not use outdoors.
- Only use heater on even and stable surface to prevent the appliance from tipping over.
- To prevent possible fire, do not block air intakes or exhaust in any manner. Do not use on soft surfaces, such as a bed, where openings may be blocked.
- Do not use in rooms in which highly flammable materials such as gas, paints, gasoline, solvents, etc. are stored.
- Keep minimum distance of 3 feet between the heater and curtains and other flammable materials.
- Do not place the appliance or the plug in water or any other liquid. Should the appliance accidentally fall into water, unplug the appliance immediately and have it checked by a qualified person before using it again.
- Do not use the appliance with wet hands, on a damp floor, or when the appliance itself is wet.
- The appliance must not be used if the glass is damaged.
- Do not operate any heater with a damaged cord or plug, after the heater malfunctions or has been dropped or damaged.
- The warm air vent becomes very hot during operation—do not touch. During operation, only touch the appliance’s switches and handles.
- The appliance should not be moved when hot. Never touch the hot parts with your bare skin.
- Do not insert or allow foreign objects to enter any ventilation or exhaust opening as this may cause an electric shock or fire, or damage to the heater.
- Please turn off the unit manually when leaving/not in use for extended period.
- Please turn off the unit manually when the power goes out.
- Please BEWARE that the plug may become hot.
- It’s highly recommended to plug the unit to outlet with GFR/GFCI receptacle.
SAVE THESE INSTRUCTIONS
Maintenance:
- Cleaning your fireplace:
You may clean exterior of unit with a soft, damp, lint-free cloth.
WARNING: Before cleaning the exterior of the appliance, disconnect the unit from the power supply. Clean unit only after it is cool to the touch. - Cleaning the front glass:
The front glass panel may become dirty or dusty. Dust can be removed by lightly rubbing the glass surface with a clean, lint-free cloth or paper towel. To remove fingerprints or other marks, use a soft, damp, lintfree cloth with a household glass cleaner.
Helpful Advice for Installing Firebox into Mantel:
- These instructions are provided in an easy to follow format. Simply follow the instructions to properly install unit.
- Please retain all packaging until you have checked that there is no damage and your unit is working properly.
- Small parts should be kept away from young children.
- The area around the unit should be kept free of animal hair, lint, and other extraneous material that may be drawn into the workings of the appliance and could affect its performance.
Positioning/Locating Your Electric Fireplace:
When choosing a location for your new fireplace, ensure that the general instructions are properly followed. For best result, install the fireplace out of direct sunlight.
Installation Instructions:
Once the location has been prepared, the fireplace insert can be installed.
- Make sure the unit is turned off (refer to the operating instructions).
- Place the fireplace insert on the floor, directly behind your mantle. Make sure the backs of both the mantle and the fireplace are facing you.
- It is advisable to have 2 people place the fireplace insert into the mantle, as it is heavy. Gently slide it into the opening in the mantle until the flange is flush against the inside of the fireplace. Make sure the insert is centered left and right in the opening. Be careful when placing and adjusting the insert, the bottom of the insert could scratch the finish of the wood base/hearth of your fireplace.
- Attach the mounting brackets (found in the fireplace mantel box) with the supplied screws using a Phillips head screwdriver. DO NOT OVER TIGHTEN.
- With the help of an assistant, carefully lift completed unit and place it with the front facing out in the final location you have chosen for your fireplace.
Operating Instructions:
Control Panel on the Front of Unit:

On/Off Main Power Button
a. Press to switch the unit ON/OFF.
b. The unit will turn on to its default factory settings.
On/Off Heater Button
a. This allows programming of the thermostat. The fireplace can be used without the heater if desired.
b. Adjust the temperature rating from 62°F – 82°F – ON (17°C – 27°C).
Note: °F is the default unit. To change from Fahrenheit to Celsius: Hold the heater button for approximately 5 seconds, the temperature readout will switch directly from °F to °C and vice versa.
Adjustable Flame Brightness
a. Adjust the flame brightness level:F5 – F4 – F3 – F2 – F1 – OFF (F5 being the brightest and F1 the dimmest)
Adjustable Log Brightness
a. Adjust the log brightness level: L5 – L4 – L3 – L2 – L1 – OFF (L5 being the brightest and L1 the dimmest)
Adjustable Timer
a. This allows you to control the duration of the heater function. Press the timer button until you have reached the desired duration time. Levels: 30 min – 1H – 2H – 3H – 4H – 5H – 6H – 7H – 8H – 9H – OFF
CHILD LOCK FUNCTION:
This unit is equipped with child lock protection. To activate the child lock function, push and hold the power button on the unit for 6 seconds. After holding the power button, the log light will blink 5 times to confirm that the unit is in child lock mode.
Once the unit is in child lock mode, the buttons on the unit will not function when pushed. To deactivate the child lock function, push and hold the power button on the unit for 6 seconds.
ELECTRICAL CONNECTION:
A 12.5 AMP, 120 Volts, 60 Hz circuit with a properly grounded outlet is required. It’s recommended that the fireplace be on a dedicated circuit, as other appliances on the same circuit may cause the circuit breaker to trip or blow the fuse when the heater is in operation.
ELECTRICAL SPECIFICATIONS
| Voltage: | 120VAC, 60 Hz |
| Amps: | 12.5Amps |
| Watts: | 1500 Watts |
| Lighting: | LED |
Remote Control Operating Procedures:

- Power:
Press to turn the unit ON/OFF - Flame:
Press to adjust the level of brightness of the flame: F5- F4- F3- F2- F1- OFF. (F5 being the brightest and F1 the dimmest)
raise the level of flame brightness,
: lower the level of flame brightness. - Timer:
Press to adjust the duration of the heater: 30 min- 1H- 2H- 3H- 4H- 5H- 6H- 7H- 8H- 9H- OFF - Down Light:
Turn the down light ON and OFF. - Log:
Press to adjust the level of brightness of the log: L5- L4- L3- L2- L1- OFF. (L5 being the brightest and L1 the dimmest)
raise the level of log brightness,
: lower the level of log brightness. - Heater:
Press to turn the heater ON/OFF. Adjust the temperature rating as follows: 62°F — 82 °F (17 °C — 27 °C) Note: °F for the default units.
raise the temperature rating,
: lower the temperature rating.
Note: Do not mix old and new batteries.
Do not mix alkaline, standard (carbon-Zinc) or rechargeable (nickel-cadium) batteries. Self Regulating Heater
The heater will turn on when temperature is set higher than the room’s temperature and it will automatically turn off when the room has reached the desired temperature.
Self Regulating Heater
The heater will turn on when temperature is set higher than the room’s temperature and it will automatically turn off when the room has reached the desired temperature.
Troubleshooting
| Problem | Cause | Solution |
| Heater doesn’t turn on with the power switch. | Main power supply switch is off. | Turn on the main power supply switch. |
| Circuit breaker has tripped. | Too many appliances on this circuit. Be sure that the electrical supply for this unit is an individual circuit. | |
| Heater is unplugged from wall outlet. | Plug the cord into an outlet. | |
| Power cord or power plug are damaged. | Contact a SEI customer service. | |
| Power outlet for power plug prong is loose. | Check the power outlet and replace with a new one. | |
| Loose wiring. | Contact SEI customer service. | |
| Heater power switch is off. | Turn on the heater power switch. | |
| Heater system is overheated. | Maybe the heater is covered, or air inlet or air outlet is blocked, remove the covering or the blockage and turn off the power switch and unplug it. Wait ten minutes, plug it back in, then turn the heater on again. | |
| There is an odor coming from the heater. | The heater may emit a slight, harmless odor when first used. This is a normal condition caused by initial heating of the internal parts, and will not occur again. | |
| Heater is on but no flame or low flame intensity. | Flame acflustiv knob is at low setting. | Turn the knob to maximum W4. |
| Loose wiring at the wall power outlet. | Contact a qualified electrician. | |
| Flames are frozen. | Loose wiring at the wall power outlet. | Check all wiring for loose connections. Contact a qualified electrician. |
| Flame element is not attached to the motor. | Contact SEI customer service | |
| Rotation motor is defective. | Contact SEI customer service | |
| Excessive noise in the lower portion of the heater. | Flame element isn’t seated prcpedy. | Contact SEI customer service |
| K1/210( is defective. | Contact SEI customer service | |
| ‘HEATER POWER’ switch has been flipped in the on position, but there is no airflow. | The air inlet or air outlet Is completely blocked. | Move the unit and make sure to leave adequate space aroma it. Remove the blockage on or in front of the air outlet. |
| The heater system is over heated, the temperature limit thermostat is cut olf. | Check the air inlet and outlet. Turn off the power switch and unplug it. Wait ten minutes. then plug it back in and turn the heater on again. | |
| Fan Motor is defective. | Contact SEI customer service | |
| Fan blower is balanced badly. | Contact SEI customer service |

GROUNDING INSTRUCTIONS
This product must be grounded. If it should malfunction or breakdown, grounding provides a path of least resistance for electric current to reduce the risk of electric shock. This product is equipped with a cord having an equipment-grounding conductor and a grounding plug.
The plug must be plugged into an appropriate outlet that is properly installed and grounded in accordance with all local codes and ordinances.
This heater is for use on 120 volts circuit and has a grounded plug that looks like the one illustrated on Figure
- See Figure 1 for grounding instruction. An adapter as shown at C is available for connecting three-blade grounding type plugs to two-slot receptacles. The green grounding plug extending from the adapter must be connected to a permanent ground such as a properly grounded outlet box. The adapter should not be used if a three-slot grounded receptacle is available.
Improper connection of the JX equipment-grounding conductor can result in a risk of electric shock. Check with qualified electrician or serviceman if you are in doubt as to whether the product is properly grounded. Do not modify the plug provided with the product – If it will not fit the outlet; have a proper outlet installed by qualified electrician.
![]()
FCC STATEMENT
NOTE: This equipment has been tested and found to comply with the limits for Class B digital device, pursuant to Part 15 of the FCC Rules. These limits are designed to provide reasonable protection against harmful interference in a residential installation.
This equipment generates, uses, and can radiate radio frequency energy and, if not installed and used in accordance with the instructions, may cause harmful interference to radio or television reception. However, there is no guarantee that interference will not occur in a particular installation. If this equipment does cause harmful interference to radio or television reception, which can be determined by turning the equipment off and on, the user is encouraged to try to correct the interference by one or more of the following measures:
- Reorient or relocate the receiving antenna.
- Increase the separation between the equipment and the receiver.
- Connect the equipment into an outlet on a circuit different from that to which the receiver is connected.
- Consult the dealer or an experienced radio/TV technician for help.
This device complies with Part 15 of the FCC Rules. Operation is subject to the following two conditions:
- This device may not cause harmful interference, and
- This device must accept any interference received, including interference that may Cause undesired operation.
Modifications not approved by the party responsible for compliance could void user’s authority to operate the equipment.
This Class B digital apparatus complies with Canadian ICES-003.
May We Help You?
800.633.5096
Please have this information ready when you call:
- Item Number
- PO #
- Purchaser Name
- Place of Purchase
- Purchase Date
- Date Product Arrived
Immediately examine this product carefully.
Any request for missing or damaged part replacement must be received within 90 days of your receipt of the product. Requests for replacement parts, if available, will be honored within this time frame. Parts will not be available for items arriving fully assembled. We do not recommend modifying products and we are not responsible for any damages due to product modifications. If damages or missing parts are not reported within 90 days of receiving the product, we are under no obligation to provide parts or replacement merchandise. For product issues, please contact customer service at 800-633-5096 (toll-free) Mon-Fri 8:30am Spm CST. Please ask for a customer service representative for issues involving damages or replacement parts. Please ask for a technical assistance representative for any issues related to product assembly/ construction. Regarding product returns, please contact the retailer from whom you purchased the product.
Please note, for items purchased in a retail store, you will need to contact the retailer for all part needs.
Products purchased at garage sales or discount stores are sold as-is and are not covered by the above warranty
Smart Fireplace Setup Guide
Setting up your Smart Fireplace with Alexa
In order to control your new fireplace via Alexa voice commands, you must connect the fireplace to your wireless network (WiFi) and then link the fireplace to your Amazon account.
To set up your smart fireplace, you will need:
- Smartphone or tablet with WiFi and a web browser, such as Safari or Chrome
- Your WiFi network settings
- Amazon account and login information
- Amazon Alexa app, installed on your smartphone or tablet
- Connect your phone to the fireplace WiFi
Open your phone’s WiFi settings. You will see the fireplace network as SEI- XXXX Select this SEI Network and enter the password: seiadmin In a few seconds, your phone should be connected to the fireplace WiFi. 
- Connect your fireplace to your WiFi network
Open your phone’s web browser and enter the address:
http://10.9.8.7Select your wireless network and enter your password for the network. After a few seconds, you should see the success message showing that your fireplace is connected to the network. Tap the Login button to link your Amazon account. 


- Link your fireplace to your Amazon account
Tap the Login with Amazon button to begin linking your account. Enter your Amazon account details when prompted and
tap Sign-In when finished.Tap Allow to link your fireplace to your Amazon account. 
- Name your fireplace and enable the Alexa skill
Choose a name for your fireplace. This is how you will identify the device when using Alexa voice commands. Configure the Alexa skill by tapping the link to launch
the Alexa app.You will be prompted to enable the Alexa skill. Tap
Enable to Use.
- Link the Alexa skill to your Amazon account
Login with the same Amazon account that you used to set up the fireplace. Once you have logged in with your Amazon account, close the window to begin the device discovery process. Alexa should find 5 devices – these are the different functions of your fireplace. 
*Note: To remove a fireplace from your Amazon account, visit http://sei-smartfireplace.com and login with your account details.
List of Alexa Commands
Use the following phrases to control your fireplace via Alexa. Simply replace “Fireplace” with the name you chose for your fireplace during setup.
Power
“Alexa, turn Fireplace on”
“Alexa, turn Fireplace off”
Downlight
“Alexa, turn Fireplace downlight on”
“Alexa, turn Fireplace downlight off”
Logs
“Alexa, turn Fireplace log up”
“Alexa, turn Fireplace log down”
Flames
“Alexa, turn Fireplace flame up”
“Alexa, turn Fireplace flame down”
Heat
“Alexa, turn Fireplace heater on”
“Alexa, turn Fireplace heater off”
“Alexa, turn Fireplace heater up”
“Alexa, turn Fireplace heater down”
“Alexa set Fireplace heater to 75”
“Alexa, set Fireplace heater to 70 for two hours”
Troubleshooting
If you experience issues with your fireplace during or after setup, please refer to the common troubleshooting questions below or call our customer service line for assistance.
| Issue | Solution |
| The fireplace is stuck connecting to the Amazon account. | Make sure the fireplace is turned ON for all steps during setup. |
| Alexa is not connecting to the fireplace. | Scan for devices using the Alexa app during setup. |
| The fireplace setup needs to be restarted. | Delete any fireplace devices or commands from the Alexa app and begin setup from step 1. |
| Web address does not work when connecting the fireplace to the WiFi network. | Type the full address below into your web browser. Do not abbreviate the web address. http://1 0.9.8.7 |
| The WiFi connection needs to be reset. | Plug in the fireplace and switch to OFF. Hold the timer button until the fireplace beeps (about 8 seconds). The reset will not work if the fireplace is turned ON. |
| The fireplace has disconnected after the WiFi dropped out. | Unplug the fireplace, wait 30 seconds, then plug the fireplace back in. Using the power button located on the firebox, turn the fireplace ON and then OFF. Use Alexa commands as normal to ensure that the fireplace has been reconnected. |
| Alexa commands are enabled but not working. | Disable the commands, then enable them again. If the commands still do not work, you may need to reset the fireplace WiFi. |
*Note: To remove a fireplace from your Amazon account, visit http://seismartfireplace.com and login with your account details.
Setting up your Smart Fireplace with Google
In order to control your new fireplace via Google Assistant voice commands, you must connect the fireplace to your wireless network (WiFi) and then link the fireplace to your Google account.
To set up your smart fireplace, you will need:
- Smartphone or tablet with WiFi and a web browser, such as Safari or Chrome
- Your WiFi network settings
- Google account and login information
- Google Assistant for Android or IOS
- Connecting your phone to the fireplace WiFi
Open your phone’s WiFi settings. You will see the fireplace network as SEI- XXXX Select this SEI Network and enter the password: seiadmin In a few seconds, your phone should be connected to the
fireplace WiFi. Upon connecting, a notification may appear which will prompt “Tap for Options.” Tap and then choose to stay connected even though there
is no internet.


- Connect your fireplace to your WiFi network
Open your phone’s web browser and enter the address:
http://10.9.8.7Select your wireless network and enter your password for the
network.After a few seconds, you should see the success message showing that your fireplace is connected to the network. Tap the Login button to link your Google account. 
*Note: The success screen may refer to your Amazon account but you will still be able to connect to your Google Account in the next step.
- Link your fireplace to your Google account
Tap the blue Google Sign in button to begin linking your
account.Select the Google account you wish to link your fireplace to.
Note that you must use the same account when using the SEI
Firebox smart home action for Google Assistant.Enter your Google account details if prompted. 


- Name your fireplace and enable the Google Action
Choose a name for your fireplace. This is how you will identify the device when using Google voice commands. We strongly recommend naming it Fireplace. Your device is now linked to your Google account. Next, set up the Google Action. 

- Sign in to Google Assistant
Open Google Assistant on Android or IOS. Tap the icon in the top right to enter the settings screen. Google Assistant is a separate application from Google Home. You may need to
install the app from your app store.Choose which Google account you wish to use for your Google
Assistant. This should be the same account you use for any Google Home/Nest speakers.Once you have selected the desired account, scroll down and select “Home Control.” 


- Link the Google Action to your Google account
Locate and select the S.E.I. Firebox action. Click the Google Login Button. Sign in with the same Google account you used to setup your device in step 3. 
- Finish setup
If you are not redirected automatically, please follow the link to return to the Google Assistant app. Now you will see the devices which have been successfully discovered. Click “done.” Your setup is complete. Try out a command like “Ok Google, turn on the Fireplace.” This should work on any Google Assistant enabled device which is linked to your account. Note that the screen shown below does not always reflect commands the Firebox is capable of. Please refer to the next page of this guide for a list of supported commands. 


*Note: To remove a fireplace from your Google account, visit www.sei-smartfireplace.com and login with your account details
List of Supported Google Commands
Use the following phrases to control your fireplace via Google Assistant. Simply replace “Fireplace” with the name you chose for your fireplace during setup.
Power
“Ok Google, turn on Fireplace”
“Ok Google, turn off Fireplace”
Downlight
“Ok Google, turn on Fireplace downlight”
“Ok Google, turn off Fireplace downlight”
Logs
“Ok Google, turn Fireplace log up”
“Ok Google, turn Fireplace log down”
Flames
“Ok Google, turn Fireplace flame up”
“Ok Google, turn Fireplace flame down”
Heat
“Ok Google, turn on Fireplace heater”
“Ok Google, turn off Fireplace heater”
“Ok Google, turn Fireplace heater up”
“Ok Google, turn Fireplace heater down”
“Ok Google, set Fireplace heater to 70”
*Note: When turning on the Fireplace heater, it will default to the maximum temperature setting.









































