Microwave Oven Instructions
Model: CMW20TNMB

Please read these instructions carefully before installing and operating the oven.
SPECIFICATIONS
| Power Consumption: | 230-240V/50Hz, 1200W (Microwave) |
| Rated microwave power output: | 700W |
| Operation Frequency: | 2450MHz |
| Outside Dimensions: | 262mm(H)×452mm(W)×346mm(D) |
| Oven Cavity Dimensions: | 198mm(H)×315mm(W)×297mm(D) |
| Oven Capacity: | Compact 20Litres |
| Net Weight: | Approx.10.8kg |
PRECAUTIONS TO AVOID POSSIBLE EXPOSURE TO EXCESSIVE MICROWAVE ENERGY
- Do not attempt to operate this oven with the door open since an open-door operation can result in harmful exposure to microwave energy. It is important not to defeat or
tamper with the safety interlocks. - Do not place any object between the oven front face and the door or allow soil or cleaner residue to accumulate on sealing surfaces.
- Do not operate the oven if it is damaged. It is particularly important that the oven door close properly and that there is no damage to the
a. Door (bent),
b. Hinges and latches (broken or loosened),
c. Door seals and sealing surfaces. - The oven should not be adjusted or repaired by anyone except properly qualified service personnel.
IMPORTANT SAFETY INSTRUCTIONS
When using electrical appliances basic safety precautions should be followed, including the following:
WARNING!–To reduce the risk of burns, electric shock, fire, injury to persons or exposure to excessive microwave energy:
- Use this appliance only for its intended use as described in the manual. Do not use corrosive chemicals or vapors in this appliance. This type of oven is specifically designed to heat, cook or dry food. It is not designed for industrial or laboratory use.
- Do not operate the oven when empty.
- Do not operate this appliance if it has a damaged cord or plug, if it is not working properly, or if it has been damaged or dropped. If the supply cord is damaged, it must be replaced by the manufacturer or its service agent or a similarly qualified person in order to avoid a hazard.
- WARNING!–Only allow children to use the oven without supervision when adequate instructions have been given so that the child is able to use the oven in a safe way and understands the hazards of improper use.
- To reduce the risk of fire in the oven cavity:
• When heating food in a plastic or paper container, keep an eye on the oven due to the possibility of ignition.
• Remove wire twist-ties from paper or plastic bags before placing the bag in the oven.
• If smoke is observed, switch off or unplug the appliance and keep the door closed in order to stifle any flames.
• Do not use the cavity for storage purposes. Do not leave paper products, cooking utensils, or food in the cavity when not in use.
• The microwave oven is intended for heating food and beverages. Drying of food or clothing and heating of warming pads, slippers, sponges, damp cloth and similar may lead to the risk of injury, ignition, or fire. - WARNING!–Liquid or other food must not be heated in sealed containers since they are liable to explode.
- Microwave heating of beverages can result in delayed eruptive boiling, therefore care has to be taken when handling the container.
- Do not fry food in the oven. Hot oil can damage oven parts and utensils and even result in skin burns.
- Eggs in their shell and whole hard-boiled eggs should not be heated in microwave ovens since they may explode even after microwave heating has ended.
- Pierce foods with heavy skins such as potatoes, whole squashes, apples, and chestnuts before cooking.
- The contents of feeding bottles and baby food jars should be stirred or shaken and the temperature should be checked before serving in order to avoid burns.
- Cooking utensils may become hot because of heat transferred from the heated food. Potholders may be needed to handle the utensil.
- Utensils should be checked to ensure that they are suitable for use in a microwave oven.
- WARNING!–It is hazardous for anyone other than a trained person to carry out any service or repair operation which involves the removal of any cover which gives protection against exposure to microwave energy.
- This product is a Group 2 Class B ISM equipment. The definition of Group 2 contains all ISM (Industrial, Scientific, and Medical) equipment in which radio-frequency energy is intentionally generated and/or used in the form of electromagnetic radiation for the treatment of material, and spark erosion equipment. Class, B equipment is equipment suitable for use in domestic establishments and in establishments directly connected to a low voltage power supply network that supplies buildings used for domestic purposes.
- This appliance is not intended for use by persons (including children) with reduced physical, sensory or mental capabilities, or lack of experience and knowledge unless they have been given supervision or instruction concerning the use of the appliance by a person responsible for their safety.
- Children should be supervised to ensure that they do not play with the appliance.
- The microwave oven is only used in freestanding.
- WARNING!–Do not install an oven over a range cooktop or other heat-producing appliance. if installed could be damaged and the warranty would be avoided.
- The microwave oven shall not be placed in a cabinet.
- WARNING!–The appliance and its accessible parts become hot during use.
- WARNING!–Accessible parts may become hot during use. Young children should be kept away.
- During use the appliances become hot. Care should be taken to avoid touching heating elements inside the oven, for cooking, ranged, and ovens.
- The temperature of accessible surfaces may be high when the appliance is operating.
- The appliance shall be placed against a wall.
- The appliance is not to be used by children or persons with reduced physical, sensory or mental capabilities, or lack of experience and knowledge unless they have been given supervision or instruction.
- WARNING!–If the door or door seals are damaged, the oven must not be operated
until it has been repaired by a competent person. - The appliances are not intended to be operated by means of an external timer or separate remote-control system.
- The microwave oven is for household use only and not for commercial use.
- Never remove the distance holder in the back or on the sides, as it ensures aminimum distance from the wall for air circulation.
- Please secure the turntable before you move the appliance to avoid damage.
- CAUTION!–It is dangerous to repair or maintain the appliance by no other than a specialist because under these circumstances the cover has to be removed
which assures protection against microwave radiation. This applies to changing the power cord or the lighting as well. Send the appliance in these cases to our service center. - The microwave oven is intended for defrosting, cooking, and steaming of food only.34. Use gloves if you remove any heated food.
- Caution! Steam will escape when opening lids or wrapping foil.
- This appliance can be used by children aged from 8 years and above and persons with reduced physical, sensory or mental capabilities or lack of experience and knowledge if they have been given supervision or instruction concerning the use of the appliance in a safe way and understand the hazards involved. Children shall not
play with the appliance. Cleaning and user maintenance shall not be made by children unless they are aged from 8 years and above and supervised. - If smoke is emitted, switch off or unplug the appliance and keep the door closed in order to stifle any flames.
INSTALLATION GUIDE
- Make sure that all the packing materials are removed from the inside of the door.
- WARNING: Check the oven for any damage, such as misaligned or bent door, damaged door seals and sealing surface, broken or loose door hinges and latches, and dents inside the cavity or on the door. If there is any damage, do not operate the oven and contact qualified service personnel.
- This microwave oven must be placed on a flat, stable surface to hold its weight and the heaviest food likely to be cooked in the oven.
- Do not place the oven where heat, moisture, or high humidity are generated or near combustible materials.
- For correct operation, the oven must have sufficient airflow. Allow 20cm of space above the oven, 10cm at back, and 5cm on both sides. Do not cover or block any openings on the appliance. Do not remove your feet.
- Do not operate the oven without a glass tray, roller support, and shaft in their proper positions.
- Make sure that the power supply cord is undamaged and does not run under the oven or over any hot or sharp surface.
- The socket must be readily accessible so that it can be easily unplugged in an emergency.
- Do not use the oven outdoors.
RADIO INTERFERENCE
The operation of the microwave oven can cause interference to your radio, TV, or similar equipment. When there is interference, it may be reduced or eliminated by taking the
following measures:
- Clean the door and seal the surface of the oven.
- Reorient the receiving antenna of radio or television.
- Relocate the microwave oven with respect to the receiver.
- Move the microwave oven away from the receiver.
- Plug the microwave oven into a different outlet so that the microwave oven and receiver are on different branch circuits.
MICROWAVE COOKING PRINCIPLES
- Arrange food carefully. Place the thickest areas towards the outside of the dish.
- Watch cooking time. Cook for the shortest amount of time indicated and add more as needed. Food severely overcooked can smoke or ignite.
- Cover foods while cooking. Covers prevent spattering and help foods to cook evenly.
- Turn foods over once during microwave cooking to speed cooking of such foods as chicken and hamburgers. Large items like roasts must be turned over at least once.
- Rearrange foods such as meatballs halfway through cooking both from top to bottom and from the center of the dish to the outside.
GROUNDING INSTRUCTIONS
This appliance must be grounded. This oven is equipped with a cord having a grounding wire with a grounding plug. It must be plugged into a wall receptacle that is properly installed and grounded. In the event of an electrical short circuit, grounding reduces risk of electric shock by providing an escape wire for the electric current. It is recommended that a separate circuit serving only the oven be provided. Using a high voltage is dangerous and may result in a fire or other accident causing oven damage.
WARNING Improper use of the grounding plug can result in a risk of electric shock.
Note:
- If you have any questions about the grounding or electrical instructions, consult a qualified electrician or service person.
- Neither the manufacturer nor the dealer can accept any liability for damage to the oven or personal injury resulting from failure to observe the electrical connection procedures.
The wires in this cable main are colored in accordance with the following code:
Green and Yellow = EARTH
Blue = NEUTRAL
Brown = LIVE
BEFORE YOU CALL FOR SERVICE
If the oven fails to operate:
- Check to ensure that the oven is plugged in securely. If it is not, remove the plug from the outlet, wait 10 seconds, and plug it in again securely.
- Check for a blown circuit fuse or a tripped main circuit breaker. If these seem to be operating properly, test the outlet with another appliance.
- Check to ensure that the control panel is programmed correctly and the timer is set.
- Check to ensure that the door is securely closed by engaging the door safety lock system. Otherwise, the microwave energy will not flow into the oven.
IF NONE OF THE ABOVE RECTIFIES THE SITUATION, THEN CONTACT A QUALIFIED TECHNICIAN. DO NOT TRY TO ADJUST OR REPAIR THE OVEN YOURSELF.
UTENSILS GUIDE
- Microwaves cannot penetrate metal. Only use utensils that are suitable for use in microwave ovens. Metallic containers for food and beverages are not allowed during microwave cooking. This requirement is not applicable if the manufacturer specifies the size and shape of metallic containers suitable for microwave cooking.
- Microwaves cannot penetrate metal, so metal utensils or dishes with metallic trim should not be used.
- Do not use recycled paper products when microwave cooking, as they may contain small metal fragments which may cause sparks and/or fires.
- Round /oval dishes rather than square/oblong ones are recommended, as food in corners tends to overcook.
- Narrow strips of aluminum foil may be used to prevent overcooking of exposed areas. But be careful don’t use too much and keep a distance of 1 inch (2.54cm) between foil and cavity.
The list below is a general guide to help you select the correct utensils.
| COOKWARE | MICROWAVE |
| Heat–Resistant Glass | Yes |
| Non-Heat–Resistant Glass | No |
| Heat–Resistant Ceramics | Yes |
| Microwave–Safe Plastic Dish | Yes |
| Kitchen Paper | Yes |
| Metal Tray | No |
| Metal Rack | No |
| Aluminum Foil & Foil Containers | No |
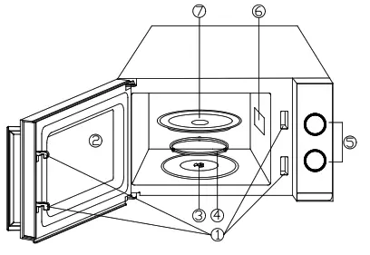
PART NAMES

- Door Safety Lock System
- Oven Window
- Shaft
- Roller Ring
- Control Panel
- Wave Guide
(Please do not remove the mica from the plate covering the waveguide) - Glass Tray
CONTROL PANEL

The control panel consists of two function operators. One is a timer knob, and another a power knob.
POWER/ACTION SELECTOR
You use this operator knob to choose a cooking power level. It is the first step to starting a cooking session.
TIMER KNOB
Offer visual timing settings at an easy turn of your thumb to select the desired cooking time up to 30 minutes per cooking session.
MICROWAVE COOKING
For pure microwave cooking, there are six power levels from which to choose one as the best fit to do the job at hand.
The power level increases with the knob turning clockwise. The power levels can be classified as the following:
| Power Output | Description | |
| 1 | 700W | HIGH |
| 2 | 600W | M.HIGH |
| 3 | 500W | MED |
| 4 | 350W | M.LOW |
| 5 | DEFROST | |
| 6 | 150W | LOW |
OPERATION
To start a cooking session,
- Place food in the oven and close the door.
- Turn the Power Selector to select a power level.
- Use the Timer knob to set a cooking time
NOTE:
As soon as the timer is turned, the oven starts cooking.
When selecting a time for less than 2 minutes, turn the timer past 2 minutes and then return to the correct time.
CAUTION: ALWAYS RETURN TIMER BACK TO ZERO POSITION if food is removed from the oven before the set cooking time is complete or when the oven is not in use. To stop the oven during the cooking process, push the door release button or open the door by the handle.
CLEANING AND CARE
- Turn off the oven and remove the power plug from the wall socket before cleaning.
- Keep the inside of the oven clean. When food splatters or spilled liquids adhere to oven walls, wipe with a damp cloth. Mild detergent may be used if the oven gets very dirty. Avoid the use of spray and other harsh cleaners as they may stain, streak or dull the door surface.
- The outside surfaces should be cleaned with a damp cloth. To prevent damage to the operating parts inside the oven, water should not be allowed to seep into the ventilation openings.
- Wipe the door and window on both sides, the door seals, and adjacent parts frequently with a damp cloth to remove any spills or spatters. Do not use abrasive cleaner.
- A steam cleaner is not used.
- Do not allow the control panel to become wet. Clean with a soft, damp cloth.
When cleaning the control panel, leave the oven door open to prevent the oven from accidentally turning on. - If steam accumulates inside or around the outside of the oven door, wipe with a soft cloth. This may occur when the microwave oven is operated under high humidity conditions. And it is normal.
- It is occasionally necessary to remove the glass tray for cleaning. Wash the tray in warm sudsy water or in a dishwasher.
- The roller ring and oven floor should be cleaned regularly to avoid excessive noise. Simply wipe the bottom surface of the oven with mild detergent. The roller ring may be washed in mild sudsy water or dishwasher. When removing the roller ring from the cavity floor for cleaning, be sure to replace it in the proper position.
- Remove odors from your oven by combining a cup of water with the juice and skin of one lemon in a deep microwaveable bowl, and microwave for 5 minutes. Wipe thoroughly and dry with a soft cloth.
- When it becomes necessary to replace the oven light, please consult a dealer to have it replaced.
- The oven should be cleaned regularly and any food deposits removed. Failure to maintain the oven in a clean condition could lead to deterioration of the surface that could adversely affect the life of the appliance and possibly result in a hazard.
- Please do not dispose of this appliance in the domestic rubbish bin; it should be disposed to the particular disposal center provided by the municipalities.
This appliance is labeled in accordance with European Directive 2012/19/EU on Waste Electrical and Electronic Equipment Regulations 2013 regarding electric and electronic appliances (WEEE).
The WEEE contains both polluting substances (that can have a negative effect on the environment) and base elements (that can be reused). It is important that the WEEE undergo specific treatments to correctly remove and dispose of the pollutants and recover all the materials. Individuals can play an important role in ensuring that the WEEE does not become an environmental problem; it is essential to follow a few basic rules:
– the WEEE should not be treated as domestic waste;
– the WEEE should be taken to dedicated collection areas managed by the town council or a registered company.
ln many countries, domestic collections may be available for large WEEEs. When you buy a new appliance, the old one can be returned to the vendor who must accept it free of charge as a one-off, as long as the appliance is of an equivalent type and has the same functions as the purchased appliance.


















