EATON nLL 15 LED 600 Explosion Protected Light Fittings Zone 2 and Zone 22

Product Information
- Product Name: CROUSE-HINDS SERIES Explosion protected light fittings zone 2 and zone 22
- Model: nLL* 15 LED 600/1200/1200HT/1500
- Manufacturer: Crouse-Hinds
Technical Specifications
- Rated Voltage: 230V
- Rated Frequency: 50 – 60 Hz
- Power Consumption:
- nLL* 15 LED 600: 8W
- nLL* 15 LED 1200/1200HT: 17W
- nLL* 15 LED 1500: 23W
- Maximum Current:
- nLL* 15 LED 600: 350mA
- nLL* 15 LED 1200/1200HT: 700mA
- IP Rating: IP66
- Protection Class: Class I
- Operating Temperature Range:
- nLL* 15 LED 600: -20°C to +40°C
- nLL* 15 LED 1200/1500: -20°C to +55°C
- Weight:
- nLL* 15 LED 600: approx. 4.0 kg
- nLL* 15 LED1200: approx. 6.0 kg
- nLL* 15 LED 1500: approx. 7.0 kg
Product Usage Instructions:
Safety Instructions:
Target group:
For skilled electricians and suitable qualified, instructed personnel in accordance with national legislation, including the relevant standards and, where applicable, in acc. with IEC/EN 60079-14 on electrical apparatus for explosive atmospheres.
- The light fitting is not suitable for use in hazardous areas of zone 0, 1 and zone 20, 21!
- The requirements of the IEC/EN 60079-31 regarding excessive dust deposits and temperature to be considered from the user.
- The technical data indicated on the light fitting are to be observed!
- Disconnect equipment before opening!
- Changes of the design and modifications to the light fitting are not permitted! The light fitting shall be operated as intended and in undamaged and perfect condition!
- Repairs may only be carried out by CCH/ CEAG or a qualified “electrician”!
- Do not keep these operating instructions inside the light fitting during operation!
Observe the national safety rules and regulations for prevention of accidents and the following safety instructions which are marked with an ( ) in these operating instructions!
Installation
Observe the respective national regulations as well as the general rules of engineering which apply to the installation and operation of electrical apparatus (IEC/EN 60079-14)! Transport and storage of the luminaire is permitted in original packing and specified position only!
Observe the safety instructions of the lamp manufacturer!
Only use such lamps that have been certified for these light fittings, see technical data and type label!
In special environment condition it could be necessary to use a breathing and drainage plug (GHG960 1954 R0002)!
Install the lamp with the preferential direction of light down!
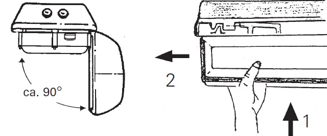
Opening and closing the light fitting
- Turn the central locking device with a box spanner (opening of the spanner SW 13) through 90° to its lock-in position and fold down the protective bowl,

- Fit in and remove the protective bowl acc.


- The protective bowl can, at option, be hinged on either side.
- To close the light fitting, press the protective bowl tightly onto the luminaire housing and turn the central locking device through 90°.
Mounting dimensions
When fixing the mounting accessories onto the light fitting, observe the max. depth of thread of 14 mm!
Do not use too long screws! Installing the light output upwards additional protection has to be assembled to avoid permanent water accumulations at the protective bowl gasket area.
Mind
For handrail mounting (e.g. mounted at 45°) we recommend replacing the existing cover of the locking bolt with the version part no 22216904000. In such a case the cover should be fixed with its hinges on the top part of the housing.
Due to the high ingress protection condensation cannot be avoided completely. There for we recommend the use of a breather plug in outdoor areas with high humidity and high ambient temperatures
(e.g. M20 order no. GHG9601954R0014 or M25 order no. GHG9601954R0002).
Accessories for mounting see CCH/CEAG catalogue.
Mains connection
To open the connection box, turn the green handle to its stop in the direction of arrow, then pull it and fold down the flap.
For power connection, use cables with copper conductor.
- The air and creep distances inside the light are designed for soiling level 2.(EN/IEC 60644, EN/IEC 60598-1, EN/IEC 60079-0/6.1 Note 3)
- When connecting the light to a flexible cable, ensure the correct strain relief (trumpet screw with at least IP66 protection class).
Only cable entries and sealing plugs certified to 2014/34/EU may be used.
The corresponding manufacturer‘s Operating Manual have to be observed.
Where cable entries are not used, the protective glass must be removed and sealed with a certified sealing plug (test torque 3.5 Nm). When closing the gland with a blanking plug, always use sealing inserts 1+2 (IP66)!
Unused threaded holes for cable entries are sealed with a certified screw-plugscrew (IP66).
- Introduce the cable through the cable entry.

- Use sealing inserts 1,2 and 3 for cables from 8 to 10 mm Ø, sealing inserts 1 and 2 for cables from 10 to 13 mm Ø and sealing insert 1 for cables from 13.5 to 17.5 mm Ø. Pay attention to the proper fit of the sealing insert remaining in the cable gland.
- Plug the bared conductors to the terminals in accordance with the terminal marking. Stripping length 2.5 mm²: 8 – 9 mm
- When screw-terminals are used also tighten vacant terminals! With single connection of the terminal no bending (loop) of the conductor required!
- If screw terminals are fitted, unused terminals must also be tightened!With single-component terminals, the wires do not need to be bent (loop)!
Installation of the nLLM …
The pole mounted light fitting is mounted and installed in the following order:
- Unscrew the three recessed head screws in the cover of the pole connecting compartment.
- Open the connecting compartment by folding down the cover.

- Pull the stay shackle of the cable entry socket up to its stop and take off the cover plate.
- Remove the cable entry sockets from the guiding grooves in in the connecting compartment.
- Then the pole mounting tube or the tube of the wall socket of 42 mm Ø each is pushed home into the opening of the light fitting.
- Adjust the light fitting and screw down the pre assembled M 6 special screws, applying a torque of 3.0 Nm.
- Introduce the cable through the tube and strip the insulation to the required length.
- Introduce the cable through the Ex cable entry (KLE) and tighten it down with the pressure screw of the cable entry (3.5 Nm torque).
- The complete support (with the cable being introduced) is put into the guiding grooves of the pole mounted light fitting.
- Lock the support with the stay shackle.
- Insert the cable into the pull-relief and tighten it down.
ATTENTION
Then connect the cable in accordance with the terminal marking. Attention! In case of unused cable entries, remove their protective cover and close the entries with a blanking plug (test-torque of 2.6 Nm). When closing the gland with a blanking plug, always use both sealing inserts!
Fitting the lamps
Only use LED tubes that have been certified for these light fittings, see Technical data and type label!
- The LED tubes (G5) is to be inserted to its stop into the marked holders so that both pins on either side of the lamp engage in the holder. Only the holders on this side are wired with connecting wires.
- Insert the cable entries of the LED – tubes into the socket use it in an opposite side.
- The lamp is to be inserted to its stop into both holders, so that both pins on either side of the lamp engage in the holder.
- Then turn the lamp to its lock-in position.


- If the LED tubes are inserted with swapped ends, there is no function.
- Observe the emission direction of the LED tubes.
Attention! Lamp exchange must be carried out while energy is switched off.
Option: automatic double-pole switch while opening the protective bowl.
Technical data
| ATEX EU- Declaration of conformity | CCH 15 ATEX 1044 | ||||
| ATEX Marking accd. 2014/34/EU and standard: | |||||
| Gas | II 3 G Ex | ec IIC T4 | Gc | ||
| with optional switch | II 3 G Ex | ec db IIC | T4 Gc | ||
| V-CGS | II 3 G Ex | ec mb ib | IIC T4 Gc | ||
| V-CGS with optional switch | II 3 G Ex | ec db mb | ib IIC T4 Gc | ||
| Dust | II 3 D Ex | tc IIIC T80 | °C Dc | ||
| Rated voltage | 220 V- 240 V AC/DC | ||||
| Rated frequenzy | 50- 60 Hz | ||||
| Lamps to be fitted with LED tubes (Sockel G5) | |||||
| Type | Aura UltiLED Long Life | ||||
| nLL* 15 LED 600 | 8 W | ||||
| Aura UltiLED Long Life / Aura UltiLED pro Long Life | |||||
| nLL* 15 LED 1200 / 1200HT | 17 W | 28 W | |||
| nLL* 15 LED 1500 | 23 W | 34 W | |||
| Max. quantity of nllk / MCB | B10 | C10 | B16 | C16 | |
| nLL* 15 LED 600/1200/1200HT/1500: | 8 | 13 | 12 | 21 | |
| Protection acc. to IEC/EN 60529 | IP 66 | ||||
| Insulation class to IEC/EN 61140 | I | ||||
| max. permissible ambient temperature(1) | |||||
| nLL* 15 LED 600 | -25 °C … +50 °C / +55 °C | ||||
| nLL* 15 LED 1200 / 1500 | -25 °C … +45 °C | ||||
| nLL* 15 LED 1200HT | -25 °C … +55 °C | ||||
| nLL* 15 LED … V-CGS | -25 °C … +40 °C | ||||
| Storage temperature in original packing | -25 °C … +40 °C | ||||
| Limits for versions with DALI interface | nLL* 15 LED 600 | nLL* 15 LED 1200/1200HT/1500 | |||
| Currents | max. 350 mA | max. 700 mA | |||
| Temperature fuse driver | |||||
| Temperature „A“ | 90 °C | 90 °C | |||
| Temperature „B“ | 95 °C | 95 °C | |||
| Supply terminal clamping capacity 2x per screw-terminal | single-wire | multiwire | |||
| min. | 1.5 mm2 | 1.5 mm2 | |||
| max. | 6.0 mm2 | 6.0 mm2 | |||
| Conductor cross-section with through wiring | 2.5 mm2 for max. 16 A | ||||
| Cable entries moulded plastics | M25 x 1,5 | ||||
| suitable cables and test torques of the pressure screw | Ø cable (mm) | Pressure screw (Nm) | |||
| Seal 1+2+3 1 2 3 | min. max.(2) | 8.0 10.0 | 1.5 2.0 | ||
| Seal 1+2 1 2 | min. max.(2) | 10.0 13.0 | 2.3 2.6 | ||
| Seal 1 1 | min. max.(2) | 13.5 17.5 | 1.3 2.3 | ||
| Test torque for screw in thread cable entry | 3.0 Nm | ||||
| Metal thread | M20 x 1.5 | ||||
| For permanently laid cables on | ly | ||||
| Dimensions of light fittings and for mounting | see fig. 2 | ||||
| Weight nLL* 15 LED 600 | approx. 4.0 kg | ||||
| nLL* 15 LED 1200 | approx. 6.0 kg | ||||
| nLL* 15 LED 1500 | approx. 7.0 kg | ||||
| |||||
Conformity with standards
The light fitting is conform to the standards specified in the Declaration of conformity, enclosed separately.
References to standards and directives in these operating instructions always relate to the latest version. Other additions (e.g. details relating to the year) shall be observed.
Application / Properties
It is suitable for use in hazardous areas of zone 2, 22 according
IEC/EN 60079-10-1 and IEC/EN 60079-10-2.
Light fittings with “Dali” electronic ballasts
The light fittings can be dimmed in a range from 10% to 100% via the built-in interface.
The factory settings for the currents and temperature limits must not be increased (see Technical Data).
Taking into operation
- Prior to operation, check the light fitting for its proper functioning and installation in compliance with these operating instructions and other applicable regulations!
- Only carry out insulation measurements between PE and the external conductor L1(L,L2,L3) as well as between PE and N!
- measuring voltage: max. 1 kV AC/DC
- measuring current: max. 10 mA
- The lamp may only be operated in the closed state.
Maintenance
Observe the national regulations applicable to the maintenance, servicing and test of electrical apparatus as well as the general rules of engineering (e.g. IEC/EN 60079-17)!
Servicing
When servicing, in particular those components that affect the type of protection, will have to be checked, e. g.:
- Housing and protective bowl for any cracks or damages.
- Gaskets for their perfect condition.
- Terminals and blanking plugs for their firm fit.
- Because of the risk of an electrostatic charge, the light fitting shall only be cleaned with a damp cloth or sponge!
Only use customary household washing-up liquid diluted in water as specified! The water temperature may be max. 50 ºC. After that, rinse with clear water to prevent the risk of tension cracks in the protective bowl! - Lamp replacement: Keep replacement intervals as specified by the lamp manufacturer!
Repair
Prior to replacing or removing any components, observe the following:
Cut the apparatus off the voltage before opening it or carrying out repairs!
Only use certified genuine CCH/CEAG spare parts! (See CCH/CEAG spare parts list).
Disposal/Recycling
When the apparatus is disposed of, the respective national regulations on waste disposal will have to be observed.
In case of disposal you can obtain additional information from your Cooper Crouse-Hinds /EATON branch.
Subject to modifications or supplement of the product range.
Installation of luminaries with DCA module
Luminaires with an EVG built in to the DCA module can be connected to a CEAG emergen-cy supply system. In DC mode, one luminaire will be turned off while the other continues to shine (green markings on the luminaire holder).
Installation of luminaires with V-CG-S module
The V-CG-S module monitors and indicates to the connected CEAG emergency supply system the operation of the supply unit circuit and the function of the luminaire.
In DC mode, one luminaire will be turned off while the other continues to shine (green markings on the luminaire holder).
The V-CG-S module allows single monitoring of these luminaires in CEAG emergency lighting systems. The switching mode (maintained/non-maintained and switched emergency luminaires) is freely programmable and mixed operation up to 20 addresses in a single circuit is possible.
For further information to the switching mode please refer to the relevant instruction manual of the emergency power supply unit.
Addressing
Before fitting the cover, the addressing of the individual luminaires is to be carried out. The desired address (1 – 20) is set on the address switch by means of a suitable screw driver.
If the luminaire should not be monitored the code 0/0 has to be selected.
Do not exceed the permissible power output!
Max. no. of luminaires to each output circuit:
| 2-lamps | eLL. 92 LED 400 V-CGS | eLL. 92 LED 800 V-CGS | |
| Connection to CEAG | |||
| SKU | 4 x 1 A | 6 | 4 |
| SKU | 2 x 3 A | 12 | 12 |
| SKU | CG 2 x 3 A | 12 | 12 |
| SKU | CG-S 2 x 3 A | 19 | 12 |
| SKU | 1 x 6 A | 18 | 18 |
| SKU | CG 1 x 6 A | 18 | 18 |
| SKU | CG-S 1 x 6 A | 20 | 20 |
| SKU | CG-S 4 x 1.5 A | 6 | 6 |
Our focus is on delivering the right solution for the appli-cation. But, decision makers demand more than just innovative products. They turn to Eaton for an unwavering commitment to personal support that makes customer success a top priority. For more information, visit
www.eaton.com/electrical.
Cooper Crouse-Hinds GmbH Neuer Weg-Nord 49
69412 Eberbach
E-Mail: [email protected]
www.crouse-hinds.de
© 2022 Eaton
All Rights Reserved
Printed in Germany
Publication No.
3 3465 000 172 D/GB/F (D) / Auflage 02.2022 / MS


























