
General information
Before using your appliance for the first time, read these original operating instructions, act in compliance with them, and keep them for later use or for subsequent owners.
Proper use
- Use the floor cleaner exclusively for cleaning hard floors in your private household and only on waterproof hard floors.
- Do not clean water-sensitive floor coverings such as un-treated cork floors (the moisture could penetrate and damage the floor).
- The device is suitable for cleaning PVC, linoleum, tiled, stone, oiled and waxed parquet, laminate and all water-resistant floor coverings.
Environmental protection
- The packaging material can be recycled. Please do not place the packaging into the ordinary re-fuse for disposal, but arrange for the proper recycling.
- Old appliances contain valuable materials that can be recycled. Please arrange for the proper recycling of old appliances. Please dispose your old appliances using appropriate collection systems.
- Electrical and electronic devices often contain compo-nents which could potentially pose a danger to human health and the environment if handled or disposed of in-correctly. However, these components are necessary for the proper operation of the device. Devices marked with this symbol must not be disposed of with regular household rubbish.
Notes about the ingredients (REACH)
You will find current information about the ingredients at: www.kaercher.com/REACH.
Scope of delivery
- The scope of delivery of your appliance is illustrated on the packaging. Check the contents of the appliance for completeness when unpacking.
- In the event of missing accessories or any transport damage, please contact your dealer.
Spare parts
Only use original accessories and spare parts, they en-sure the safe and trouble-free operation of the device. For information about accessories and spare parts, please visit www.kaercher.com.
Warranty
The warranty terms published by the relevant sales company are applicable in each country. We will repair potential failures of your appliance within the warranty period free of charge, provided that such failure is caused by faulty material or defects in manufacturing. In the event of a warranty claim please contact your dealer or the nearest authorized Customer Service center. Please submit the proof of purchase. (See address on the reverse)
Symbols on the machine
ATTENTION
The “MAX” marking on the waste water tank must not be exceeded when cleaning work is being performed.
Please observe the following procedure:
- First empty the waste water tank.

- Then fill the fresh water tank.

Safety instructions
- Apart from the notes contained herein the general safety provisions and rules for the prevention of accidents of the legislator must be observed.
- Warnings and notes that are attached on the appliance provide important notes for the safe operation.
Hazard levels
- DANGER
Pointer to immediate danger, which leads to severe injuries or death. - WARNING
Pointer to a possibly dangerous situation, which can lead to severe injuries or death. - CAUTION
Pointer to a possibly dangerous situation, which can lead to minor injuries. - ATTENTION
Pointer to a possibly dangerous situation, which can lead to property damage.
Electric components
DANGER
- Never use the appliance in pools containing water.
Check the faultless condition of the appliance and the accessories before using it. Otherwise, the ap-pliance must not be used.
If the power cord is damaged, please arrange im-mediately for the exchange by an authorized cus-tomer service or a skilled electrician.
Never touch the mains plug and the socket with wet hands.
Turn off the appliance and remove the mains plug prior to any care and maintenance work.
Repair works may only be performed by the author-ized customer service.
The connection between the power cord and exten-sion cable must not lie in water.
WARNING
- The appliance may only be connected to an electric supply that has been installed by an electrician in accordance with IEC 60364.
The appliance may only be connected to alternat-ing current. The voltage must correspond with the type plate of the appliance.
In wet rooms, e.g. bathrooms, connect the appli-ance to sockets with a series connected RCD adapter.
Only use splash-proof electrical extension cables with a minimum cross-section of 3×1 mm²
Replace couplings at the power cord or extension cable only with couplings that have the same pro-tection against splashing water and the same me-chanical strength.
CAUTION
Make sure that the power cord or extension cable is not damaged by running over, pinching, dragging or the like. Protect the power cords from heat, oil, and sharp edges.
Safe handling
DANGER
- The user must use the appliance as intended. The person must consider the local conditions and must pay attention to other persons in the vicinity when working with the appliance.
- The appliance may not be operated in explosive atmospheres.
- If the appliance is used in hazardous areas the corresponding safety provisions must be observed.
- Do not use the appliance if it fell down, is visibly damaged or leaking.
WARNING
- The appliance must not be operated by children or persons who have not been instructed accordingly.
- This appliance is not intended for use by persons with limited physical, sensory or mental capacities or lacking experience and/or skills, unless such persons are accompanied and supervised by a person in charge of their safety or they have received precise instructions on the use of this appliance and have understood the resulting risks.
- Children must not play with this appliance.
- Supervise children to prevent them from playing with the appliance.
- Keep appliance out of reach of children as long as it is switched on or hasn’t cooled down.
- Operate or store the appliance only in accordance with the description or illustration!
CAUTION
- Create stability for the appliance prior to any work on or with the appliance to prevent accidents or damage.
- Never fill solvents, solvent-containing liquids or un-diluted acids (e.g. detergents, petrol, paint thinner, and acetone) into the water reservoir as these sub-stances corrode the materials used in the appli-ance.
- Never leave the appliance unattended as long as it is in operation.
- Keep parts of the body (e.g. hair, fingers) away from the rotating cleaning rollers.
- Keep your hands protected while cleaning the suc-tion head- risk of injury from sharp objects (e.g. splinters).
ATTENTION
- Only switch on the appliance when the fresh water tank and waste water tank are fitted.
- The appliance must not be used for the intake of sharp or large objects (e.g. shards, pebbles, toy parts).
- Do not add acetic acids, descaling agents, essen-tial oils or similar substances to the fresh water tank. Also ensure that the substances are not drawn in.
- The air vents on the appliance must not be blocked up.
- Only use this appliance on hard floors with water-proof coatings (e. g. varnished parquet, enamelled tiles, Linoleum).
- Do not use the appliance for cleaning of carpets or carpeted floors.
- Do not use the appliance over the floor grilles of convector heaters. The appliance is not able to take in the water discharged when used above grilles.
- Do not operate the appliance at temperatures be-low 0 °C. In case of longer breaks and after use, switch the appliance off at the main switch / appliance switch and pull the mains plug.
- Protect the unit from rain. Do not store outside.
Description of the Appliance
- ON/OFF switch
- Handle
- Cable clamp
- Supply Cord
- Cable clip
- Carrying handle
- Waste water tank/separator lid
- Waste water tank
- Recessed grip cleaning roller
- Cleaning rollers
- Cover suction head
- Lock suction head
- Fresh water tank
- Handle fresh water tank
- Cleaning/park station
- Roller storage (depending on model)
- Filter inlay
- Detergent RM 536 30 ml
- Detergent RM 534 30 ml
- Detergent RM 536 500 ml
- Cleaning rollers 2x
- FC 5
- FC 5 Premium
Assembly
- Illustrations on the picture pages Illustration 1
- Insert handle into the basic unit as far as it goes un-til it engages audibly. The handle must sit snugly into the appliance.

Commissioning
Installing the rollers
Illustration 2
- Screw the cleaning rollers onto the threaded rod up to the mechanical stop.
- Pay attention to the colour-codes on the inside of the roller and roller holder on the appliance (e.g. blue should match up with blue).
- After the installation, check to ensure that the cleaning rollers sit snugly.

Fill fresh water reservoir
Illustration 3

- To stabilise, place the appliance into the cleaning station.
Illustration 4 - Remove the fresh water tank from the appliance using the handle.
Illustration 5 - Open fuel filler cap.
- Fill the fresh water tank with cold or lukewarm tap water.
- KÄRCHER detergents/care agents can also be added to the fresh water tank as required.* See chapter “Detergents and care products”.
- Do not exceed the “MAX” marking when filling.
- Close tank lock. Illustration 6
- Insert the fresh water container into the appliance.
- The fresh water tank must sit snugly into the appliance.

ATTENTION
Follow the recommended dosage instructions on the detergent/care agent.
Operation
General information on the operation
ATTENTION
Illustration A
The appliance must only be used for the intake of dirt and fluids (max. 250 ml).
Illustration B
Before beginning your work, remove any objects, such as shards, pebbles, screws or toy parts from the floor. Before use, check the floor for water consistency at suspect areas. Do not clean water-sensitive coatings, such as untreated cork floors (moisture ingress is possible which may damage the floor).

Notes
- To avoid striped patterns, test the device on an inconspicuous area before using on sensitive surfaces, e.g. wood or fine stone.
- Don’t stay in one place, keep moving.
- Follow the instructions of the floor covering manufacturer.
Notes
To prevent yourself from tripping over network cables, keep the handle in one hand, and the network cable in the other.
Illustration C
To avoid fresh footprints on the freshly-wiped floor, work backwards towards the door.
- Hold the appliance at the handle at angle of approx. 60 degrees.
- Clean the floor by moving the appliance back and forth at a similar speed as if you were vacuum cleaning.
- If the floor is especially dirty, let the appliance glide slowly across the floor.
- For scope of delivery of the roller pads in grey and yellow: Both roller pads have the same functionality, they can be used for different areas of application (colour distinction, e.g. for kitchen and bathroom).

Start working
ATTENTION
After switching on the appliance, the cleaning rollers will begin to rotate. Hold the handle tight to prevent the appliance from moving forwards by itself. Make sure the fresh water tank is filled with water and the waste water tank is fitted in the appliance.
Illustration 7
- Insert the mains plug into a socket.
Illustration 8 - To quickly wet the rollers, use a measuring cup to fill the cleaning station with 50 ml of fresh water.
Illustration 9 - Switch on the appliance and put it into operation in the station for 5 seconds. The appliance then has the ideal level of moisture in order to allow fast cleaning.
- Switch off the appliance; press the on/off button to do so.
Illustration 10 - Remove the carrying handle from the cleaning station and set it on the floor.
- Hold the appliance firmly using the handle.
Illustration 11 - To switch on the appliance press the on/off switch.

Refill detergent
ATTENTION
Before filling the fresh water tank, please empty the waste water tank. In this way you can avoid overflowing of the waste water tank. See Chapter “Emptying the waste water tank”.
Illustration 4
- Place the appliance in the cleaning station.
Illustration 4 - Remove the fresh water tank from the appliance using the handle.
Illustration 5 - Open fuel filler cap.
- Fill the fresh water tank with cold or lukewarm tap water.
- Add cleaning or disinfecting agent as required.
- Do not exceed the “MAX” marking when filling.
- Close tank lock.
Illustration 6 - Insert the fresh water container into the appliance. The fresh water tank must sit snugly into the appliance.
Emptying the waste Water tank
ATTENTION
The water level must be checked at regular intervals to prevent the waste water tank from overflowing. Do not exceed the “MAX” marking. Illustration 3
- Place the appliance in the cleaning station.
Illustration 12 - Hold the waste water tank at the bottom handle. At the same time, press the upper handle downwards with your thumbs.
- Remove waste water tank.
Illustration 13 - Remove the cover from the waste water tank.
- Empty the waste water tank.
- Depending on the amount of dirt, clean the lid/separator and waste water tank with tap water.
- Place the lid on the waste water tank. The lid must sit snugly onto the waste water tank.
Illustration 14 - Insert the waste water tank into the appliance. The waste water tank must sit snugly in the appliance.


Interrupting operation
Illustration 11
- Switch off the appliance; press the on/off button to do so.
Illustration 3 - Place the appliance in the cleaning station.
ATTENTION
To ensure the stability of the appliance during downtime, always put the appliance into the cleaning/park station. A lack of stability can cause the appliance to topple over, which can cause fluid to leak that damages the floor covering.
Turning Off the Appliance
Illustration 11
- Switch off the appliance; press the on/off button to do so.
Illustration 3 - Place the appliance in the cleaning station.
Illustration 15 - ATTENTION
After completing the work, clean the appliance by applying a rinse cycle. See “Cleaning the appliance by rinsing”.
Illustration 22 - Completely empty the appliance.

Illustration12
until
Illustration 14
- Empty the waste water tank. See Chapter “Emptying the waste water tank”.
- If there is still water in the fresh water tank or cleaning station, empty it.
Illustration 20 - Disconnect the main plug from the socket.

Illustration 21 - Wind the mains cable around the cable clips.
- Secure the mains cable with the cable clip.

Storing the Appliance
ATTENTION 10
To prevent odours developing, the fresh water and waste water tank must be completely emptied prior to storing the appliance.
Illustration 3
- Move the appliance to the place of storage using\ the carrying handle.
Illustration - To stabilise, place the appliance into the cleaning station.
- Store the appliance in a dry room.
Care and maintenance
Cleaning appliance with rinsing process
ATTENTION
When the work is finished, always rinse the appliance through with the cleaning station and fresh water. This is the best way of cleaning the appliance. It prevents the build-up of dirt and bacteria or unpleasant odours.
Illustration 11
- Switch off the appliance; press the on/off button to do so.
Illustration 3 - Place the appliance in the cleaning station.
- For the rinsing process, fill the fresh water tank with cold or lukewarm tap water to completely remove detergent residue from the suction ducts and slits on the suction head.
Illustration 6 - Insert the fresh water container into the appliance.
Illustration 15 - Remove the waste water tank and empty it. See Chapter “Emptying the waste water tank”.
- Fill the measuring cup with 200 ml water.
- Fill the cleaning station with water.
- If necessary, add appropriate KÄRCHER cleaning agents for the rinsing procedure.
- To switch on the appliance press the on/off switch.
- Allow the appliance to run for 30-60 seconds until the water is completely drawn out of the cleaning station.
The rinsing procedure is now complete.
Note
The longer the appliance is switched on, the less residual moisture is left over in the cleaning rollers.
- Switch off the appliance; press the on/off button to do so.
- If there is still water in the fresh water tank, remove the fresh water tank and empty it.
Illustration 13 - Empty the waste water tank. See Chapter “Emptying the waste water tank”.
- If there is still water in the fresh cleaning station, empty it.
Illustration 20 - Disconnect the main plug from the socket.
Illustration 21 - Wind the mains cable around the cable clips.
- Secure the mains cable with the cable clip.
Cleaning the rollers
ATTENTION
The fresh and waste water tanks must be emptied before the appliance is set down on the ground for roller removal. This prevents any fluids from leaking out of the tank when it is laid on the ground.
Note
In the case of heavy contamination, clean the cleaning rollers separately.
Illustration 11
- Switch off the appliance; press the on/off button to do so.
- If there is still water in the fresh water tank, remove the fresh water tank and empty it.
Illustration 20 - Disconnect the main plug from the socket.
- Empty the fresh water reservoir.
Illustration 13 - Empty the waste water tank.
Illustration 16 - Twist out the cleaning rollers from the recessed grip.
- Clean the cleaning rollers under running water. or
- Wash the cleaning rollers in the washing machine up to 60°C.



ATTENTION
Do not use any soft detergents when cleaning in the washing machine. This avoids causing damage to the microfibres. It also preserves the high-performance levels of the cleaning rollers. The cleaning rollers are not suitable for the tumble dryer.
ATTENTION
To avoid damaging the washing machine, we recommend placing the rollers in a laundry net and loading the washing machine with additional laundry.
- After cleaning, allow the rollers to air-dry.
Illustration 2 - Screw the cleaning rollers onto the threaded rod up to the mechanical stop.
- Pay attention to the colour-codes on the inside of the roller and roller holder on the appliance (e.g. blue should match up with blue).
- After the installation, check to ensure that the cleaning rollers sit snugly.
Cleaning the suction head
ATTENTION
In the case of heavy contamination or if parts such as stones or splinters get into the suction head, it will need to be cleaned. While the appliance is working, these parts will cause a rattling noise or will block up the suction ducts, diminishing suction performance.
Illustration 11
- Switch off the appliance; press the on/off button to do so.
Illustration 20 - Disconnect the main plug from the socket.
Illustration 16 - Remove the cleaning rollers. See “Cleaning the rollers”.
Illustration 19 - Press the suction headlock.
- Take off the suction head lid.
- Clean the suction head lid under running water.
- If necessary, remove particle deposits from the suction ducts and slits in the suction head lid.
- Clean the suction head with a damp cloth.
- Fix the suction head lid onto the suction head.

Note
When attached to the suction head the suction head lid must lock in place audibly.
Illustration 2
- Screw the cleaning rollers onto the threaded rod up to the mechanical stop. See “Cleaning the rollers”.
Clean the waste water tank
ATTENTION
Regularly clean the waste water tank to prevent blockage to the separator with dust and dirt or to prevent dirt from building up in the tank.
Illustration 11
- Switch off the appliance; press the on/off button to do so.
Illustration 3 - Place the appliance in the cleaning station.
Illustration 12
until
Illustration 14 - Remove the waste water tank from the appliance. See Chapter “Emptying the waste water tank”.
- Clean the lid/separator and waste water tank with tap water.
- The waste water tank can also be cleaned in the dishwasher.
- After cleaning, put the waste water tank with lid back into the appliance.
Detergents and care products
ATTENTION
The use of unsuitable cleaning and disinfecting agents can damage the appliance and will void the warranty.
Note
Add cleaning or disinfecting agent as required.
- When dosing the detergent and care product, follow the manufacturer’s dosage instructions.
- To prevent foaming, first fill the fresh water tank with water then cleaning or disinfect agent.
- To avoid exceeding the “MAX” fill level on the fresh water tank, leave room for the cleaning or disinfecting agent when filling with water.
Troubleshooting
Often, failures have simple causes and you can do the troubleshooting yourself using the following overview. If you are in doubt or if the failure is not listed here please contact the authorized customer service.
Lack of roller moistening with fresh water
Filter inlay is not inserted. (see graphic for description of the device)
- Remove fresh water tank and insert filter inlay with rubber pin facing upwards. Filter inlay is inserted the wrong way round.
- Remove filter inlay and insert with pin facing upwards. The suction hose is blocked by deposits of dirt.
- Carefully remove the suction hoses from the suction head and basic unit.
- Place the suction hoses in cold water for 10–20 minutes.
- Clean suction hoses with a dull object and/or under running water.
Appliance is not sucking up dirt
No water in the water reservoir.
- Refill water Fresh water tank does not fit properly in the device.
- Insert the fresh water tank so that it sits snugly in the appliance. Cleaning rollers missing or not fitted correctly.
Illustration 2 - Fit the cleaning rollers or turn them onto the roller holder up to the mechanical stop. Cleaning rollers are contaminated or worn.
- Clean the cleaning rollers. or
- Replace the cleaning rollers.
Rollers do not turn
Rollers are blocked.
Illustration 16
- Remove rollers and check if an object or the power cord has become stuck in the rollers. The roller motor switches off for protection against overheating.
- Allow the device to cool for at least 15 minutes.
Loud rattling when switched on
Rollers are too dry.
- Moisten the rollers/the device with 50 ml of water in the park station.
Rattling noise in the suction head
There are parts (e.g. stones or splinters).
Illustration 19
- Remove suction head lid and clean the suction head. See Chapter “Cleaning the suction head”.
Suction power decreases
The suction ducts and slits on the suction head are blocked.
Illustration 19
- Remove suction head lid and clean the suction head. See Chapter “Cleaning the suction head”.
Appliance is leaking waste water.
Waste water tank is overfilled.
Illustration 12
until
Illustration 14
- Empty the waste water tank right away. See Chapter “Cleaning the waste water tank”. Waste water tank does not fit properly in the appliance.
- Check whether the lid is fit securely on the waste water tank. See Chapter “Cleaning the waste water tank”. Separator is blocked.
- Remove lid from the waste water tank and clean the separator. See Chapter “Cleaning the waste water tank”.
The filter net of the waste water tank separator was damaged during cleaning.
- Renew separator.
Appliance leaves streaks behind on the floor
Cleaning or disinfecting agents are not suitable for the appliance or were dosed incorrectly.
- Only use detergents and care products approved by the manufacturer. See chapter “Detergents and care products”.
- Follow the manufacturer’s dosage instructions. The initial moistening of the rollers was not used or was not used long enough, meaning that the rollers are not completely moistened (rollers therefore only clean partially).
Illustration 8 - Completely moisten rollers.
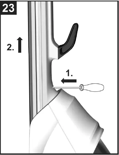
Removing the handle from the basic unit
ATTENTION
- Do not remove the handle from the basic unit once it has been assembled.
- The handle may only be removed from the basic unit if the unit is sent out for service purposes. illustration 23
See the illustration at the end of the operating instructions - Insert screwdriver at a 90 degree angle in the small opening at the rear side of the handle and remove handle.

ATTENTION
Please ensure that the connection cable between the basic unit and the handle are not damaged.
Technical specifications
Power connection
- Voltage
- 220-240 V
- 1~50-60 Hz
- Protection class IPX4
- Protective class II
Performance data
- Intake performance 460 W
- Roller revolutions per minute 500 rpm
Filling quantity
- Fresh water tank 400 ml
- Cleaning station 200 ml
Dimensions
- Cable length 7,0 m
- Weight (without cleaning liquids) 5,0 kg
- Length 320 mm
- Width 270 mm
- Height 1220 mm
Subject to technical modifications!
THANK YOU!
Register your product and benefit from many advantages.
Rate your product and tell us your opinion.

Alfred Kärcher SE & Co. KG
- Alfred-Kärcher-Str. 28-40 71364 Winnenden (Germany)
- Tel.: +49 7195 14-0
- Fax: +49 7195 14-2212
References
aspiration.cf
theGist | Unified AI Workspace to supercharge humans
Cleaning equipment and pressure washers | Kärcher International
MASKINEN AB
Hosted By One.com | Webhosting made simple
Producenten – Privat & prylar
water.No
Cleaning equipment and pressure washers | Kärcher International
Reinigungsgeräte und Hochdruckreiniger | Kärcher

































