OTO ZB-6000 Magnetic Bike
Safety Instructions
- People with the following conditions should consult their physician before using the product:
- Who uses a medical electronic device, which is embedded in the body, such as a pacemaker.
- Who suffers from heart disease.
- Who suffers from backbone injury or disease.
- Who is suffering from bone fragility, especially on the backbone.
- After surgery.
- Who is pregnant or in a period of monthly illness.
- Who suffers from malignant tumors.
- Who is suffering from osteoporosis.
- Who has problems with blood circulation.
- Who is suffering from skin disease or infection.
- Who is undergoing medical treatment or feels some physical abnormality previously or is being treated now.
- Who has some abnormality or deformity of limbs or backbone.
- Who has diseases, injuries due to illness or accident.
- If the product is damaged, do not try to repair the product. This must be handled by OTO technician or the product guarantee will become void.
- Children should not use this product. They should be under supervision to ensure that they will not treat this product as a toy.
- Do not use the product if cover is damaged or if there is a mechanical or electronic failure. Please contact OTO or its authorised dealers.
- Only use or place the product in accordance with the instructions in this user manual.
- Do not use this product in high temperature conditions or beside hot objects such as heaters, stoves. This product is intended for household use only.
- Avoid using the product immediately after eating. Wait for at least an hour before using the product.
- Make sure seat is suitably adjusted and securely fastened.
- Strap legs onto the pedals to prevent slippage during use.
- Be careful when folding the bike and remember to lock with the safety pin.
- Make sure the bike is in folded position and locked while moving.
- Do not put the bike in a humid environment.
- Wipe the bike especially the handlebar after exercise. This will protect the cosmetic of the bike.
- The magnetic mechanism installed in the bike is a patented technology. Do not try to open the housing or repair the bike yourself.
- Wear appropriate attire for the exercise. Remove loose items especially those on the leg.
- Start with some warm-up exercise before commencement.
- Always start with low resistance and then gradually increase.
- Make sure exercise environment is airy. Breathe normally during exercise. Stop if feel uncomfortable.
- 30 minutes normal speed cycling is recommended for a complete workout. A
Parts Name

Parts List


Assembly
STEP 1
- A.) Pull out the lock pin (#24) from the main frame (#1) and adjust the main frame to the correct position.
Insert the lock pin (#24) back to the main frame (#1). [Figure A]
- A.) Pull out the lock pin (#31) and pull the front support tube (#3) forward.
Insert the lock pin (#31) into the main frame (#1) and then fasten it with a club knob (#30). [Figure B]
STEP 2
Locate the rear base tube (#9),
- two M8x65 carriage bolts (#14),
- two M8 (φ22) washers (#17) and two M8 cap nuts (#22).
- Insert carriage bolts (#14) through rear base tube (#9) so that bolts protrude through the top side of the base tube.
- Mount body frame (#1) over the protruding carriage bolts.
- Place one washer (#17) over each carriage bolt, resting the washers on top of the body frame.
- Place one cap nut (#22) on each carriage bolt and tighten securely.

STEP 3
Locate the front base tube (#8),
- two M8x65 carriage bolts (#14),
- four M8 (φ22) washers (#17) and two M8 cap nuts (#22),
- two M8x15 allen bolts (#16).
A.) Insert carriage bolts (#14) through front base tube (#8) so that bolts protrude through the top side of the base tube.
- Mount body frame (#1) over the protruding carriage bolts.
- Place one washer (#17) over each carriage bolt, resting the washers on top of the body frame.
- Place one cap nut (#22) on each carriage bolt and tighten securely. DO NOT FULLY TIGHTEN IT.


STEP 4
Locate pedals (#5/#13).
- Insert pedal stamped ”R” into the Right crank arm and tighten securely.
- Insert pedal stamped ”L” into the Left crank arm and tighten securely.
NOTE: If pedals are inserted into the wrong crank arm, they will likely be damaged during use.

STEP 5
Locate handlebar (#7).
- Connect the upper sensor wire (#28) to the monitor (#27).
- Place handlebar (#7) on top of main frame.
- Place three M8 Screw (#16) and washers (#18) in each hole on handlebar and tighten securely
STEP 6
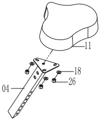
Locate seat (#11) and seat post (#4).
- Mount the seat (#11) onto the seat post (#4) and tighten themsecurely with three nuts (#26) and flat washers (#18)

STEP 7
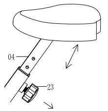
To set the seat.
- Insert the seat post (#4) to the main frame and fasten it with a lock knob (#23).

STEP 8
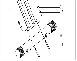
- A.) Attach the back support tube (#6) to the seat post (#4), tighten with two sets of carriage bolts (#15), flat washers (#19), nylon nuts (#26).
Attach the side handlebar (#10) to the back support tube (#6), tighten with two sets of carriage bolts (#15), flat washers (#19) and domed nuts (#22). Then insert the lock pin (#33) into the back support tube (#6). - B.) Attach the back cushion (#12) to the back support tube (#6), fasten with four sets of allen bolts (#20), spring washers (#21).

STEP 9
You could fold this bike as follows when you don’t want to exercise

- Pull out lock pin (#33), fold down the back cushion (#12), and store the lock pin back to the hole.
STEP 9 - Pull out the lock pin (#24) from the main frame (#1) and fold the main frame (#1) to a proper position, then insert the lock pin (#24) to fasten the main frame (#1).

- Loosen the club knob (#30) in counter-clockwise direction and pull out the lock pin (#31). Then fold the front support tube (#3) to a proper position and insert the lock pin (#31) to the main frame (#1).

How To Operate
Monitor :
- MODE/RESET: Press to select functions. Press and hold for 3 seconds to reset time, distance and calories, etc.
- SCAN: Press MODE button until “▼” appears at SCAN position. The monitor will rotate through the following functions: Time, Speed, Distance, Calories, Odometer, and Pulse. Each display holds 4 seconds.
- TIME: Count the total time from exercise start to end.
- SPEED: Display current speed.
- DISTANCE: Count distance from exercise start to end.
- CALORIES: Count the total calories burnt from exercise start to end.
- ODOMETER: Count the total distance from the time when the batteries are installed to the time when they run out.
- PULSE: Show the pulse rate when the user holds the sensors for at least 3 seconds.
NOTE :
- If the display is faint or shows no figures, please replace the batteries.
- The monitor will automatically shut off if there is no signal received after 2 minutes.
- The monitor will be auto powered on when starting to exercise or pressing button.
- When you stop exercising for 4 seconds, the display will stop calculating and a ”STOP” will be displayed on the screen. When you start exercising, the display will automatically start calculating and the ”STOP” will disappear.
Bike :
- RESISTANCE ADJUSTMENT: Turn the “Resistance Adjustment” knob clockwise (+more) to increase resistance; anti-clockwise (-less) to lessen the resistance.
- SEAT ADJUSTMENT: Unlock the “Seat Adjustment” knob by turning anti-clockwise and pull it to adjust seat level. Turn clockwise to lock the knob after securing the position.
Product Specifications









STEP 9

















