LEZYNE Y15-LED-STRIP Strip Drive Rear LED Bike Light
LED STRIP SERIES LIGHTS
Run Times and Modes

STRIP FRONT
STRIP PRO REAR
STRIP REAR
Battery

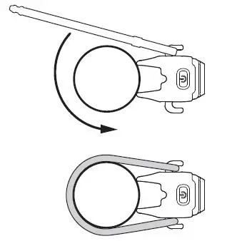
Mounting

Charging

For more info go to: www.lezyne.com/support.php


Run Times and Modes

STRIP FRONT
STRIP PRO REAR
STRIP REAR
Battery

Mounting

Charging

For more info go to: www.lezyne.com/support.php
Download manual
Here you can download full pdf version of manual, it may contain additional safety instructions, warranty information, FCC rules, etc.