SMC KF∗ Insert Fitting

Safety Instructions
These safety instructions are intended to prevent hazardous situations and/or equipment damage. These instructions indicate the level of potential hazard with the labels of “Caution,” “Warning” or “Danger.” They are all important notes for safety and must be followed in addition to International Standards (ISO/IEC)*1) , and other safety regulations.
- ISO 4414: Pneumatic fluid power — General rules relating to systems.
- ISO 4413: Hydraulic fluid power — General rules relating to systems.
- IEC 60204-1: Safety of machinery — Electrical equipment of machines. (Part 1: General requirements)
- ISO 10218: Manipulating industrial robots -Safety. etc.
Caution
Caution indicates a hazard with a low level of risk which, if not avoided, could result in minor or moderate injury.
Warning
Warning indicates a hazard with a medium level of risk which, if not avoided, could result in death or serious injury.
Danger
Danger indicates a hazard with a high level of risk which, if not avoided, will result in death or serious injury.
Warning
- The compatibility of the product is the responsibility of the person who designs the equipment or decides its specifications. Since the product specified here is used under various operating conditions, its compatibility with specific equipment must be decided by the person who designs the equipment or decides its specifications based on necessary analysis and test results. The expected performance and safety assurance of the equipment will be the responsibility of the person who has determined its compatibility with the product. This person should also continuously review all specifications of the product referring to its latest catalog information, with a view to giving due consideration to any possibility of equipment failure when configuring the equipment.
- Only personnel with appropriate training should operate machinery and equipment. The product specified here may become unsafe if handled incorrectly. The assembly, operation and maintenance of machines or equipment including our products must be performed by an operator who is appropriately trained and experienced.
- Do not service or attempt to remove product and machinery/equipment until safety is confirmed.
- The inspection and maintenance of machinery/equipment should only be performed after measures to prevent falling or runaway of the driven objects have been confirmed.
- When the product is to be removed, confirm that the safety measures as mentioned above are implemented and the power from any appropriate source is cut, and read and understand the specific product precautions of all relevant products carefully.
- Before machinery/equipment is restarted, take measures to prevent unexpected operation and malfunction.
- Contact SMC beforehand and take special consideration of safety measures if the product is to be used in any of the following conditions.
- Conditions and environments outside of the given specifications, or use outdoors or in a place exposed to direct sunlight.
- Installation on equipment in conjunction with atomic energy, railways, air navigation, space, shipping, vehicles, military, medical treatment, combustion and recreation, or equipment in contact with food and beverages, emergency stop circuits, clutch and brake circuits in press applications, safety equipment or other applications unsuitable for the standard specifications described in the product catalog.
- An application that could have negative effects on people, property, or animals requires special safety analysis.
- Use in an interlock circuit, which requires the provision of a double interlock for possible failure by using a mechanical protective function, and periodical checks to confirm proper operation.
Caution
The product is provided for use in manufacturing industries.
- The product herein described is basically provided for peaceful use in manufacturing industries.
- If considering using the product in other industries, consult SMC beforehand and exchange specifications or a contract if necessary.
- If anything is unclear, contact your nearest sales branch.
Limited warranty and Disclaimer/Compliance Requirements
The product used is subject to the following “Limited Warranty and Disclaimer” and “Compliance Requirements”. Read and accept them before using the product.
Limited warranty and Disclaimer
- The warranty period of the product is 1 year in service or 1.5 years after the product is delivered, whichever is first.∗2)
Also, the product may have specified durability, running distance or replacement parts. Please consult your nearest sales branch. - For any failure or damage reported within the warranty period which is clearly our responsibility, a replacement product or necessary parts will be provided.
This limited warranty applies only to our product independently, and not to any other damage incurred due to the failure of the product. - Prior to using SMC products, please read and understand the warranty terms and disclaimers noted in the specified catalog for the particular products.
Vacuum pads are excluded from this 1 year warranty.
A vacuum pad is a consumable part, so it is warranted for a year after it is delivered. Also, even within the warranty period, the wear of a product due to the use of the vacuum pad or failure due to the deterioration of rubber material are not covered by the limited warranty.
Compliance Requirements
- The use of SMC products with production equipment for the manufacture of weapons of mass destruction (WMD) or any other weapon is strictly prohibited.
- The exports of SMC products or technology from one country to another are governed by the relevant security laws and regulation of the countries involved in the transaction. Prior to the shipment of a SMC product to another country, assure that all local rules governing that export are known and followed.
Caution
SMC products are not intended for use as instruments for legal metrology
Measurement instruments that SMC manufactures or sells have not been qualified by type approval tests relevant to the metrology (measurement) laws of each country. Therefore, SMC products cannot be used for business or certification ordained by the metrology (measurement) laws of each country.
Specific Product Precautions (1)
Design/Selection
Warning
- Check the specifications.
The product in this catalog is designed to be used in compressed air systems (including vacuum) only. If the product is used in an environment where pressure or temperature is out of the specified range, damage and/or malfunction may result. (Refer to the specifications.)
Please consult with SMC when using fluid other than compressed air (including vacuum). We do not guarantee against any damage if the product is used outside of the specification range. - Do not disassemble the product or make any modifications, including additional machining. It may cause human injury and/or an accident.
- Check if PTFE can be used in the application. PTFE powder (Polytetrafluoroethylene resin) is included in the sealant. Confirm that the use of it will not cause any adverse effect on the system.
Caution
- Keep the connection part of fittings and tubing from rotating or oscillating movement.
The fittings may be damaged if they are used in the above manner. - The tubing bending radius in the vicinity of the fitting should be at least the minimum bending radius of the tubing.
If the bending radius is less than the minimum value, fittings may be damaged, or tubing may crack or be crushed. The minimum bending radius of the FR soft nylon tubing (TRS series), FR double layer tubing (TRB series), antistatic soft nylon tubing (TAS series), polyolefin tubing (TPH series), soft polyolefin tubing (TPS series) is measured as following in accordance with JIS B8381. Tubing deformation ratio at the minimum bending radius is obtained through the following formula, based on tubing diameter and mandrel diameter by wrapping the same radius mandrel tube.
Tube deformation ratio at the minimum bending radius
- Here, η: Deformation ratio (%)
- d: Tubing diameter (mm)
- L: Measured length (mm)
- D: Mandrel diameter (mm)
(Twice against the minimum bending radius) - Test temperature: 20 +/5oC
- Relative humidity: 65 +/5%
- Do not use fluids other than those listed on the specifications. Applicable fluids are air, N2, water, and steam. Please consult with SMC if using other fluids.
- When it is used with water, the fittings or tubing may be damaged depending on the surge pressure.
- When using the swivel elbow, particles may be generated by rotation for positioning after connecting. If you are concerned about the effects on machinery and equipment, check the particle generation with your machine before use.
- Depending on the storage or operating environment and the period of storage or use, the surface of the brass (C3604) may blacken. If the discoloration of the brass is a problem, we recommend selecting electroless nickel-plated brass instead.
- Example) KFH06-01S -X2
Mounting/ Piping
Warning
- Operation manual
Install the products and operate them only after reading the operation manual carefully and understanding its contents. Also, keep the manual where it can be referred to as necessary. - Ensure sufficient space for maintenance activities. When installing the products, allow access for maintenance.
- Adhere to the thread-tightening method.
When installing the products, refer to the “Connection Thread Tightening Method”. - There may be cases of the tubing detaching from the fitting and thrashing around uncontrollably due to tubing degradation or fitting breakage.
To prevent the situation from becoming uncontrollable, fit the tubing with a protective cover or fix it in place.
Caution
- Preparation before piping
Before piping is connected, it should be thoroughly blown out with air (flushing) or washed to remove chips, cutting oil and other debris from inside the pipe. - Winding of sealant tape
When screwing together pipes and fittings, etc., be certain that chips from the pipe threads and sealant do not get inside the pipe. Also, when the sealant tape is used, leave approximately 1 thread ridge exposed at the end of the threads.
Specific Product Precautions (2)
Mounting/Piping
- Check the model, type and size before installation. Also, confirm that there are no scratches, gouges or cracks on the product.
- When connecting the tubing, take pressure or possible changes to the tubing length into account, and allow a sufficient margin.
Failure to do so may result in fitting breakage or detachment of the tubing. Refer to the recommended piping conditions. - Do not apply unnecessary forces such as twisting, pulling, moment loads, vibration and impact, etc. on fittings or tubing.
This will cause damage to the fittings and will crush, burst or release tubing. - Tubing, with the exception of coiled tubing, requires stationary installation. Do not use standard tubing (non-coiled) in applications where tubing is required to travel inside the flexible protection tube. Tubing that travels may sustain abrasion, extension, or severance due to tensile force, or may result in removal of tubing from fitting. Use caution prior to use for proper application.
- To install the fitting, screw the fitting in using the hexagonal face of the body, and tighten with an appropriate wrench.
Affix the wrench at the base of the thread. If the size of the hexagonal face and wrench do not match, or tightening takes place near the tube side, it may cause collapse or deformation of the hexagonal face, or damage to the equipment. After installing, confirm that there is no damage to the fitting, etc.
Piping Method
Caution
- Insertion of tube
- Take a tube having no flaws on its periphery and cut it off at right angles. (Use SMC’s tube cutter TK-1, 2, 3, 5 or 6 for cutting. Do not use pinchers, nippers or scissors, etc.)
The tubing might be cut diagonally or flattened, making installation impossible or causing problems such as disconnection and leakage. - Grab the tube and gently push it thoroughly into the fitting.
- After insertion, confirm that the tube will not disconnect.

- When the union nut is loose, tighten it additionally, temporarily by hand.
- After fixing the body with the tightening tool, tighten the union nut with an appropriate wrench, applying the torque as shown below. After tightening the clearance between the union nut and the body in the axial direction is about 2 mm.
Sleeve material Fitting size Appropriate tightening rotations Equivalent tightening torque [N・m]
Nylon 66
KF 04 1.5 to 2.0 2 to 7 KF 06 1.5 to 2.0 3 to 8 KF 08 1.5 to 2.0 4 to 9 KF 10 1.5 to 2.0 6 to 9 KF 12 1.5 to 2.0 9 to 12 C2700
KF 04 1.5 2 to 4 KF 06 1.5 4 to 6 KF 08 1.5 6 to 9 KF 10 1.5 10 to 12 KF 12 1.5 10 to 12
- Take a tube having no flaws on its periphery and cut it off at right angles. (Use SMC’s tube cutter TK-1, 2, 3, 5 or 6 for cutting. Do not use pinchers, nippers or scissors, etc.)
- How to connect elbow-type connector
- First tighten by hand, then use an appropriate wrench to tighten 1/6 to 1/3 turns additionally. Refer to the table below for equivalent tightening torque.

Fitting size
Appropriate tightening rotations Equivalent tightening torque [N・m]
KF·-04 1/6 to 1/3 3 to 7 KF·-06 1/6 to 1/3 3 to 7 KF·-08 1/6 to 1/3 3 to 7 KF·-10 1/6 to 1/3 5 to 10 KF·-12 1/6 to 1/3 5 to 10
- First tighten by hand, then use an appropriate wrench to tighten 1/6 to 1/3 turns additionally. Refer to the table below for equivalent tightening torque.
Specific Product Precautions (3)
Air Supply
Warning
- Type of fluids
Please consult with SMC when using the product in applications other than compressed air.
Regarding products for general fluids, please contact SMC concerning applicable fluids. - When there is a large amount of drainage. Compressed air containing a large amount of condensate can cause the malfunction of pneumatic equipment. An air dryer or water droplet separator should be installed upstream from the filters.
- Drain flushing
If condensate in the drain bowl is not emptied on a regular basis, the bowl will overflow and this may cause the malfunction of pneumatic equipment. If the drain bowl is difficult to check and remove, installation of a drain bowl with an auto drain option is recommended.
For details on the above-compressed air quality, refer to SMC’s Best Pneumatics catalog. - Use clean air.
Do not use compressed air that contains chemicals, or synthetic oils including organic solvents, salt or corrosive gases, etc., as it can cause damage or malfunction.
Caution
- Install an air filter.
Install an air filter at the upstream side of the valve. Select an air filter with a filtration degree of 5μm or finer. - Install an after cooler, air dryer or water droplet separator, etc.
Compressed air that contains a large amount of drainage can cause the malfunction of pneumatic equipment. Therefore, take appropriate measures to ensure air quality, such as by providing an aftercooler, air dryer or water droplet separator. - Ensure that the fluid and ambient temperature are within the specified range.
If the fluid temperature is 5oC or less, the moisture in the circuit could freeze, causing damage to the seals and leading to equipment malfunction. Therefore, take appropriate measures to prevent freezing. For details on the above-compressed air quality, refer to SMC’s Best Pneumatics catalog.
Operating Environment
Warning
- Do not use in an atmosphere having corrosive gases, chemicals, seawater, water, water steam, or where there is direct contact with any of these.
Refer to each construction drawing on the fittings and tubing material. - Do not expose the product to direct sunlight for an extended period of time.
- Do not use in a place subject to heavy vibration and/or shock.
- Do not mount the product in locations where it is exposed to radiant heat.
- Do not use ordinary fittings and tubing in locations where static electricity would be problematic.
It may result in system failure and trouble. In such places, use of antistatic fittings (KA series) and antistatic tubing (TA series) are recommended. - Do not use ordinary fittings and tubing in locations where the spatter is generated.
Spattering may result in a fire hazard. In such a place, use of flame-resistant fittings (KR/KRM series) and flame-resistant tubing
(TRS/TRB/TRBU/TRTU series) are recommended. - Do not use in an environment where the product is directly exposed to cutting oil, lubricant, coolant oil, etc.
Please contact SMC if using for an environment exposed to cutting oil, lubricant or coolant oil, etc. - Take note that if nylon tubing, soft nylon tubing and antistatic tubing are used in a clean room. The antioxidant on the surface of the soft nylon tubing may come off, thereby lowering the cleanness level.
- Do not use in environments where foreign matter may stick to the product or get mixed in the product’s interior.
This may cause leakage or disconnection of the tubing.
Specific Product Precautions (4)
Maintenance
Warning
- Perform maintenance inspections according to the procedures indicated in the operation manual.
If handled improperly, malfunction and damage of machinery of equipment may occur. - Maintenance work
If handled improperly, compressed air can be dangerous. The assembly, handling, repair, and element replacement of pneumatic systems should be performed by a knowledgeable and experienced person. - Drain flushing
Remove drainage from air filters regularly. - Removal of equipment and supply/exhaust of compressed air When components are removed, first confirm that measures are in place to prevent workpieces from dropping, run-away equipment, etc. Then, cut off the supply pressure and electric power, and exhaust all compressed air from the system using the residual pressure release function. When the equipment is restarted, proceed with caution after confirming that appropriate measures are in place to prevent cylinders from sudden movement.
Caution
- Be certain to wear safety glasses at all times during periodical inspections.
- During regular maintenance, check for the following and replace any components as necessary.
- Scratches, gouges, abrasion, corrosion
- Leakage
- Flattening or distortion of tubing
- Hardening, deterioration or softness of tubing
- Do not repair the fittings or patch the tubing for reuse.
- Using this product for extended periods of time can result in leaks due to the material change. In such cases, tighten the union nut additionally.
A guide for the additional tightening is 1/6 to 1/4 turns. But in case of the brass sleeve, the limit for additional tightening is 1/2 turns.
When there is a leak even after additional tightening, replace the sleeve with new one. - Sleeve is not recyclable. Replace it every time piping is performed.
Connection Thread Tightening Method
Fittings with sealant: R
- First, tighten the fitting by hand, then use a wrench appropriate for the hexagon flats of the body to tighten it a further two or three turns. For a tightening torque guide, see the table below.
Connection thread size Tightening torque [N・m] R1/8 3 to 5 R1/4 8 to 12 R3/8 15 to 20 R1/2 20 to 25 - If the fitting is tightened with excessive torque, a large amount of sealant will seep out. Remove the excess sealant.
- Insufficient tightening may cause seal failure, or loosen the threads.
- Reuse
- Normally, fittings with a sealant can be reused 2 to 3 times.
- To prevent air leakage through the sealant, remove any loose sealant stuck to the fitting by blowing air over the threaded portion.
- If the sealant no longer provides effective sealing, wrap sealing tape over the sealant before reusing it. Do not use the sealant in any form other than a tape type.
- Once the fitting has been tightened, backing it out to its original position often causes the sealant to become defective. Air leakage will occur.
Tightening tool
Use a wrench appropriate for the hexagon flats of the body to tighten the fitting. Position the wrench as close to the thread as possible. Using a wrench of an incorrect size can crush the hexagon flats.
Same as for union nut tightening.
Precautions for use with non-SMC
Caution
When using the KF series with tubing other than those from SMC, the products are not subject to warranty.
Specifications
| Sleeve material | Nylon | Brass |
| Fluid | Air, N2, Water Turbine oil class(ISO VG32) Note 2) ,Note 3), Note 5) | Air, N2 , Steam Turbine oil class(ISO VG32) Note 2) , Note 3) |
| Ambient and fluid temperature | -5 to 60oC (No freezing) Water: 0 to 60oC (No freezing) | -5 to 150oC (No freezing) |
| Operating pressure range Note 1 | -101.3 kPa to 1 MPa Note 4) | |
| Proof pressure | 7.0 MPa (at 60oC) | |
| Lubricant | Grease-free | |
| Seal on the threads | None or with sealant | |
- Note 1) Do not use the fittings with a leak tester or for vacuum retention because they are not guaranteed for zero leakage.
- Note 2) Swivel type is not compatible with water, steam, and turbine oil class 1 (ISO VG32).
- Note 3) Consult with SMC regarding the applicable tube separately.
- Note 4) Check the operating pressure range and operating temperature range on the tubing.
- Note 5) Deionized water is not recommended for use as it may affect the material used in the fittings
In addition, it is known to degrade the water quality.
Applicable tubing
| Series | Applicable tube material | Tubing size (O.D. x I.D.) | |||||||
| 4 x 2.5 | 6 x 4 | 8 x 5 | 8 x 6 | 10 x 6.5 | 10 x 7.5 | 12 x 8 | 12 x 9 | ||
| T | Nylon | ● | ● | – | ● | – | ● | – | ● |
| TU | Soft nylon | ● | ● | – | ● | – | ● | – | ● |
| TU | Polyurethane | ● | ● | ● | – | ● | – | ● | – |
| TP | Polyolefin | ● | ● | – | ● | – | ● | – | ● |
| TPS | Soft polyolefin | ● | ● | ● | – | ● | – | ● | – |
| TH | FEP | ● | ● | – | ● | – | ● | – | ● |
| TL | PFA | – | ● | – | ● | – | – | – | – |
| TD | Modified PTFE | ● | ● | - | ● | - | ● | - | ● |
| TUS | Soft polyurethane | ● | ● | ● | - | ● | - | ● | - |
| TUH | Hard polyurethane (High pressure) | ● | ● | ● | - | ● | - | ● | - |
| TUZ | Wear Resistant Tubing | ● | ● | ● | - | ● | - | ● | - |
Troubleshooting
KF series Insert fitting cannot be disassembled or repaired in order to quality maintenance. When failure such as “Non-removable tubing”, “Union nut cannot be tightened” or “Leakage does not stop after additional tightening of union nut” occurs, please replace the whole product.
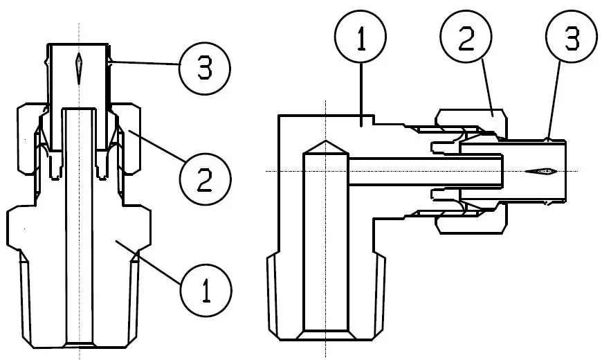
Construction
- Male connector
- Male elbow

| No. | Description | Material |
| 1 | Body | C3604, C3771 |
| 2 | Union nut | C3604 |
| 3 | Resin sleeve, plug | Nylon 66 |
| Brass sleeve | C2700 |
Revision history
Fluid N2, Turbine oil class1 (ISO VG32) add
- Specifications: Note 3,4,5) add
- Applicable Tubing: TUZ add
SMC Corporation
4-14-1, Sotokanda, Chiyoda-ku, Tokyo 101-0021 JAPAN Tel: + 81 3 5207 8249 Fax: +81 3 5298 5362 URL http://www.smcworld.com.
NOTE:
Specifications are subject to change without prior notice and any obligation on the part of the manufacturer.
© 2022 SMC Corporation All Rights Reserved






















