inse E3 plus Robot Vacuum Cleaner

Safety Notes
Please read the following safety notes carefully and abide by all routine preventive measures for safety.
- Please read this manual carefully.
- Please keep this manual well.
- This product may be damaged due to any operation inconformity to this manual.
Expressions
Danger
It means that if the instruction is not followed or the operation is improper, it is very likely to cause death or serious injury.
Warning
It means that if the instruction is not followed or the operation is improper, it may cause death or serious injury.
Note
It means that if the instruction is not followed or the operation is improper, it may cause personal injury or cause damage to the contents.
Symbols & Diagrams
Prohibition
This symbol refers to prohibited (forbidden) conducts. Detailed prohibition contents are indicated in or near the diagram.
Indication
This symbol refers to conducts that must be (need to be) implemented compulsorily. Specific compulsory conducts are indicated in or near the diagram.
Note
This symbol aims at calling your attention (warning). Specific attention contents are indicated in or near the diagram.
- Serious injuries include: blindness, burn, electric injury, fracture and poisoning, etc. involving sequela and long-time hospitalization.
- Staff injuries include: injuries, including burn or electric injury, to people who do not need hospitalization.
- Material damages include: damages to household furniture, finance and pets and so on.
Warning
Do not dismantle, repair or refit the product by yourself. Otherwise, the product may be damaged and you may be injured.
Indication
If there is dust on the metal part of the power socket or around it, it must be wiped and cleaned with dry mop. Otherwise, electric shock, heating and fire, etc. may be caused.
Dust remova
The power adapter shall be between AC 100V and 240Vac. Please insert it into the socket correctly and avoid children touch it.
AC
Please don’t use the product in the place where fire or explosion may be caused. If the product is used in the place with flammable gas, e.g. propane gas and gasoline, an explosion or fire may be caused.
Prohibition
It is forbidden to stand or sit on this product. Otherwise, the product may be damaged or you may fall down.
Note
Do not touch it with a wet hand. Do not touch it with a wet hand in the charging process. Otherwise, an electric shock may be caused.
Do not touch
Do not expose to sunshine. This product is a kind of precise electronic equipment. Do not expose it in the sunshine for a long time.
Prohibition
Please keep this product close to cigarettes, lighters and other open fire.
Prohibition
- If the product is not in use for a long time. Please turn off the power supply switch at the bottom of the machine.
- Please carefully check if the power adapter is connected with the power socket well. Otherwise, the battery may be damaged.
- When the dustbin is full, please clean up dust rubbish and then use the machine. The use temperature scope of this product
- Please put this product in the place where it may fall down easily (e.g. on the desk, chair or high stand in the room).
Product Components
Host and accessories
| No. | Name | Quantity |
| 1 | Host | 1 pcs. |
| 2 | Charging stand | 1 pcs. |
| 3 | Remote control (without batteries) | 1 pcs. |
| 4 | Power adapter | 1 pcs. |
| 5 | Cleaning tools | 1 pcs. |
| 6 | User’s manual | 1 pcs. |
| 7 | Side brush | 1 pair. |
| 8 | Carriage components | 1 pcs. |

Illustration of Host

Carriage components
The carriage assembly is only applicable to some models, and the specific packing list shall prevail.

Charging stand

Remote control
Key description
Start/Pause” button
- A. In standby mode, press this button to start automatic cleaning.
- B. In sleep mode, press this key to enter standby mode from sleep mode.
- C. In working mode, press this button to stop cleaning.
Arrow keys
- A. “
” forward
Press this key in standby mode or working mode to move the machine forward. - B. ”
” backward
In standby mode or working mode, the machine rotates 180° and then moves forward. - C. “
” left
Press this button in standby mode or working mode to turn the machine to the left - D. “
” to the right
Press this key in standby mode or working mode to turn the machine to the right.”Auto” button
In standby mode or working mode, press this button and the machine will start auto cleaning. - “Focus” button
In standby mode or working mode, press this button and the machine will start focus cleaning. - “Edge” button
In standby mode or working mode, press this button and the machine will start edge cleaning. - “Return” button
In standby mode or working mode, press this button and the machinewill automatically return to charging dock for charging.

Notice
- A. Please install two AAA batteries before use.
- B. Do not install the positive and negative poles of the battery reversely.
- C. If you do not use the remote control for a long time, please remove the batteries.
- D. Waste batteries are disposed of in accordance with local regulations.
- E. Non-rechargeable batteries must not be charged.
- F. Different types of batteries or old and new batteries must not be mixed for use.
Remote control battery installation
- Open the battery cover at the rear of remote control.
- Insert the battery into the remote control.
- Close the back cover of the remote control.
Quick Start Guide

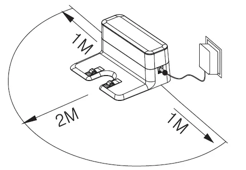
- Place charging stand against a wall, and remove all obstacles within 1 meter on the left and right and 2 meters in front of the charging stand, as shown in the picture on the right, then connect the adapter and power supply, then the power indicator on the charging stand is always light.
- Long press the start button of the machine, then the machine enters standby mode.
- The machine can be charged in the following ways. Press the “Return” button on the remote control in standby mode or in working mode, and the machine will automatically return to the charging base for charging, as shown in the figure below.

Note
When using the charging stand to charge, press “Start/Pause” button on the remote control, and the machine will stop charging and perform cleaning.
Notice
- A. Please charge the machine for more than 12 hours when charging for the first time;
- B. In normal use, please store the machine on the charging stand, and ensure that the charging stand is connected to the power source.
- C. Please check the charging status of the machine after using.
- D. If you do not use the machine for a long time, please press and hold the cleaning button of the machine to turn off it.
Automatic charging
- A. When the battery level is too low, the machine will automatically start looking for a charging dock to charge.
- B. Please make sure that the charging base is in a power-on state and there are as few obstacles as possible, otherwise the machine cannot find the charging base for charging.
- C. In order to find the most suitable charging location, the machine may go back and forth to the charging base 3~4 times before it can be charged normally.
Start/Pause/Hibernation
Sleep mode: The light of “Cleaning” button of machine is off, and the machine is in a static state. Standby mode: The light of “Cleaning” button of machine is always on, and the machine is in a static state. Working mode: The machine is working, and the light of the “Cleaning” button is always on.
Start
Press and hold the “Cleaning” button of the machine for 3 seconds, and the machine light will turn on.
Note
If the machine is in sleep mode, press the “Clean” button on the host or the “Start/Pause” button on the remote control to switch the machine from sleep mode to standby mode, and then press the “Clean” button on the host or “Start/Pause” on the remote control again, then the machine will start to work.
Pause
Pause means to switch the machine from working mode to standby mode, which can be completed by the following operations
- A. Press the remote control start/pause button.
- B. Press the “Clean” button on the host.
Hibernation
If the machine is not operated within 20~25 seconds, the machine will automatically enter sleep mode
Note
If you do not use the machine for a long time, please turn off the power of the machine.
Carriage components (carriage components are only applicable to some models, please refer to the packing list for details)
- Paste the rag flat on the bottom. (The rag can be used wet) As shown in Figure 1.
- The carriage assembly is hung on the bottom of mainframe in the direction indicated by the arrow (as shown in Figure 2), and the two pillars on the carriage assembly are placed in the two holes on the base of host (as shown in Figure 2); the carriage component is close to the base.
- A. The automatic recharging failure of the machine will be caused when the carriage assembly is carried.
- B. The climbing ability of the machine will be affected when the carriage assembly is carried.
- C. It is forbidden to bring the carriage assembly to charge, so as not to avoid danger.

Cleaning mode
- Edge cleaning
In standby mode or working mode, press the “Edge” button on the remote control, and the machine will start cleaning along the largest edge of the room. - Focus cleaning
Place the machine next to the dusty area, press the “Focus” of the remote control, and the machine will start to focus on cleaning. - Auto cleaning
In working mode, press the “Auto” button on the remote control, and the machine will start auto cleaning.
Notes
- A. After selecting a certain cleaning mode, the machine will automatically switch to other cleaning modes according to actual environment to achieve the best cleaning effect.
- B. When the machine is in any cleaning mode, operator can press the “Start/Pause” button on the remote control or the “Start/Pause” button on the machine to stop the cleaning.
Product maintenance
Side brush cleaning
If the side brush becomes dirty, please clean it with water and dry it before using; if the side brush is damaged and cannot work normally, please replace it.
Notice
When replacing the side brush, please correspond to the “L” and “R” marks on the side brush, as well as the “L” and “R” on the side brush position at the bottom of the machine.
Trash box and filter cleaning
- A. Press the finger mark on rotating cover to automatically pop up the cover.
- B. After taking out the trash box, please check whether there is any foreign matter in the air suction channel of the host and clean it.
- C. Take out the high-efficiency filter.
- D. Take out the primary filter.
- E. Lower the height of trash box to pour out the dust.
- F. Fully clean the trash box, primary filter, and advanced filter. The high-efficiency filter is recommended to be cleaned after 15-30 days of use. The maximum service life of the high-efficiency filter is 24 months. The high-efficiency filter cannot be cleaned with a brush. It can be blown clean with a blower, or lightly knocked with the help of external force to make the dust fall off. Do not wash it with water.
- G. Install and use correctly. Please make sure that the two filters have been installed before use to avoid damage to the device.
Notice
- A. Please clean the trash box and the suction channel after each cleaning.
- B. After washing the parts, dry them and do not expose them to the sun, and put them into the machine after being fully dried, so as not to affect the function and life of the machine.
- C. The primary filter and high-efficiency filter must be replaced in time to avoid affecting the dust removal effect.

Cleaning cloth maintenance
- A. Take off the cleaning cloth, rinse and spread it out to dry; as shown in Figure J.
Notes
- Please do not use the dripping cloth directly to avoid product from slipping during work.
- Use environment: wooden floor, ceramic tile, marble, painted hard floor and other floors.
- The rag belongs to water tank component, which is only applicable to some models, and the details are subject to the packing list.
Sensor lens and electrode slice cleaning
- A. Use a cleaning tool or a soft cloth to gently wipe the sensor and the charging electrode, and mark the position as shown in the figure below.

- B. Use a cleaning tool or a soft cloth to clean the charging connecting piece on the charging stand, and mark the position as shown in the figure below.

Common faults
Warning code table
If the machine has some common failures, the corresponding phenomena and solutions are as follows.
| Common faults and solutions | |||
| No. | Phenomena | Fault | Solution |
| 1 | Normal | Steady green | |
| 2 | Charge | Flashing green | |
| 3 | Ground inspection abnormal | The red light flashes quickly and the buzzer sounds for 3-5 times | Place the host back on the ground |
| 4 | Side brush overload | The green light flashes quickly, and the buzzer sounds for 3-5 times | Check the side brush condition |
| 5 | Fan abnormal | The orange light flashes quickly and the buzzer sounds for 3-5 times | Check the fan condition |
| 6 | Driving wheel overload | Red and green flashing, buzzer beeps for 3-5 | Check the condition of driving wheel |
| 7 | Bump switch abnormal | The green light flashes slowly, and the buzzer sounds for 3-5 times | Check the sensitivity of the front impact bumper, and check for foreign objects |
| Notes | If the above method cannot solve the problem, please try the following actions: 1. Turn off the power of the machine and restart the machine. 2. If the problem cannot be solved by restarting, please send the machine to the after-sales service center for repair. | ||
Battery replacement

- Long press the machine cleaning button to turn off it (Figure 1).
- Use a screwdriver to remove the screws from battery cover at the bottom of the machine (Figure 2).
- After removing the battery cover, pull the insulating cloth strip on the battery to take out the battery.
- Gently break the battery connection plug lock to separate the battery from host (Figure 3, Figure 4).
- Connect the new battery plug to the socket of host. The color of battery wire corresponds to the color of the machine interface wire, and the installation plug has the function of anti-reverse installation (Figure 5).
- Put the new battery into the battery slot with the font face up.
- Arrange the wires and put them next to the battery, and then lock the battery cover.
- Start to check whether it is normal.
Notice
- A. Ihe battery of original manufacturer must be used for replacement, otherwise it may cause damage to the host or accidents. Please refer to “Product Parameters” for battery specifications.
- B.The newly replaced battery needs to be charged for more than 12 hours when it is used for the first time.
- C.Please recycle the replaced old batteries in an environmentally friendly way.
Product parameters
| Classification | Item | Parameter |
| Structure | Diameter | 290mm |
| Net weight | 1.8kg | |
| Electronics | Voltage | 11.1V |
|
Cleaning parameters | Charging type | Automatic charging Manual charging |
| Cleaning mode | Edge cleaning, focus cleaning, auto cleaning | |
| Charging time | About 180-300 minutes | |
| Host key type | Mechanical keys |
Note: The storage environment temperature range of this product is 0~40°C
Product Hazardous Substance Restriction Labeling Table
Name and content table of hazardous substances SJ/T 11364-2014
| Hazardous substance | ||||||||
| Chromiu | Polybro | Polybrom | ||||||
| Name of part | m VI (Cr(VI)) | minated biphenyl | inated diphenyl | |||||
| Plumbu | Hydrargy | Cadmiu | s (PBB) | ethers | ||||
| m (Pb) | rum (Hg) | m (Cd) | (PBDE) | |||||
| Metal | 〇 | 〇 | 〇 | 〇 | 〇 | 〇 | ||
| Printed Assembly | Circuit | Board | 〇 | 〇 | 〇 | 〇 | 〇 | 〇 |
| Plastic | 〇 | 〇 | 〇 | 〇 | 〇 | 〇 | ||
| Standard parts (screws, washers, etc.) | 〇 | 〇 | 〇 | 〇 | 〇 | 〇 | ||
| Other metal structural parts (motors, decorative parts*, etc.) | 〇 | 〇 | 〇 | 〇 | 〇 | 〇 | ||
| This table is compiled in accordance with the regulations of SJ/T 11364-2014. 〇: Indicate that the content of hazardous substance in all materials of the part is below the limit requirement specified in GB/T26572-2011. X: Indicate that the content of toxic and hazardous substance in at least one of the homogeneous materials of the part exceeds the limit requirement specified in GB/T 26572-2011. The “X” components show that due to the current global technology and process level restrictions, it is impossible to achieve complete substitution of non-environmental-friendly substances or elements, and will continue to be improved gradually with technological improvements. *: Indicate that only some models of products include this part. | ||||||||
Environmental protection use period of 10 years
deadline within which the harmful substances contained in this product will not leak or change, and the normal use of this product under the conditions described in product manual will not cause serious pollution to the environment or cause serious damage to their personal and property.
Arrow recycling symbol
indicate that this product can be recycled. After the expiry date or after maintenance and unable to work normally, it should not be discarded at will. Please hand it over to formal recycling channels and enterprises qualified for disposal of waste electrical and electronic products. For the correct method of disposal, please refer to the national or local regulations on old electrical and electronic product handling regulations. The above markings are implemented in accordance with the requirements of China’s Management Measures for Restricted Use of Hazardous Substances and its supporting standard SJ/T 11364. Long-term use of this product will not cause harm to the human body, please be assured to use.
If you have any questions about the product, please feel free to contact us. Support@inselífe.com























