bioSan FTA-1 Aspirators with Trap Falsk Instructions
About this edition of user instructions
The current edition of the user manual applies to the following models and versions of aspirators with trap flasks:
- FTA-1; version V.4AW
- FTA-2i: version V.1A01
Safety precautions
Caution! Make sure you have fully read and understood the present Manual before using the equipment. Please pay special attention to sections marked by this symbol.
GENERAL SAFETY
- The protection provided can be ineffective if the operation of the appliance does not comply with the manufacturer’s requirements.
- Save the unit from shocks and falling.
- Store and transport the unit at ambient temperatures between -20°C and +60°C and maximum relative humidity of 80%.
- After transportation or storage and before connecting it to the electric circuit, keep the unit under room temperature for 2-3 hrs.
- Use only original parts and accessories, provided by manufacturer for this product.
- Before using any cleaning or decontamination methods except those recommended by the manufacturer, check with the manufacturer that the proposed method will not damage the equipment.
- Do not make modifications in design of the unit.
ELECTRICAL SAFETY
- Connect only to the mains with voltage corresponding to that on the serial number label.
- Use only the external power supply provided with this product.
- Ensure that the power plug is easily accessible during use.
- Disconnect the unit from the mains before moving.
- If liquid penetrates into the unit, disconnect it from the mains and have it checked by a repair and maintenance technician.
- Do not operate the unit in premises where condensation can form. Operating conditions of the unit are defined in the Specifications section.
DURING OPERATION
- Do not operate the unit in environments with aggressive or explosive chemical mixtures. Please contact manufacturer for possible operation of the unit in specific atmospheres.
- Do not operate the unit if it is faulty or has been installed incorrectly.
- Do not use outside laboratory rooms.
- Do not use the unit for aggressive organic compounds, chlorinated solvents and strong conjugated acids, see section 8. Chemical compatibility.
BIOLOGICAL SAFETY
- The user is responsible to carry out appropriate decontamination if hazardous material spills on or penetrates into the equipment.
- Empty the trapping flask when the liquid level reaches maximum. Take necessary precautions utilizing waste liquid in accordance with general laboratory standards.
General information
FTA-1 & FTA-2i aspirators with trap flask have been designed for liquid removal from micro-test tubes (e.g. for supernatant removal during DNA/RNA extraction), ELISA plates (e.g. performing several repeated well washing cycles), cell culture flasks (cell media exchange and washing during cell growth) and other vessels during various laboratory techniques.
Model FTA-1 has a 1 L glass trap flask and is designed to be a low-cost solution. Aspiration is possible with a single standard 200 μL tip and the 8-tipped MA-8 adapter.
Model FTA-2i comes with a 2 L polypropylene trap flask and a liquid overflow sensor that stops collected material from damaging the filter. Aspiration is possible with single 200 and 1000 μL tip using the MA-U adapter or with the handheld vacuum controller HAS-1 with different attachments such as 8-channel adapter with stainless steel tips, 8 channel adapter for 200 μl tips, single channel adapter for 200 μl tips and others.
Microbiologic suction filter eliminates risks of contamination caused by bacteria, viruses, and infected particles from samples. Such contamination can be distributed by suction pump or central vacuum units. Microbiological suction filter is hydrophobic and has very high contamination removal bacterial efficiency – up to 99.99% of particles bigger than 0.027 micrometres (e.g. Hepatitis A, B and C, HIV, etc.).
In order to prolong performance and efficiency of device it is not allowed to use aggressive organic compounds (e.g. phenol) and strong conjugated acids (e.g. guanidine) for aspiration. Please, contact manufacturer in case of any questions regarding operation of device.
Getting started
- Unpacking. Remove packing materials carefully and retain them for future shipment or storage of the unit. Examine the unit carefully for any damage incurred during transit. The warranty does not cover in-transit damage. Warranty covers only the units transported in the original package
- Complete set. Package contents:
- FTA-1
FTA-1, aspirator with trap flask : 1 pce.
– Hydrophobic filter set: 1 set
– Aspiration tips, 200: µL50 pcs.
– Holder tubes (1.5 ml): 10 pcs.
– Spare hydrophobic filter: 1 pce.
– External power supply: 1 pce.
– Operating instructions, declaration of conformity: 1 copy
– MA-8, 8-channel aspiration tip with holder: on request - FTA-2i
FTA-2i, aspirator with flask trap: 1 pce.
– MA-U, universal adapter: 1 pce.
– Hydrophobic filter set: 1 set
– Aspiration tips, 200 µL: 50 pcs.
– Aspiration tips, 1000 µL: 10 pcs.
– Holder tubes (2 ml): 5 pcs.
– Spare hydrophobic filter: 1 pce.
– External power supply: 1 pce.
– Operating instructions, declaration of conformity: 1 copy
– Extended tubing (2 m), with fittings and MA-U adapter: on request
– MA-8, 8-channel aspiration tip with holder: on request
– HAS-1, hand operator set with SH-6 stand: on request
- FTA-1
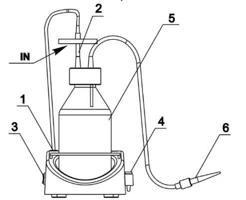
- FTA-1 setup.
- Place the unit on horizontal even working surface.
- Install the trapping flask (fig. 1/5) on the unit.
- Assemble the lid, aspiration tubing and filter set (fig. 1/2). Attach aspiration tip (fig. 1/6) to the tubing.
Caution! Position the filter with the IN marking pointing towards the unit (fig. 1/2). - Screw on the lid with the filter set and aspiration tubing to trap flask. Ensure that the filter set is tightly inserted.
- Connect the filter tubing to the pump (fig. 1/1) located at the top of the base behind the trap flask, by turning the fitting clockwise.
- Place the microtubes for aspiration tip into the holder (fig. 1/4).
- Connect the external power supply unit into the socket at the rear side of the unit and position the unit for an easy access to the external power supply and the power switch.
Optional MA-8 aspiration tip installation. Remove microtubes and aspiration tip from the holder (fig. 1/4). Place MA-8 storing holder (fig. 2/1) into the holder. Remove aspiration tip (fig. 1/6) from the aspiration tubing and connect the MA 8 aspiration tip (fig. 2/2). Store the aspiration tip in the new holder.
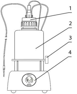
- FTA-2i setup.
- Place the unit on horizontal even working surface.
- Install the trapping flask (fig. 3/2) on the unit.
- Screw on the lid with the sensor needles and valves for tubing (fig. 3/1) to trapping flask.
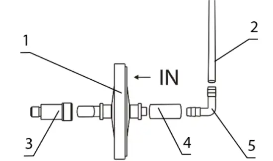
- Assemble the filter set (figure 6) and connect it to the port on the rear panel of the unit (fig. 7/1).
Caution! Position the filter with the IN marking pointing away from the unit (fig. 6/1). - Attach the fitting (fig. 4/1) of the tubing to the filter (fig. 4/2) to the valve with white ring on the lid.
- Ensure that the filter set is tightly fixed in the slot (fig. 7/1).
- Assemble the MA-U aspiration tip set (figure 5).
- Attach the fitting (fig. 4/3) of the tubing for liquids (fig. 4/4 and 5/3) to the valve with the blue ring on the lid.
- Connect the sensor cable (fig. 4/5) to the lid of the unit and to the port on the rear panel of the unit (fig. 7/4)
- Place the microtubes for aspiration tip into the holder (fig. 3/3).
- Connect the external power supply unit into the socket at the rear side of the unit (fig. 7/5) and position the unit for an easy access to the external power supply and the power switch.
Optional MA-8 aspiration tip installation. Remove microtubes and aspiration tip from the holder (fig. 3/3). Remove the aspiration tip (fig. 5/1) from the MA-U adapter and connect the MA-8 aspiration tip (fig. 8/1A).
Optional HAS-1 hand operator installation. Unscrew the MA-U adapter from the aspiration tube (fig. 5/3) and connect the HAS-1 hand operator (fig. 8/5) by screwing it to the fitting.

Figure 1. Assembled FTA-1

Figure 2. Installation of MA-8 aspiration tip

Figure 3. FTA-2i front view

Figure 4. FTA-2i lid with sensor and tubing

Figure 5. MA-U, universal adapter

Figure 6. FTA-2i filter setup

Figure 7. FTA-2i rear panel
Operation
- Connect the external power supply to the mains.
- Turn the Power switch (fig. 1/3 or 7/2) to the position I (on). The pump starts working.
- (For model FTA-2i) Regulate the aspiration intensity with the regulator knob on the front panel of the unit (fig. 3/4). Clockwise turning direction increases power, counter clockwise – decreases. Current intensity is indicated by a light ring around the regulator knob.
- Touch the surface of the liquid with the aspiration tip (fig. 1/6, 5/1 or MA-8) to remove the liquid.
Caution! During operation, do not allow the collected liquid to exceed the maximum level. Empty the trapping flask when the liquid level reaches maximum allowed level, according to 5.6.
Note. In model FTA-2i, when collected liquid exceeds the maximum level, the sensor turns off the pump and produces sound and light warning signals.- (For model FTA-2i) When using the optional HAS-1 hand regulator, touch the liquid with the aspiration tip, then press and hold the blue button on the regulator to collect.
- After finishing the operation, switch off the Power switch and disconnect the external power supply from the mains.
- Emptying the trapping flask. Turn off the unit. Remove the tubings and cables from the lid. Remove the closed flask from its place. Unscrew the lid and empty the trapping flask. Screw the lid back on and return the trapping flask on the unit. Replace the tubings and the cables.
Caution! Take necessary precautions in utilizing waste liquid in accordance with general laboratory standards. For information regarding autoclaving procedures.
Specifications
The unit is designed for operation in cold rooms, incubators (except CO2 incubators) and closed laboratory rooms at ambient temperature from +4°C to +40°C in a non-condensing atmosphere and maximum relative humidity 80% for temperatures up to 31°C decreasing linearly to 50% relative humidity at 40°C.
Biosan is committed to a continuous programme of improvement and reserves the right to alter design and specifications of the equipment without additional notice.
| FTA-1 | FTA-2i | |
| Aspiration speed | up to 1.7 mL/s | up to 27.8 mL/s |
| Vacuum regulation | None | Yes |
| Working vacuum pressure | -500 mbar | -200 … -800 mbar |
| Overflow protection sensor | None | Yes, invasive |
| Overflow protection actions | None | Pump stop, sound and light signals |
| Trapping flask | 1 L, glass | 2 L, polypropylene (PP) |
| Air filtration | Hydrophobic microbiologic air filter 2200/021 | |
| Filter pore diameter | 0.027 μm | |
| Input current | DC 12 V, 300 mA | DC 12 V, 1 A |
| Power consumption | 3.6 W | 10.8 W |
| External power supply | input AC 100-240 V, 50/60 Hz; output DC 12 V | |
| Dimensions | 160x210x340 mm | 185x290x390 mm |
| Weight2 | 1.7 kg | 1.85 kg |


Figure 8. Optional accessories and replacement parts
1 Eliminates risk of contamination from the trapping flask with bacteria, viruses and infected particles
2 Accurate within ±10 %
Ordering information
Models and versions available:
| Model | Version | Catalogue number |
| FTA-1 | V.4AW | BS-040108-AAG |
| FTA-2i | V.1A01 | BS040120-A02 |
To inquire about or order the optional accessories or the replacement parts, contact Biosan or your local Biosan representative.
Optional accessories
| Description | Catalogue number |
| МА-8, 8-channel aspiration tip (fig. 8/1A) with holder (fig. 8/1B) | BS-040108-BK |
| HAS-1, hand operator set (only for FTA-2i). Set includes: Handheld vacuum controller with adapter (fig. 8/5), 8-channel adapter (with ejector) for 200 µL tips (fig. 8/6), 1-channel adapter with 125 mm stainless steel pin (fig. 8/7), 1-channel adapter with 40 mm stainless steel pin (fig. 8/8), 8-channel adapter with 35 mm stainless steel pin (fig. 8/9), 1-channel adapter (with ejector) for 200 µL tips (fig. 8/10C), Stand SH-6 for hand operator parts (fig. 8/10) | BS-040118-PK |
| Extended tubing (2 m), with fittings and MA-U adapter | BS-040120-DK |
Replacement parts for FTA-1.
| Description | Catalogue number |
| Hydrophobic filter | BS-040108-S25 |
| Aspiration tip, 200 µL, 1000 pcs. (fig. 8/2) | BS-000001-S04 |
| Aspiration tip, 8 channels, for MA-8 (fig. 8/1A) | BS-040108-S24 |
| Trapping flask, 1 L, glass, with lid, inserts and sealing ring | BS-040108-S11 |
| Tubing and fitting set | BS-040108-S22 |
Replacement parts for FTA-2i
| Description | Catalogue number |
| MA-U, universal adapter for 200/1000 µL single use tips (fig. 8/4) | BS-040118-AK |
| Hydrophobic filter | BS-040108-S25 |
| Aspiration tip, 200 µL, 1000 pcs. (fig. 8/2) | BS-000001-S04 |
| Aspiration tip, 1000 µL, 1000 pcs. (fig. 8/3) | BS-000001-S05 |
| Aspiration tip, 8 channels, for MA-8 (fig. 8/1A) | BS-040108-S24 |
| Trapping flask, 2 L, polypropylene, with lid, inserts and sealing ring | BS-040120-S11 |
| Tubing and fitting set | BS-040120-S14 |
| Sensor cable | BS-040120-S12 |
Chemical compatibility
- Different aerosols and vapors from volatile and hazardous agents can have a damaging effect on the specific parts of the units. Please see below for FTA 1 and FTA2i material compatibility tables 1 and 2 with different common laboratory chemicals. It is required to use the FTA-2i pump’s exhaust (fig. 7/3) by connecting it to the means of required filtration through a tube or alternatively placing the unit in a fume hood when working with volatile and hazardous agents. FTA-1 does not have pump exhaust connector available; therefore, it is obligatory to place the unit in a fume hood.
It is suggested to test the compatibility of related parts to a specific chemical prior to extensive use. Biosan does not warrant that the data in the tables is correct or comprehensive and that any material is fit for any purpose. - Resistance grades used in tables:
- 1 (Excellent) – at ambient temperature and pressure, the material should not be affected.
- 2 (Good) – the material is slightly affected but not to the point of being unsuitable.
- 3 (Fair) – a degree of reaction that is generally considered unsuitable and should not be used.
- 4 (Severe) indicates that the material should not be used under any circumstances
Table 1. FTA-1 chemical resistance chart
|
Parts |
Material | Formalde- hyde CH2O | Acetic acid C2H4O2 | Hydrochloric acid HCl | Sodium hydroxide NaOH | Ethanol C2H5OH | Acetone (CH3)2CO |
| Tubing | Silicone | 2 | 2 | 3 | 3 | 1 | 3 |
| Bottle 1L | Glass | 1 | 1 | 1 | 1 | 1 | 1 |
| Lid | Polypropylene | 1 | 1 | 1 | 1 | 1 | 1 |
| Lid seal | NBR | 2 | 3 | 2 | 2 | 2 | 4 |
| Fittings | Polypropylene | 1 | 1 | 1 | 1 | 1 | 1 |
| Quick couplings | Ertacetal POM | 1 | 1 | 3 | 1 | 1 | 1 |
| Housing | Polystyrene | 4 | 3 | 2 | 1 | 2 | 3 |
| Pump head housing | Polycarbonate | 1 | 2 | 4 | 4 | 2 | 4 |
| Pump head membrane | EPDM | 2 | 1 | 2 | 1 | 1 | 1 |
| Pump valve | EPDM | 2 | 1 | 2 | 1 | 1 | 1 |
| Filter membrane | PTFE | 1 | 1 | 1 | 1 | 1 | 1 |
Table 2. FTA-2i chemical resistance chart
|
Parts |
Material | Formalde- hyde CH2O | Acetic acid C2H4O2 | Hydrochloric acid HCl | Sodium hydroxide NaOH | Ethanol C2H5OH | Acetone (CH3)2CO |
| Tubing | Silicone | 2 | 2 | 3 | 3 | 1 | 3 |
| Bottle 2L | Polypropylene | 1 | 1 | 1 | 1 | 1 | 1 |
| Lid | Polypropylene | 1 | 1 | 1 | 1 | 1 | 1 |
| Lid seal | TPE | 1 | 3 | 1 | 1 | 1 | 1 |
| Level detection pins | Stainless steel | 3 | 3 | 3 | 2 | 1 | 1 |
| Fittings | Polypropylene | 1 | 1 | 1 | 1 | 1 | 1 |
| Quick couplings | POM | 1 | 1 | 3 | 1 | 1 | 1 |
| Housing | ABS | 2 | 4 | 1 | 1 | 2 | 4 |
| Pump head housing | Nylon | 4 | 4 | 4 | 3 | 1 | 1 |
| Pump head membrane | EPDM | 2 | 1 | 2 | 1 | 1 | 1 |
| Pump valve | EPDM | 2 | 1 | 2 | 1 | 1 | 1 |
| Filter membrane | PTFE | 1 | 1 | 1 | 1 | 1 | 1 |
Care and maintenance
- If the unit requires maintenance, disconnect the unit from the mains and contact Biosan or your local Biosan representative.
- All maintenance and repair operations must be performed only by qualified and specially trained personnel.
- Cleaning and disinfection.
- Glass and plastic outer parts. Standard ethanol (75%) or other cleaning agents recommended for cleaning of laboratory equipment can be used for cleaning and decontamination.
- Silicone and internal parts. Use only distilled water, no less than 0.5 L.
- Autoclaving procedures
Lid, fittings, tubing Flask Hydrophobic filter, cables, base pump FTA-1 121°C and 1 atm., 15 min. 121°C and 1 atm., 55 min. Do not autoclave FTA-2i 121°C and 1 atm., 15 min.
Caution! Do not put a closed flask in the autoclave, as it might irreversibly deform. Completely disengage the thread on the cap.
Note. Hydrophobic filter and sensor cable are sensitive to moisture and are
not autoclavable. Tubing is made of silicone and deteriorate after frequent autoclaving and should be replaced - Tubing replacement. Change the silicone tubing every 6 months.
- Filter replacement. Replace the filter as soon as it accumulates visible traces of dirt, or when the liquid is sucked into it. Maximum working time for the filter is 30 days. When working with infected materials, replace the filter immediately after finishing the procedure to prevent the spread of infection.
- Changing procedure. Remove the filter (fig. 1/2 or 6/1) by detaching it from adapters. Insert a new filter and reconnect the adapters.
Caution! Observe the orientation of the filter:
For model FTA-1, the IN marking should be facing towards the unit (figure 1).
For model FTA-2i, the IN marking should be facing away from the unit (figure 6).
- Changing procedure. Remove the filter (fig. 1/2 or 6/1) by detaching it from adapters. Insert a new filter and reconnect the adapters.
- Troubleshooting.
Problem Possible reason Troubleshooting Unit not working No power Check external power supply and connector (FTA-2i) Trapping flask full Sensor shut down the motor. Empty the trapping flask according to 5.6. (FTA-2i) Sensor not connected properly Check sensor cable and attachments Aspiration slow or absent (FTA-2i) Aspiration intensity set to small Turn the regulator knob clockwise to in- crease aspiration. Breach in the system Check all the tubing and fittings. Tightly close the lid of the unit Dirt in the tubing Clean the tubing, see 8.3. Liquid in the filter Replace the filter (FTA-2i) Sensor activated, but the flask is not full Foam in the trapping flask activated the sensor Do not use the unit with a foaming liquid or use antifoaming agent.
Warranty
- The Manufacturer guarantees the compliance of the unit with the requirements of Specifications, provided the Customer follows the operation, storage and transportation instructions.
- The warranted service life of the unit from the date of its delivery to the Customer is 24 months. For extended warranty, see 10.6.
- Warranty for the unit does not cover optional accessories or replacement parts listed in 7.2.
- Warranty covers only the units transported in the original package.
- If any manufacturing defects are discovered by the Customer, an unsatisfactory equipment report shall be compiled, certified and sent to the local distributor address.
To obtain the claim form, visit Technical support page on our website at link below. - Extended warranty.
- For FTA-2i, the Premium class model, one year of extended warranty is available free of charge after registration, during 6 months from the date of sale. Online registration form can be found in section Warranty registration on our website at the link below.
- For FTA-1, the Basic Plus class model, extended warranty is a paid service. Contact your local Biosan representative or our service department through the Technical support section on our website at the link below.
- Description of the classes of our products is available in the Product class description section on our website at the link below:
Technical support

Registration
Product class description
- The following information will be required in the event that warranty or post-warranty service comes necessary. Complete the table below and retain for your records
| Model | Serial number | Date of sale |
| FTA-1 FTA-2i, Aspirators with trap flask |
EU Declaration of conformity
- Unit type Aspirators with trap flask
- Models FTA-1, FTA-2i
- Serial number 14 digits styled XXXXXXYYMMZZZZ, where XXXXXX is model code, YY and MM – year and month of production, ZZZZ – unit number.
- Manufacturer SIA BIOSAN
Latvia, LV-1067, Riga, Ratsupites 7 k-2
The objects of the declaration described above is in conformity with the following relevant Union harmonization legislations:
| LVD 2014/35/EU | LVS EN 61010-1:2011 Safety requirements for electrical equipment for measurement, control, and laboratory use. General requirements. |
| EMC 2014/30/EU | LVS EN 61326-1:2013 Electrical equipment for measurement, control and laboratory use. EMC requirements. General requirements. |
| RoHS3 2015/863/EU | Directive on the restriction of the use of certain hazardous substances in electrical and electronic equipment. |
| WEEE 2012/19/EU | Directive on waste electrical and electronic equipment. |
I declare that the Declaration of Conformity is issued under sole responsibility of the manufacturer and belongs to the above-mentioned objects of the declaration.
Svetlana Bankovska
Managing director

Biosan SIA
Ratsupites 7 k-2, Riga, LV-1067, Latvia
Phone: +371 67426137 Fax: +371 67428101
http://www.biosan.lv
















