JVC TH-S430B Audio Home Theater System 2.1 Soundbar With Wireless Subwoofer

IMPORTANT SAFETY INSTRUCTIONS
Thank you for purchasing the home theater TH-S430B Soundbar. Please read this user manual carefully and keep for future reference.
Caution:
To reduce the risk of electric shock, do not dismantle the product and do not expose the apparatus to rain or moisture. No user-serviceable parts inside. Refer servicing to qualified personnel only. Plug on the power cord is used as disconnect device, the disconnect device shall be easily accessible.
- The lightning flash within an equilateral triangle is intended to alert you to the presence of uninsulated dangerous voltage within the product’s enclosure that may be of sufficient magnitude to constitute an electric shock to a person or persons.
- Important! This symbol alerts you to read and observe important warnings and instructions on the unit or in this manual.
Notice:
This appliance is not intended for use by persons (including children) with reduced physical sensory or mental capabilities, or lack of experience and knowledge, unless they have been given supervision or instruction concerning use of the appliance by a person responsible for their safety. Children should be supervised to ensure that they do not play with the appliance.
- To prevent possible hearing damage, do not listen at high volume levels for long periods of time or a sudden high volume level.
- Never use the device unsupervised! Switch off the device whenever you are not using it, even if not using it only for a short while.
- The appliance is not intended to be operated by means of an external timer or separate remote control system.
- If the the power supply cord is damaged, it must be replaced by the manufacturer, its service agent or similarly qualified persons in order to avoid a hazard.
- Before operating this system, check the voltage of this system to see if it is identical to the voltage of your local power supply.
- The unit should not be impeded by covering the ventilation opening with items such as newspaper, table-cloths, curtains etc. Make sure that there are at least 20 cm of space above and at least 5 cm of space on each side of the unit.
- The apparatus must not be exposed to dripping or splashing. Do not place objects filled with liquids such as vases, bottles or humidifiers on the unit.
- To prevent fire or shock hazard, do not expose this equipment to direct heat, rain, moisture
or dust. - Do not locate this unit near any water sources e.g. taps, bathtubs, washing machines or swimming pools. Ensure that you place the unit on a dry, stable surface.
- Do not place this unit close to a strong magnetic field.
- Do not place the unit on a amplifier or receiver.
- Do not place this unit in a damp area as the moisture will affect the life of electric components.
- Do not attempt to clean the unit with chemical solvents as this might damage the finish. Wipe with a clean, dry or slightly damp cloth.
- When removing the power plug from the wall outlet, always pull directly on the plug, never pull on the cord.
- Depending on the electromagnetic waves used by a television broadcast, if a TV is turned on near this unit while it is also on, lines might appear on the LED TV. Neither this unit nor the TV is malfunctioning. If you see such lines, keep this unit well away from the TV set.
- The mains plug is used to disconnect the device, the disconnected device should remain
readily operable.
Important Safety Instructions
- Read these instructions. Keep these instructions. Follow all instructions. Heed all warnings.
- Do not use this apparatus near water.
- Clean only with a dry cloth.
- Do not block any ventilation openings. Install in accordance with the manufacturer’s instructions.
- Do not install near any heat sources such as radiators, heaters, stoves, or other devices (including amplifiers) that produce heat.
- Do not ignore the safety measures of a polarized or grounding-type plug. A polarized plug has two blades with one wider than the other.
- Protect the power cord from being walked on or pinched. Pay special attention to the positioning of cords, plugs, power sockets especially the point where they exit from the unit.
- Only use attachments/accessories specified by the manufacturer.
- Unplug this apparatus during lightning storms or when not in use.
- Refer all servicing to qualified service personnel. Servicing is required when the apparatus has been damage in any way, for example, when the power-supply cord or plug is damaged, liquid has been spilled or objects have fallen into the apparatus, the apparatus has been exposed to rain or moisture, does not operate normally, or has been dropped.
- The AC plug is used to disconnect the device, the disconnected device should remain readily operable. In order to disconnect the apparatus from the AC power completely, the AC plug must be removed from the AC outlet completely.
Preparation for Use
Unpacking and Set Up
- Remove the Soundbar from the carton and remove all packing material from the Soundbar. Save the packing material, if possible, in case the Soundbar ever needs to be serviced or transported. The original carton and packing material is the only safe way to pack your Soundbar to protect it from damage in transit.
- Remove any descriptive labels or stickers on the front or top of the devices’ exterior casing.
Do not remove any labels or stickers from the back or bottom of the the devices’ exterior casing. - Place your Soundbar on a level surface such as a table, desk or shelf, convenient to an AC outlet, out of direct sunlight, and away from sources of excess heat, dirt, dust, moisture, humidity, or vibration.
- Unwind the Line cord connecting the AC adapter and extend it to its full length.
Protect Your Furniture
This model is equipped with non-skid rubber ‘feet’ to prevent the product from moving when you operate the controls. These ‘feet’ are made from non-migrating rubber material specially formulated to avoid leaving any marks or stains on your furniture. However certain types of oil based furniture polishes, wood preservatives, or cleaning sprays may cause the rubber ‘feet’ to soften, and leave marks or a rubber residue on the furniture. To prevent any damage to your furniture we strongly recommend that you purchase small self-adhesive felt pads, available at hardware stores and home improvement centers everywhere, and apply these pads to the bottom of the rubber ‘feet’ before you place the unit.
Power Source
This soundbar is designed to operate on standard AC Power strength. For Europe, it works only under SMPS 110V-240V~50/60Hz. Do not attempt to operate the Soundbar on any other power source. You could cause damage to the Soundbar that is not covered by your warranty
Important Notes
- This soundbar was especially developed for LED/LCD/Plasma TV’s: It should not be used in combination with CRTTV’s (Cathode Ray Tube TV’s) in order to avoid image interference.
- Safety and operating instruction manual should be retained for future reference.
- The apparatus should not be exposed to dripping, splashing or placed in a humid atmospheresuch as a bathroom.
- Do not install the product in the following areas:
- Places exposed to direct sunlight or close to radiators.
- On top of other stereo equipment that radiate too much heat -Blocking ventilation or in a dusty area.
- Areas where there is constant vibration.
- Humid or moist places.
- Do not place near candles or other flames.
- Operate the product only as instructed in this manual.
- Before turning on the power for the first time, make sure the soundbar is plugged into the power outlet.
- For safety reasons, do not remove any covers or attempt to gain access to the inside of the product. Refer any servicing to qualified personnel.
- Do not attempt to remove any screws, or open the casing of the unit; there are no user serviceable parts inside. Refer all servicing to qualified service personnel.
Product Diagram
- DISPLAY
- POWER/STANDBY
- VOL+/-
- INPUT
- USB
- AUX
- OPTICAL
- HDMI (ARC)
- AC IN

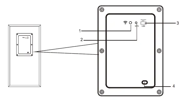
- LED indicator: It indicates pairing between the soundbar and the subwoofer.
- WPS Button: It automatically pairs the soundbar with subwoofer.
- USB Port (CAN’T PLAY MP3 MUSIC, FOR SOFTWARE UPGRADE ONLY)
- AC IN
Pair up with the subwoofer
Plug the soundbar and the subwoofer into the mains sockets at the same time
- Press “STANDBY” to turn the soundbar on after it has been connected the the AC. Then press “INPUT” to select Bluetooth (BT) as the input mode. This will cause the soundbar to enter into pairing mode with
the wireless subwoofer. - Switch the subwoofer on. The blue LED will blink slowly indicating the unit have power but need to be paired with the soundbar. Press and hold the WPS (AUTO PAIR BUTTON), the blue LED will flash quickly indicating they are now in pairing mode.
- After about 20-30 seconds, the blue LED of the subwoofer will stop flashing and remain blue to confirm a successful pairing with the soundbar.
- The units will now be able to pair automatically after this initial successful pair, even if they are switched off and on.
- If you want to pair your wireless subwoofer with another soundbar, please repeat step 1 to step 4 above. Ensure the soundbar you want to pair the subwoofer with is turned on and in range and any other pairing devices are switched off or on standby.

Software upgrading
Soundbar Upgrade
Upgrade the soundbar software: Unzip the soundbar software folder in the root directory of the USB disk.
Insert the USB disk into the USB port while soundbar is switched off, then plug the power cord into main socket. Software upgrade will commence once the soundbar is switched on, UP will be displayed, indicating that
upgrade is in progress. When upgrade is complete, OL will be displayed.
Subwoofer upgrade
Upgrade subwoofer software: unzip the subwoofer software folder in the root directory of the USB disk. Insert the USB disk into the USB port while subwoofer is switched off or on standby, then plug the power cord into main sokcet. Software upgrade will commence once the subwoofer is switched on, a blue LED will indicate power and the red LED indicates upgrade is in progress. The red LED will stop when upgrade is complete. After upgrade is complete, unplug the power cord, wait 30 seconds, re-plug the power to switch the unit on.
Note: The software of the soundbar and subwoofer cannot be decompressed to the same USB disk at the same time, so as not to confuse the upgrade software.
Tips
- The maximum Bluetooth connection distance in an open space between the soundbar and subwoofer should not exceed 10m.
- To avoid sound quality interference caused by wireless signal interference, when you are playing this soundbar, please ensure it is kept at an appropriate distance from other WIFI devices to avoid wireless signal interference.
REMOTE CONTROL
- 1. Power button: Press to switch the sound bar on/ off or standby mode.
- Pair button: Press pair button more than 2 seconds to conect and disconect last device.
- VOL+: to increase the volume.
- Previous button: Skip to the previous track in BT mode.
- VOL-: to decrease the volume.
- Music button: to s•l•ct and activate the music EQ effect and mode .
- Treble-up button: to increase the treble volume.
- Treble-down button: to decrease the treble volume.
- Mute button: To temporarily tum off the sound. Preu the button again to turn the sound back on.
- Source input button: to select an input source for playback:
- Hd: sound from connected HDMI ARC device
- bt: sound from connected Bluetooth drive.
- AU: sound from connected Auxiliary Line-in
- OP: Sound from connected Digital Optical device.
- Next button: Skip to the next track in BT mode.
- Play/Pause button: Start, pause or resume play in BT mode. Reset button: Press and hold the button more than 2 seconds to restore factory default settings.
- Mute button: To temporarily tum off the sound. Preu the button again to turn the sound back on.
- News button: to select and activate the news voice EQ effect and mode .
- Bass+ button: To increase the bass.
- Bass- button: To decrease the bass.
- 3D button: to saled and activate the 3D EQ effect and mode.
REMOTE CONTROL BATTERY REPLACEMENT
Please insert the batteries as indicated below
- Remove the battery cover
- Insert 2*AAA batteries according to the markings inside battery slot
- Close the battery cover
CAUTION
Risk of explosion if the battery is replaced by an incorrect type
Handling the battery
- Improper or incorrect use of batteries may cause corrosion or battery leakage, which could cause fire, personal injury or damage to property.
- Only use the battery type indicated in this manual.
- Do not install new batteries with used ones and do not mix different types of batteries.
- Do not dispose of used batteries as domestic waste. Dispose of them in accordance with local regulations.
Handling the Remote Control
- Do not drop the remote control.
- Do not allow anything to impact the remote control.
- Do not spill water or any liquid on the remote control.
- Do not place the remote control on a wet object.
- Do not place the remote control under direct sunlight or near sources of excessive heat.
- Remove the battery from the remote control when not in use for a long period of time, as corrosion or battery leakage may occur and result in physical injury. And /or property damage, and /or fire.
- When the battery is exhausted, the remote control will not be functional.
Operating range of the remote control
- When the unit is mounted on a wall, point the remote control at the remote control sensor on the bellowed panel. The provided Remote Control allows the unit to be operated from a distance.
- Even if the Remote Control is operated within the effective range 26.2 feet (8m), remote control operation may be impossible if there are any obstacles between the unit and the remote control.
- If the Remote Control is operated near other products which generate infrared rays, or if other remote control device using infra-red rays are used near the unit, it may operate incorrectly. Conversely, the other products may operate incorrectly.

POSITIONING THE SOUND BAR
Table Placement
- Place the sound bar horizontally on a solid surface such as a TV unit or shelves and align it centrally with the TV screen.
- For best sound output and good airflow around the soundbar, place your soundbar and subwoofer as shown on the right.

Wall Mount Installation
- Open 4 holes in the wall referring to iron bracket for wall mounting, the spacing distance of the holes in the wall is corresponding to the symmetrical position on sound bar (When measuring the position of wall mounting, avoid the sound bar pads to put on the iron bracket, because pad is not flat, will not be sticky well on the double-side tape on the bracket.)
- Fix the plastic anchor in the 4 holes of the wall mounting bracket.
- Then fix the supplied screws on the plastic anchor and tighten the screws to ensure that the wall mounting bracket will not shake.
- After fastening the screws, tear off one side of the two double-sided tapes in the supplied packaging, and paste them on the right and left into the extension of the wall brackets according to the suitable position where the Sound Bar on the iron bracket. (Not foot position of the sound bar)
- Then tear off the other side of the double-sided tape attached to the iron bracket, place the Sound Bar on the double-sided tape on the metal fittings, press it firmly and release it until it is completely stuck.
Please note
- Wipe off any dirt such as oil on the adhesive surface of the sound bar before adhering.
- Make sure that the adhesive is securely attached.
- When peeling off the release paper of the double-sided tape, be careful not to get dirt such as finger oil on the adhesive surface.
- Be careful of deterioration of double-sided tape due to storage conditions.
- The foot of the sound bar is not placed on the metal fittings because sound bar pads/foots are not flat and will not sticky.

MOUNT TE UNIT ON A WALL
CAUTION
- When mounting the soundbar on a wall, all installation musted be performed in right way. The customer must never attempt to install it without authorization. Improper or inadequate installation may cause the sound bar to fall so as to result in personal injury.
- To prevent the sound bar from falling, attach it to a wall constructed of drywall (plasterboard)
- Make sure that commercially available screws are used so that can support the weight of the installation. Fix the cables in place where they will not become loose. If your foot or hand accidentally gets caught ona loose cable, the sound bar may fall.
- Do not lean on the sound bar or apply excessive force to the top of the sound bar, which may cause it to fall.
OPERATE INSTRUCTIONS
Setting the Soundbar
- Plug the power cord into the mains, the display should light up.
- Switch the soundbar on by pressing the power button on the soundbar or the STANDBY button on the remote. The default input mode will appear on the display after being switched on.
- Select the input mode by pressing the power button again or by pressing the INPUT button on the remote.
LED DISPLAY
Display screen: BT/OP/HD/AU/E1/E2/3D volume value displa

Volume value: the volume value is 00-35, and the factory set value is “15”. It has last volume memory function. Mode switching: BT/OP/HD/AU/ connection mode can be switched; meanwhile the selected mode will be displayed on the display screen.
Auto Standby
- The unit will automatically switch to standby mode when no audio input is received for 20 minutes. The soundbar will wake up from standby mode when any button is pressed or source input is received.
- If the TV or the external unit is disconnected, switch it off
- To switch the unit off completely, remove the mains plug from the mains socket.
- Please turn the unit off completely to save energy when not in use.
- The screen will be turned off for around 10 seconds without any operation, when pressing the buttons on the sound bar or on remote control or the using iphone’s volume increase or decrease, the display will be waken up again.
Powering On/Off
- Plug the power cord of the soundbar & subwoofer into a wall outlet, it will automatically enter standby mode;
- Press the STANDBY button on the soundbar or POWER button on the remote control to turn the soundbar on. Make your selection of the desired input modes by pressing the INPUT button on the remote or the power button on the soundbar.
- To turn off, press and hold the STANDBY button or POWER button on remote control for about 2 seconds, the soundbar will enter standby mode, and then unplug it from the wall outlet.

Playing Audio via BT Connection
- Turn the soundbar on, press the STANDBY button on the soundbar or the POWER button on the remote control to select the Bluetooth mode. When Bluetooth is selected, ” ” will be displayed on the LED display and the blue LED on the soundbar will flicker followed by a double beep sound to indicate Bluetooth pairing mode is now active.
- Turn the Bluetooth of your device on, search for ” TH-S430B” on your Bluetooth list, and then select Bluetooth connection.
- When successfully paired, you will hear a tone and the ” ”on the screen stops flickering. Then the music on your phone or other compatible device that you selected can be played on the soundbar.
- Use the volume buttons on the soundbar or on the remote controller to adjust the volume.
- The remote controller includes Bluetooth mode playback controls. Press and hold PAIR button on the remotecontroller for more than 2 seconds to disconnect the paired Bluetooth device or to reconnect with the previously connected Bluetooth device.
- If you wish, you can change the audio settings by using the relevant buttons on the remote controller.
Notes:
- In Bluetooth mode, the remote can control music play/pause or select previous or next track. PREV/NEXT/ PLAY & PAUSE button only work in Bluetooth mode; they have no function in other modes.
- The above pairing procedure doesn’t need to be repeated with the same connected device once paired.
- If the connected device is switched off or manually disconnected, the soundbar will automatically enter pairing mode.
- If the connected device is moved away from wireless range (up to 10 meters) of the soundbar, then it will get disconnected, and it will successfully connect to the device once you re-enter Bluetooth range.To connect to other devices, repeat the above pairing steps.
- If a Bluetooth device has been connected before, the soundbar will connect to the last connected device. Unpair this connection to connect a new device.
- There is no automatic shutdown in pairing mode. The soundbar will remain in pairing mode even if no device is paired, so switch it off if not in use.

Using the Soundbar
Audio input(Aux)Connection
- Use a 3.5mm to 3.5mm audio cable (not included) to connect the PC, tablet, smartphone, TV’s headphone socket to the AUX socket on the soundbar.
- Use a RCA to 3.5mm audio cable (included) to connect the Blue Ray DVD Player / TV’s audio output sockets to the AUX socket on the soundbar.
- Then short-press the power button on the sound bar or on the remote controller to switch to audio input mode with LED display lighting up .
- In this mode, playback can only be controlled on your connected device
Note: For some computer, you may need to access the audio control panel to manually set the soundbar as above picture.
Optical Mode
- Remove the cap of optical cable (keep the cap for the future use); check the direction of the plug. Connect the soundbar and TV with the optical cable.
- Use this mode to play music from a TV with optical digital output on the sound bar. In TV sound settings, select the soundbar optical connection (output for audio). When the optical cable is connected, the TV audio output is set to PCM format.
- The TV must have an optical digital output. Use the supplied optical cable to make the connection as follows:
- Connect the optical cable to the optical digital output of your TV.
- Connect the optical cable to the optical digital input of your soundbar.
- Switch on the TV set and the soundbar. Set the connected TV to “PCM Stereo”. Set the audio output mode as <automatic> or <decoded output as PCM state>.
- Start playing on the TV.
- Press “INPUT” button on the remote control or “STANDBY” button on the soundbar to select
- Use the volume buttons to adjust the volume to your requirements.
- You can also change the audio settings by using the relevant buttons on the remote control.
NOTE
- When connecting a device such as a TV/Set-top box/ DVD/ game console with optical cable, set the audio output mode of the device to PCM mode (digital optical output).
- Do not bend the optical cable, otherwise the cable inside will be damaged.
HDMI (ARC) Mode
- The soundbar supports HDMI (ARC) with audio return channel (ARC). You can hear the TV audio through your soundbar by using a single HDMI (ARC) cable. But on condition that your TV is ARC compliant.
- Using a high speed HDMI (ARC) cable, connect the HDMI (ARC) connector on the soundbar to theHDMI (ARC) connector on the TV. The HDMI (ARC) connector on the TV might be labeled differently. For details, see the user manual of your TV.
- When HDMI (ARC) is connected, TV sound setting in “sound output” mode should be set as <external PCM Stereo>, in addition, digital audio output mode should be set as <automatic> or <decoded output as PCM state>. When the HDMI (ARC) cable is connected, the TV digital audio output is set as PCM format. Then start playing music on the TV.
NOTE
- When connecting a device such as a TV/Set-top box/DVD/ game console with HDMI (ARC) cable, set the audio output mode of the device to PCM mode <digital HDMI (ARC) output>.
- The TV is connected to a HDMI (ARC) port with sound bar. Different TVs might have different setup menus, but the operation approach is the same.
- If needs to connect set-up box meanwhile, please firstly connect the HDMI (ARC) connector and paired to the soundbar. Then connect the set-top box.
TROUBLESHOOTING
| PROBLEM/TROUBLE | POSSIBLE CAUSE | SOLUTION |
|
There is no sound output from sound bar. | Another input source is selected. | Select an appropriate input source. |
| The mute function is activated. | Cancel the mute function. | |
| The volume of sound bar or TV/other device is adjusted too low. | Increase the volume level on sound bar or by remote control or on TV. | |
| The power cable of the unit is not connected properly. | Make sure that the power cable of the unit is connected to an AC wall outlet securely. | |
| Input jacks on a playback device are connected. | Connect the input jack on the sound bar and the output jack on the playback device. | |
|
Signals that the sound bar cannot playback when being input. | When sound bar and TV or other devices are connected by an audio cable through TV (ARC) port output, Select the correct audio input and output. Make sure the digital audio output setting on the playback device to PCM format. Since the output format of our sound bar is PCM, if it is used, the decoding format of TV or other devices will be adjusted to PCM state. | |
| The sound is distorted or echoed. | TV volume is not muted. | If you play audio from TV through the sound bar, make sure that the TV is muted. |
| The volume decreases when the unit is turned on. | The automatic volume adjustment function is activated. To prevent excessive loudness, the unit automatically controlls its volume within a certain level when the unit is turned on. |
Turn up the volume as required. |
| Noise is heard. | The sound bar is too close to another digital or high-frequency device. | Move those devices away from the sound bar. |
|
The unit cannot be operated by using the remote control. | The unit is out of the operating range. | Use the remote control within the operating range. |
| The batteries are weak. | Replace with new batteries. | |
| The remote control sensor of the sound bar is exposed to direct sunlight or strong lighting. | Adjust the lighting angle or reposition the sound bar. Make sure our product cannot be used in sunlight. | |
| The TV cannot be operated by using the TV’s remote control. | The unit is blocking the TV’s remote control sensor. | Position the unit so that it does not obstruct the TV’s remote control sensor. |
|
A device cannot connect the sound bar or the unit cannot be connected to a Bluetooth device. |
Bluetooth function of the device is not activated, not paired or connected correctly. | Restart the sound bar and try pairing again. You have not enabled the Bluetooth function of the device; see the user manual of the device on how to enable the function and correctly connected the device. The sound bar is already connected with another Bluetooth device. Disconnect the connected device, and then try again. |
| Bluetooth is not selected as the input source. | Select Bluetooth as the input source. | |
| The unit is connected to a different Bluetooth device. | Un-pair the Bluetooth device that is currently connected and pair with the desired Bluetooth device. | |
| The unit is too far away from the Bluetooth device. | Move the Bluetooth device closer to this unit. | |
| A device emitting electromagnetic waves (such as a microwave oven, a wireless device and so on) may be placed nearby. | Do not use this unit near devices that emit electromagnetic waves. | |
| The Bluetooth device that you are using may not support the protocol. | Use a Bluetooth device that supports the protocol. | |
| The connection profile registered in the Bluetooth device may not be functioning correctly for some reason. | Delete the connection profile in the Bluetooth device and then connect the Bluetooth device to this unit. |
| PROBLEM/TROUBLE | POSSIBLE CAUSE | SOLUTION |
| Sound quality of audio play from a connected Bluetooth device is poor and connection is not stable. |
The Bluetooth reception is poor. | Move the device closer to the sound bar, or remove any obstacle between the device and the sound bar. |
|
No sound can be heard or sound breaks (Bluetooth mode) | The volume on the Bluetooth device may be too low. | Raise the volume on the Bluetooth device. |
| Bluetooth is not selected as the input source. | Select the Bluetooth as the input source. | |
| Playback on the device has not been performed. | Perform playback on the device. | |
| The sound output on the Bluetooth device may not be set to this unit. | Select this unit as the output device on the Bluetooth device. | |
| The connection to the Bluetooth device was cut off. | Connect with the Bluetooth device one more time. | |
| The unit may be too far away from the Bluetooth device. | Move the Bluetooth device near this unit. | |
| A device emitting electromagnetic waves (such as a microwave oven, a wireless device and so on) may be placed nearby. | Do not use this unit near device that emit electromagnetic waves. | |
|
There is no sound from sound bar – HDMI TV (ARC) Mode |
Incorrect HDMI cable is used causing no signal to be sent to soundbar. Incorrect input mode is selected. | 1. Make sure that the user connected TV and sound bar by a 19-core HD ARC cable. 2. The sound bar and TV are connected through TV (ARC) port output; make sure that the TV is ARC compliant. 3. Set the TV to HDMI ARC (CEC). Set the audio output mode of TV to PCM format. (Or refer to your TV user manual) |
| There is no sound from sound bar (OPTICAL Mode) | OPTICAL cable might be damaged and no signal is received by the soundbar due to a failed connection and incorrect operation mode selected. | 1. Replace the OPTICAL cable with a new one to connect. 2. Set your TV audio output to PCM format. (Pls refer to your TV user manual) |
|
Disconnected between subwoofer and sound bar |
Connection is not correct between subwoofer and sound bar | 1. Turn off sound bar and subwoofer by removing the AC plug from the socket. 2. Make sure that sound bar and subwoofer are connected to the electricity power at the same time, and switch on sound bar and subwoofer again. 3. Press and hold the subwoofer’s rear plate WPS button to reset the connection, so that the sound bar and subwoofer can be reconnected again. |
Package Contents
Specifications
| Model | TH-S430B & TH-S430B-S |
| Technology | BT/AUX/HDMI (ARC)/OPT |
| Drivers | 2.75″ * 4+0.75”*2 + 6.5inch |
| Audio Output Power | 450W Peak Power |
| Frequency Response | 45Hz-20KHz |
| Signal-to-Noise Ratio | 66dB |
| lmpedance | 30*4+80*2+30 |
| Power lnput | AC 110-240V 50/60Hz |
| bluetooth Version | Version: 5.0 Range:up to 8m |
| Dimensions | Soundbar:67H*118D*900L mm Subwoofer: 170W*380H*306D mm |
JVC Limited Warranty
This JVC branded “Product”, marketed as new, in the original carton to the original purchaser (“Product”), is warranted by Russell Distribution Company, LLC against manufacturing defects in materials and workmanship for a limited warranty period of One (1) Year for Labor and One (1) year for Parts. This Limited Warranty is conditioned upon proper use of Product by you, the Purchaser. This Limited Warranty does not apply to store display products and product sold as a “marked down” special, in ·as is” condition, “close outs”, “liquidation and clearance sales”, “open box”, products missing accessories, or no fault found. Proof of purchase in the form of a Bill of Sale, Receipt or Receipted Invoice is evidence the Product is within the limited warranty period. The Bill of Sale, Receipt or Receipted Invoice must be presented as a pre-condition to obtaining the limited warranty service. This limited warranty begins on the original date of purchase and is valid only on Products purchased through authorized dealers and used in the United States, Canada, and Puerto Rico, by the original Purchaser. To receive warranty service, the Purchaser must first contact us for problem determination and service procedures. The original dated bill of sale, receipt or receipted invoice must be presented upon request as proof of purchase.
We will repair your product or if repairs cannot be made, we will replace it at no charge with the same or similar product. If the Product is defective as specified in this limited warranty during the limited warranty period, we may use new or remanufactured parts to repair the Product. All replaced parts and products become our property and must be returned to us. Replacement parts and products assume the remaining original limited warranty, or ninety (90) days, whichever is longer. Product freight must be prepaid by you, the original Purchaser and shipped in either its original packaging or packaging affording an equal degree of protection. We will not be responsible for or obligated to replace damaged Products. If the Product is received damaged, it is your responsibility as the consumer to file a claim against the carrier. We will only store the damaged Product for 30 days and reserve the right, in our sole discretion, to dispose of the damaged Product or ship it back to you at your expense after 30 days.
This limited warranty covers manufacturing defects in materials and workmanship encountered in nomial arid except to the extent otherwise expressly provided for in this statement, noncommercial use of this Product and shall not apply to the following, including, but not limited to: Damage which occur in hipment; delivery and in tallation; applications and use for which !hi Product was not intended; altered Product or serial numbers; cosmetic damage or exterior finish; accidents, abuse, neglect, fire, water, lightning or other acts of nature; use of products, equipment, systems, utilities, services, hardware, supplies, accessories, applications, installations, repairs, external wiring or connectors notsupplied or authorized by us or the manufacturer, which damage this Product or result in service problems; incorrect electrical line voltage, fluctuations and surges; customer adjustments and failure to follow operating instructions, cleaning, maintenance and environmental instructions that are covered and prescribed in the instruction book; reception problems and distortion related to noise, echo, interference or other signal transmission and delivery problems; burned-in images. Uninterrupted or error-free operation of the Product is not warranted.
THERE ARE NO EXPRESS OR IMPLIED WARRANTIES OTHER THAN THOSE LISTED AND DESCRIBED ABOVE AND NO WARRANTIES WHETHER EXPRESS OR IMPLIED, INCLUDING, BUT NOT LIMITED TO ANY IMPLIED WARRANTIES OFMERCHANTABILITY OR FITNESS FOR A PARTICULAR PURPOSE, SHALL APPLY AFTER THE EXPRESS WARRANTY PERIODS STATED ABOVE, AND NO OTHER EXPRESS WARRANTY OR GUARANTY GIVEN BY ANY PERSON, FIRM OR CORPORATION WITH RESPECT TO THIS PRODUCT SHALL BE BINDING ON US. REPAIR OR REPLACEMENT AS PROVIDED UNDER THIS LIMITED WARRANTY IS YOUR EXCLUSIVE REMEDY ASTHE CONSUMER. WE SHALL NOT BE LIABLE FOR ANY INCIDENTAL, OR CONSEQUENTIAL DAMAGES FOR BREACH OF ANY EXPRESS OR IMPLIED WARRANTY ON THIS PRODUCT; EXCEPT TO THE EXTENT PROHIBITED BY APPLICABLE LAW, ANY IMPLIED WARRANTY OF MERCHANTIBILITY OR FITNESS FOR A PARTICULAR PURPOSE ON THIS PRODUCT IS LIMITED FOR THE DURATION OF THIS LIMITED WARRANTY. THIS LIMITED WARRANTY SHALL NOT EXTEND TO ANYONE OTHER THAN THE ORIGINAL PURCHASER OF THIS PRODUCT, IS NONTRANSFERABLE AND STATES YOUR EXCLUSIVE REMEDY.
Some states or provinces do not allow limitations on how long an implied warranty lasts, or the exclusion or limitation of incidental or consequential damages, so the above limitations or exclusions may not apply to you. This limited warranty gives you specific legal rights, and you may also have other rights which vary from state to state. Any provision contained herein which is found contrary to state or local laws shall be deemed null and void and the remaining provisions shall continue in full force and effect.
This product is manufactured, distributed, serviced and warranted exclusively by E & S International Enterprises, Inc. “JVC” is the trademark of JVCKENWOOD Corporation, used by such company under license.
To obtain a warranty service, please call 1 (888) 582-8870 or send an email to [email protected]
FCC Warning
This device complies with part 15 of the FCC Rules. Operation is subject to the following two conditions: (1) This device may not cause harmful interference, and (2) this device must accept any interference received, including interference that may cause undesired operation.
Note: This equipment has been tested and found to comply with the limits for a Class B digital device, pursuant to part 15 of the FCC Rules. These limits are designed to provide reasonable protection against harmful interference in a residential installation. This equipment generates, uses and can radiate radio frequency energy and, if not installed and used in accordance with the instructions, may cause harmful interference to radio communications. However, there is no guarantee that interference will not occur in a particular installation. If this equipment does cause harmful interference to radio or television reception, which can be determined by turning the equipment off and on, the user is encouraged to try to correct the interference by one or more of the following measures:
- Reorient or relocate the receiving antenna.
- Increase the separation between the equipment and receiver.
- Connect the equipment into an outlet on a circuit different from that to which the receiver is connected.
- Consult the dealer or an experienced radio/TV technician for help.
Note: The Grantee is not responsible for any changes or modifications not expressly approved by the party responsible for compliance. such modifications could void the user’s authority to operate the equipment.
The device has been evaluated to meet general RF exposure requirement. To maintain compliance with FCC’s RF exposure guidelines, the distance must be at least 20 cm between the radiator and your body, and fully supported by the operating and installation configurations of the transmitter and its antenna(s). IC Warning This device complies with Industry Canada license-exempt RSS standard(s). Operation is subject to the following two conditions: (1) this device may not cause interference, and (2) this device must accept any interference, including interference that may cause undesired operation of the device.
- IC: 26551-W236S430B
- IC: 26551-W236430B
Supplier’s Declaration of Conformity
Model No. TH-S430B
Trade Name: JVC
Responsible Party: Russell Distribution Company
Address: 7801 Hayvenhurst Avenue, Van Nuys, Ca 91406 USA
Telephone No. 888-582-8870
Contact Information: https://jvcproducts.com
Claims and Dispute Resolution
RUSSELL DISTRIBUTION COMPANY, LLC AND YOU AGREE THAT ALL CLAIMS OR DISPUTES ARISING IN ANY WAY FROM THIS LIMITED WARRANTY OR THE SALE, CONDITION OR PERFORMANCE OF THE PRODUCT, WHETH- ER BASED IN CONTRACT, TORT, STATUTORY FRAUD, MISREPRESENTATION OR ANY OTHER LEGAL THEORY, AND ALL CLAIMS THAT
ARE SUBJECT OFA PURPORTED CLASS ACTION LITIGATION THAT YOU ARE NOT A MEMBER OF THE CERTIFIED CLASS, SHALL BE RESOLVED THROUGH ARBITRATION AS PROVIDED FOR HEREIN, OR IN SMALL CLAIMS COURT, AND NOT BY A TRIAL BY JURY. YOU WAIVE THE RIGHT TO A TRIAL BY JURY, AND WAIVE THE RIGHT TO PARTICIPATE IN CLASS ACTIONS ARISING FROM OR RELATING TO ANY AND ALL CLAIMS AND DISPUTES WITH Russell Distribution. YOU AGREE THAT YOU MAY ARBITRATE CLAIMS AGAINST Russell Distribution ONLY IN YOUR INDIVIDUAL CAPACITY AND NOT AS A PLAINTIFF, A CLASS REPRE- SENTATIVE, OR CLASS MEMBER IN ANY CLASS OR REPRESENTATIVE PROCEEDING.
THIS AGREEMENT EVIDENCES A TRANSACTION IN INTERSTATE COMMERCE, ANDTHUS THE FEDERAL ARBITRATION ACT GOVERNS THE INTERPRETATION AND ENFORCEMENT OF THIS PROVISION. THIS PARAGRAPH SHALL SURVIVE THE TERMINATION OF THIS LIMITED WARRANTY. RUSSELL DISTRIBUTION REQUIRES THAT YOU ARBITRATE YOUR CLAIMS AGAINST RUSSELL DISTRIBUTION PURSUANT TO THE ARBITRATION DESCRIBED BELOW PRIOR TO YOUR EXERCISE OF YOUR RIGHTS PURSUANT TO TITLE I OF THE MAGNUSON-MOSS WARRANTY ACT. TITLE I OF THE MAGNUSONMOSS WARRANTY ACT DOES NOT REQUIRE YOU TO PURSUE RIGHTS AND REMEDIES AVAILABLE TO YOU THAT ARE NOT PROVIDED BY TITLE I OF THE MAGNUSON- MOSS WARRANTY ACT.
Any such arbitration shall not be combined or consolidated with a claim or dispute involving any other person’s or entity’s product or claim or dispute, and specifically, without limitation of the foregoing, shall not under any circumstances proceed as part of a class action or class arbitration. If you intend to seek arbitration you must first email Russell Distribution at [email protected] a notice of dispute, at least thirty (30) days in advance of initiating the arbitration. The notice must include: (i) a description of your claim and the basis of the dispute; and (ii) a description of the relief you are seeking. If Russell Distribution and you do not reach an agreement to resolve the claim within thirty (30) days after Russell Distribution receives your notice, you or Russell Distribution may commence an arbitrate proceeding.The arbitration will take place in Los Angeles, California or a mutually agreed upon location. Arbitration shall be administered by JAMS, or alternatively a mutually agreed upon arbitrator or arbitration service, under the applicable commercial arbitration rules for JAMS or the mutually agreed upon arbitration service, excluding any rules or procedures governing or permitting class actions.
The arbitrator, and not any federal, state or local court or agency, shall have exclusive authority to resolve all disputes arising out of or relating to the interpretation, applicability, enforceability or formation of this Limited Warranty, including, but not limited to any claim that all or any part of this Limited Warranty is void or voidable, or whether a claim is subject to arbitration. The arbitrator shall be empowered to grant whatever relief would be available in a court under law or in equity. The arbitrator’s award shall be written. and binding on the parties and may be entered as a judgment in any court of competent jurisdiction. To the extent the filing fee for the arbitration exceeds the cost of filing a lawsuit; Russell Distribution will pay the additional cost. The arbitration rules also permit you to recover attorney’s fees in certain cases. The parties understand that, absent this mandatory provision, they would have the right to sue in court and have a jury trial. They further understand that, in some instances. the costs of arbitration could exceed the costs of litigation and the right to discovery may be more limited in arbitration than in court.
This arbitration provision also applies to claims and disputes by you, the purchaser of the Product. and all those in privity with you, including your family members, beneficiaries and assigns against Russell Distribution subsidiaries and affiliates and any person or entity that licensed, supplied, sold or distributed the Product and each of their officers, employee, representatives, licensors/licensees, Agents, beneficiaries, predecessors in interest, successors, and/or assigns. You may opt out of this dispute resolution procedure by providing notice to Russell Distribution no later than thirty (30) calen-dar days after the date of the first consumer purchaser’s purchase of the Product. To opt out you must send notice by e-mail to [email protected]. The opt-out notice must include (a) your name, email address. mailing address and phone number; (b) the date on which the product was purchased; (c) the product model name or model number; and (d) the Serial Number. Opting out of this dispute resolution procedure will not affect the coverage of the Limited Warranty in any way, and you will continue to enjoy the benefits of the Limited Warranty. If you opt-out of these arbitration provisions, Russell Distribution also will not be bound by them.






























