ACCORD 3039 LED Floor Lamp Instruction Manual
WARNING!
Be sure electrical power is OFF before and during installation or maintenance.
The luminaire must be installed by a qualified electrician, in accordance with all applicable local codes.
Ensure that the rated luminaire voltage requirements are compatible with the available mains supply in which it will be installed.
All LEDS are included in your lamp. Never touch the LED surface with your bear hands as this may reduce the life of your LED.
Do not alter, relocate or remove any electrical component.
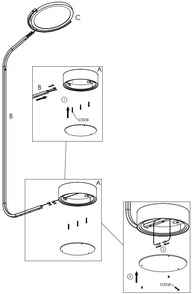
ASSEMBLING THE FIXTURE
Read carefully all the Assembly Instructions below, before starting the installation process.
Remove the protecting package from the pieces taking care to not harm any parts with cutting surfaces or objects. Lay the parts of the fixture on some horizontal surface in order to connect them.
Notice that the fixture is disassembled in three separate parts which are wrapped with the protecting package. The fixture base (A), stem (B) and disk (C), must be assembled together by the user, throught the following steps:
- Insert the metallic stem(B) in the base(A), joining both together with the supplied screws.
- Fit the two connectors that come out of the stem with it’s relative terminals, which can be identidfied by it’s size. On that way, the functioning of electrical circuits and touch switch, will be enabled.
- Once the electrical connections are made, close the lower part of the base inserting the bottom cover and locking it with the provided screws.

- With the fixture’s stem and base already assembled, fit the connector located at the other tip of the stem with it’s relative terminal, which comes out of the disk metallic support.
- Once the connectors are plugged,carefully insert the connectors and excess cable inside the inferior metallic steem, then insert the metallic support which holds the disk, in the same steem.
- fasteen the supplied locking screw on the metallic steem in order to lock the metallic support to it, so that the parts don’t detach from each other.
Plug it into a proper electrical outlet. Your luminaire is now ready for use. - Press and release the touch switch to turn the fixture ON and OFF.
The touch switch also works as a dimmer, so press and hold the touch switch to increase and decrease the luminous flux as desired.
ATENTION!
FAILURE TO COMPLY WITH THESE INSTRUCTIONS MAY CAUSE ACCIDENTS AND LOSS OF PRODUCT WARRANTY.
Its recommended to read these instructions completely and carefully before proceeding.
SAVE THESE INSTRUCTIONS FOR FUTURE REFERENCE.
ACCORD Lighting guarantees coverage against manufacturing defects including electrical components and finishes, for a period of three years, under normal use, from the date of purchase. For warranty service, please contact your local dealer for further instructions. Proof of date of purchase will be required for validation of warranty service.
The responsability of the manufacturer regarding the product warranty is related to the correct observation of the instructions contained in this manual. The manufacturer is not responsible for any damage to the product caused by accidents, alterations of any kind, improper usage or improper installation. See the website for additional warranty details.
ACCORD Lighting reserves the right to change the dimensions and specifications contained in this manual without prior notice, in accordance with its policy of continuous product improvement. Please, contact the manufacturer if additional information is necessary. The illustrations in this manual are for guidance only and may vary in scale, dimensions and model details.





















