
Item no. 000904
900 W
4 in 1

OPERATING INSTRUCTIONS
Important! Read the user instructions carefully before use. Save them for future reference. (Translation of the original instructions)
![]() | ![]() |
![]() | ![]() |
![]() | ![]() |
![]() | ![]() |
![]() | ![]() |
![]() | ![]() |
![]() | |
![]() | ![]() |
![]() | ![]() |
![]() | ![]() |
![]() | ![]() |
![]() | ![]() |
![]() | ![]() |
![]() | |
![]() | ![]() |
![]() | ![]() |
![]() | ![]() |
![]() | ![]() |
![]() | ![]() |
![]() | ![]() |
![]() | ![]() |
![]() | |
SAFETY INSTRUCTIONS
- The machine is not intended to be used by persons (children or adults) with any form of functional disorders, or by persons who do not have sufficient experience or knowledge on how to use it, unless they have received instructions concerning the use of the machine from someone who is responsible for their safety.
- Children must be supervised to ensure
they do not play with the machine.
Training
- Read these instructions carefully. Familiarise yourself with the controls on the machine and how to use them.
- Never use the machine for anything other
than the purpose it was designed for. - Never allow children, or anyone who is unfamiliar with the machine and these instructions, to use it. There may be local regulations for the minimum age of persons allowed to use the machine. Keep children under supervision to make sure they do not play with the machine.
- The user is responsible for any accidents
or risks to other persons or property. - Never start the engine indoors or in an enclosed area — risk of carbon monoxide
Preparations
- Check that there are no people, animals or other obstacles in the work area. Keep people and animals at least 15 meters away from the work area.
- The distance to overhead obstacles, e.g. electric cables, must not be less than 10 cm.
- Remove any objects that can fasten in, or be thrown out, by the machine.
Always wear heavy-duty shoes and long trousers when using the machine.
- Do not use the machine if you are barefoot or wearing open shoes.
- Carefully inspect the area where the machine is to be used and remove any stones, wires, bones, or other foreign objects.
- Always check the machine before use to make sure that the blades, blade screws, and cutter unit are not worn or damaged. If the blades or screws are worn or damaged, always replace the complete set to avoid imbalance.
- Always check the machine before using it for loose parts, fuel leakage and damage Damaged parts must be replaced before the machine is used.
Use
- Only use the machine in daylight, or in good artificial lighting.
- If possible, avoid using the machine when the grass is wet.
- Make sure you always have a good footing on sloping ground.
- Always maintain a firm footing and good This is especially important on sloping surfaces.
- Do not overreach —this can cause you to lose your balance or touch hot parts of the machine.
- Never run with the machine.
- Be very careful when changing direction on slopes.
- Do not work on very steep slopes.
- Be very careful when going backward or pulling the machine towards you.
- Never use the machine if the guards or covers are dismantled or damaged.
- Start the engine according to the instructions. Keep your feet away from the blades.
- If the machine must be tilted, do not tilt it more than is absolutely necessary. Lift up the end furthest away from the user. Always keep both hands in operating mode before lowering the machine to the
- Keep your hands and feet away from moving parts.
- Never lift or carry the machine when the engine is running.
- The machine works with rotating cutting Which means there is a risk of material and objects (stones etc.) being thrown up — the risk of personal injury.
- Despite the safety devices and the use of personal safety equipment, there is a risk of injury as a result of contact with the unprotected parts of the blade or trimmer line.
- Switch off the engine and disconnect the spark plug lead from the spark plug in the following situations:
- Before leaving the machine.
- Before removing a blockage.
- Before checking, cleaning, or doing any other work on the machine.
- If you run into an object. Check the machine and repair any damage before using it again.
- If the machine starts vibrating abnormally (check immediately).
Maintenance and storage
- Make sure that all the screw unions are properly tightened.
- Replace damaged or worn parts.
- Only use the correct type of cutting unit
- Never store the machine with fuel in the
tank in areas with sources of heat. - Allow the engine to cool before putting
- Keep the engine, muffler, and area where fuel is stored free from grease, grass, moss, leaves, etc. — fire risk.
- If the tank needs emptying, do this outside.
- Switch off the engine and remove the spark plug lead before adjustments or repairs, except when adjusting the carburetor.
Special safety instructions
- Hold the handles firmly with both hands. Put the throttle control in idle mode during pauses in the work.
- Always maintain a firm footing and good
- Use a suitable engine speed for the actual Avoid unnecessarily high speed.
- Switch off the engine and wait until all moving parts have completely stopped before checking or filling up with fuel, and before clearing the trimmer head.
- Switch off the engine immediately if the blade hits a hard object. Check the blade and replace it if damaged.
- If you are disturbed, complete the job and switch off the machine before taking your attention away from the machine.
- Never touch the spark plug or spark plug lead when the engine is running — the risk of electric shock.
- The muffler and other parts of the engine get hot when the engine is running — the risk of burn injuries.
- When moving between work areas switch off the engine and carry the machine with the trimmer head pointing away from your body.
- Pay attention when moving the machine to reduce the risk of dropping it, turning it up upside down, leaking fuel, or causing personal injury or damage.
- Before transporting the machine in a car or other vehicle allow the engine to cool, empty the fuel tank, secure the machine so that it cannot slip or drop, etc.
- When transporting fit the guard on the cutter unit to avoid personal injury.
- Before starting to work, check that the trimmer head does not rotate when the engine is idling.
- Prolonged exposure to vibration can cause numbness in hands and arms, or more severe neurovascular complaint, so-called white fingers (Raynaud’s syndrome). The risk of developing such problems also depends on hereditary disposition, exposure to cold and dampness, diet, smoking, and work experience. The relationship between exposure to vibration and symptoms is still not fully understood. Some of the measures users can take to reduce the risk of problems and injuries associated with exposure to vibration are described below:
– Move about to maintain your blood
– Take regular pauses in the work and limit the total time spent working per day.
- Dress properly for the weather and wear gloves that keep your hands and wrists Coldness is a known risk factor for white fingers (Raynaud’s syndrome).
- Always wear safety shoes, leg guards, safety glasses, a face mask, and ear protection when using the machine. Do not rely on the guard to provide adequate protection from objects thrown up directly from the blade, or bouncing back from walls, etc.
- Keep unauthorized persons, especially children, and pets away from the workplace. When working with the machine you are in the center of a risk zone with a radius of 15 meters. No persons must enter this risk zone. Persons immediately outside the risk zone should wear safety glasses and suitable protection from flying If you need to use the machine in areas where there are persons without safety equipment, work with the reduced throttle to reduce the risk of thrown up objects causing personal injury.
- Check that the cutting tool does not rotate when the engine is idling. If the tool rotates when idling, stop working and contact your
- Wear heavy-duty, tight-fitting long trousers, safety shoes, and safety gloves. Do not wear loose-fitting clothes or shorts, and do not work barefoot. Do not wear jewelry.
- Always keep the machine on your right side.
- Never use the machine when you are tired, ill, or under the influence of drugs, alcohol, or medication.
- Keep your hands and the rest of your body away from the moving parts of the machine.
- To reduce the risk of touching hot parts, never work with the top edge of the engine above hip height.
- Do not touch the exhaust system or cylinder while working with the machine — risk of burn injuries.
- The trimmer head/clearing blade rotates when adjusting the carburetor and when starting the engine.
- Keep the machine in good condition —tighten loose parts and fasteners, and replace worn parts.
- Handle and store the fuel only in containers intended for petrol.
- Handle and fill up with fuel outdoors and at a safe distance from sparks and naked Wipe up any spilled fuel. Move at least 10 m from the place where you fill up with fuel before starting the engine.
- Switch off the engine and allow it to cool before filling up with new fuel, or putting the machine away.
- If any foreign object fastens in the trimmer head or clearing blade, switch off the engine immediately and wait until all parts have completely stopped. Remove the spark plug lead from the plug and then remove the object/blockage. Check the machine, the guards, and the trimmer head/clearing blade for damage before resuming the work. If the machine is visibly damaged take it to your dealer to be repaired with original parts, or parts recommended by the manufacturer, before using it again. If there is no visible damage, carefully test the machine. If the machine vibrates excessively or makes abnormal noise, switch off immediately and take it to your dealer to be repaired with original parts, or parts recommended by the manufacturer, before using it
WARNING!
- Vibration levels during usage can deviate from the declared values, depending on how the machine is used. The following factors affect the vibration level:
— Incorrect use.
— Working with unsuitable materials. Inadequate maintenance.
— Unsuitable accessories.
— The attachment of the handle.
- It is incumbent on the user to assess any Make an assessment of the strain involved on the basis of the type of work and the use of the machine, and plan suitable pauses. This can significantly reduce the strain during the time you are working. Minimize the risks you are exposed to from vibrations. Maintain the machine in accordance with these instructions.
- If the machine is used often and/or for long sessions, you should fit it with a vibration-damping handle.
- Do not use the machine in ambient temperatures less than 10° Establish a work plan that contributes to limiting exposure to vibrations.
Using the trimmer head
- Replace the trimmer head if it is cracked, or otherwise damaged. Carefully check that you have fitted the new trimmer head An incorrectly fitted or inadequately tightened trimmer head can result in serious personal injury.
- Check that all the guards and handles are correctly and firmly fitted.
- Only use trimmer lines and accessories
recommended by the manufacturer. - The use of accessories not recommended by the manufacturer can result in serious personal injury.
- Do not use the machine unless the guard is fitted and in good condition.
- Keep a firm grip on the machine with both hands when in use. Keep the trimmer head below hip height. Do not work with the trimmer head more than 75 cm above the
Using the clearing blade
WARNING!
Watch out for the risk of kickback when using the machine as a brush cutter.
- Do not use the brush cutter unless the guard is fitted correctly and is in good
- Wear heavy-duty gloves when using the machine as a brush cutter and when fitting or removing the clearing blade.
- When fitting or removing the clearing blade, and when removing foreign objects that have fastened or are blocking the clearing blade, always switch off the engine and remove the spark plug lead from the
- Never attempt to touch the clearing blade when it is rotating.
- The clearing blade continues to rotate after the engine is switched off and when the throttle is Remain standing in a normal working position with a firm grip on the handles until the clearing blade has completely stopped.
- Always check after use that the clearing blade is undamaged and is correctly and firmly fitted. Replace the clearing blade if it is damaged. A damaged or incorrectly fitted clearing blade can result in serious personal
- Only use clearing blades recommended by the manufacturer and intended for brush Non-recommended clearing blades can result in serious personal injury.
- When used as a brush cutter with a clearing blade the machine is intended to be used for thick weeds, high and wet grass, and brushwood with a diameter of up to 13 Never use the machine for purposes other than those specified.
- Always be very careful when using the machine with the clearing blade If the rotating clearing blade hits an object it cannot cut through or throw up this obstructs the rotation of the blade causing the blade and the whole brush cutter to kick back from the object. Kick-back can be very sudden and without warning when the blade encounters an obstacle or jams, and it can be so powerful that you could lose control of the brush cutter. There is a greater risk of kickback when working in situations where it is difficult to see exactly what the material contains. It is easier and safer to work from left to right. Kick-back resulting from the blade hitting an obstacle will not be as severe.
- Always use the harness strap and adjust it so that it fits firmly and comfortably. Hold the machine with both hands in a firm grip when using it. Keep your hands and the rest of your body away from the clearing blade and always keep the blade 75 centimeters above the ground.
- If the machine has a centrifugal clutch, check at regular intervals that the blade stops rotating when the engine is idling.
- Pay attention to the risk of fire and ensure there is good ventilation — keep the engine at least 1 meter from other equipment, buildings and installations when working. Do not place any flammable objects near the engine.
- Keep unauthorized persons, especially children, and pets away from the workplace.
- Make sure that in risk or emergency situations you can quickly stop the engine and that you understand and know how to use the controls on the machine.
Fuel
- Petrol is highly flammable and in some situations explosive.
- Handle and fill up with fuel outdoors or in a well-ventilated area, with the engine switched off and at a safe distance from sparks and naked flames. Never store fuel where there can be naked flames, e.g. smoking or sparks.
- Do not overfill the fuel tank. Check after filling that the filler cap is properly fitted.
- Avoid spilling fuel. Spilled fuel and fumes from spilled fuel can easily ignite. Wipe up any spilled fuel before starting the engine.
Other safety instructions
- The exhaust fumes from the engine are very hot and the exhaust system remains hot after the engine is switched off. Always allow the engine and the exhaust system to cool before putting the machine away indoors, to reduce the risk of fire and burns.
- Take regular breaks when working. Always maintain a firm footing and good balance.
- Wear approved safety shoes with non-slip soles and comfortable fit, tight-fitting clothes, safety glasses, ear protection, safety helmet, and vibration-damping gloves.
- When working with a trimmer or brush cutter there is always a risk that small stones, pieces of metal, small objects, and the cleared material can be thrown up.
- Familiarise yourself with the controls on the machine and how to use them. Check that you can quickly switch off the engine. Check that you can quickly open and release the harness strap.
- Check the ignition switch before use — allow the engine to idle, put the switch in the stop position and check that the engine switches off. Do not use the machine if the engine does not switch off. Check at regular intervals whether the blade or trimmer head stops when the engine is idling.
WARNING!
- When working with a trimmer or clearing saw there is always a risk that small stones, pieces of metal, small objects, and the cleared material can be thrown up.
- Familiarise yourself with the controls on the machine and how to use them. Check that you can quickly switch off the engine. Check that you can quickly open and release the harness strap.
- Never allow children or anyone who is unfamiliar with the machine and these instructions, to use it. Keep children under supervision to make sure they do not play with the machine. Always wear safety shoes, leg guards, safety glasses, face masks, and ear protection when using the machine.
- Do not rely on the guard to provide adequate protection from objects thrown up directly from the blade,
- or bouncing back from walls, etc. Keep unauthorized persons, especially children, and pets away from the workplace. When working with the machine you are in the center of a risk zone with a radius of 15 meters. No persons must enter this risk zone. Persons immediately outside the risk zone should wear safety glasses and suitable protection from flying objects. If you need to use the machine in areas where there are persons without safety equipment, work with the reduced throttle to reduce the risk of thrown up objects causing personal injury.
- Check the ignition switch before use – allow the engine to idle, put the switch in the stop position and check that the engine switches off. Do not use the machine if the engine does not switch off. Check at regular intervals that the blade or trimmer head stops when the engine is idling.
- When working on slippery surfaces wear safety shoes with non-slip soles in addition to safety glasses, face guard, ear protection, and a safety helmet. Do not
wear jewelry, loose-fitting clothes, ties or scarves, or other loose garments that can fasten and be pulled into the machine. Do not wear open shoes or sandals, and do not work barefoot or with bare legs. In some situations, it is necessary to wear a full-face mask. Watch out for the risk of kickback.
SYMBOLS
![]() | WARNING: |
| Read the operating instructions before use. | |
![]() | Wear a helmet, safety glasses, and ear protection. |
![]() | Wear safety gloves. |
![]() | Wear safety boots. |
![]() | Risk of ejected objects. |
![]() | Keep a safe distance of at least 15 meters. |
![]() | Hot surfaces. Risk of personal injury. |
![]() | Risk of ejected objects. |
![]() | Keep a distance of at least 10 meters from overhead power lines. |
![]() | Mind your feet. Risk of personal injury. |
![]() | Blade length 400 mm. |
![]() | Bar length 254 mm. |
![]() | Max speed trimmer spool 5900/min. |
![]() | Max speed clearing blade 7200/min. |
![]() | Fuel mix petrol/two-stroke oil 40:1. |
![]() | Petrol is highly flammable. |
![]() | Press the primer bulb 10 times before starting. |
![]() | Sound power level. |
![]() | Approved as per applicable directives. |
![]() | Recycle discarded products. |
TECHNICAL DATA
| Engine type | Air-cooled, two-stroke |
| Displacement | 32.6 cm³ |
| Output | 0.9 kW |
| Speed | 9800/min |
| Spark plug | L8RTC |
| Fuel tank capacity | 900 cm³ |
| Axle diameter | Ø 26 mm |
| Weight | 11.8 kg |
Sound pressure level, LpA 93.9 dB(A), K = 3 dB
Measured sound power level, LwA 108.8 dB(A), K = 3 dB
Guaranteed sound power level, LwA 114 dB(A), K=3 dB
Max vibration level
Front handle: 5.64 m/s², K=1.5 m/s²
Rear handle: 6.28 m/s², K=1.5 m/s²
Chain saw
| Chain speed | 21 m/s |
| Bar length | 254 mm |
| Pitch | 3/8″ |
Brushcutter
| Max speed | 7200/min. |
| Clearing blade | Ø 255 x 1.4 mm |
Trimmer
| Max speed | 5900/min. |
| Working width | 430 mm |
| Trimmer line | Ø 2.4 mm |
Hedge trimmer
| Bar length, hedge trimmer | 400 mm |
| Max cutting diameter | Ø 24 mm |
Always wear ear protection.
The declared vibration value, which has been measured by a standardized test method, can be used to compare different tools with each other and for a preliminary assessment of exposure.
WARNING
The actual vibration level when using power tools may differ from the specified maximum value, depending on how the tool is used. It is, therefore, necessary to determine which safety precautions are required to protect the user, based on an estimate of exposure in actual operating conditions (taking into account all stages of the work cycle, e.g. the time when the tool is switched off and when it is idling, in addition to the start-up time).
DESCRIPTION
- Starter cord
- Throttle control
- Fastener for harness
- Hedge trimmer
- Harness
- Shaft coupling 7 Trimmer spool
- Clearing blade
- Shaft
- Chain saw
- Front handle
- Power switch
- Start inhibitor
- Guard
- Container for saw chain oil
FIG. 1
Chain saw
- Sprocket cover
- Saw bar
- Saw chain
- Oil filler
- Shaft
FIG. 2
Hedge trimmer
- Shaft
- Adjustable handle
- Blades
- Adjustment lever
FIG 3
ASSEMBLY
BRUSH CUTTER/TRIMMER
Fitting the front handle
- Release the hex screws.
- Place the bottom of the handle on the shaft.
FIG. 4
- Fit the top part of the handle on the bottom part.
- Firmly tighten the
FIG. 5
Fitting the guard
Fit the guard on the shaft. Make sure to tighten the screws properly.
FIG. 6
WARNING!
Only use parts and accessories recommended by the manufacturer. The use of other parts can result in personal injury and/or material damage. It will also void the warranty. Never use the machine without the guard fitted.
Fitting the trimmer spool
- Align the two holes in the flange and the guard to each other.
- Lock the flange with a screwdriver or equivalent and undo the nut clockwise with a ring spanner.
FIG. 7
- After removing the nut, release the inner
- Lock the flange with a screwdriver, or
- Place the trimmer spool on the axle. Twist the trimmer spool anticlockwise to lock it in place.
FIG. 8
- Remove the trimmer spool by locking the flange with a screwdriver or equivalent and twisting the trimmer spool clockwise to release it.
Fitting the clearing blade
- Undo the nut and remove the outer flange. Fit the blade, the outer flange, the cap, and the nut. Make sure to fit the blade with the direction of rotation specified on the
- Lock the flange with a screwdriver and firmly tighten the nut anticlockwise.
- Remove the clearing blade by locking the flange with a screwdriver or equivalent, locking the nut with a ring spanner, and then taking off the blade.
FIG. 9
WARNING!
Always check before use that the trimmer spool or clearing blade is correctly fitted.
CHAIN SAW
Fitting the chain saw shaft
- Insert the bottom part of the shaft (2) in the shaft coupling and pull out the pin (1).
- Push in the bottom part of the shaft as far as it will go and release the pin. The pin should engage in the hole (3) in the bottom part of the shaft.
- If necessary twist the bottom part of the shaft back and forwards to make it easier to engage the pin.
- Tighten the locking knob (4).
FIG. 10
Fitting the bar and chain
WARNING!
The chain is very sharp — the risk of cut injury. Wear safety gloves.
- Undo the nut holding the cover over the sprocket and remove the cover.
- Turn the tensioning screw (1) anticlockwise until the tensioning nut (2) is to the far left.
FIG. 11
- Place the chain on the bar starting from the tip.
- Place the bar over the tap (3). Insert the tap on the chain tensioner in the guide hole (4) and place the chain around the sprocket (5).
FIG. 12
- Turn the tensioning screw (1) clockwise until the chain has very little sag underneath the Check that the drive links fit in the slot in the bar
- Replace the cover over the sprocket and tighten the screw.
HEDGE TRIMMER
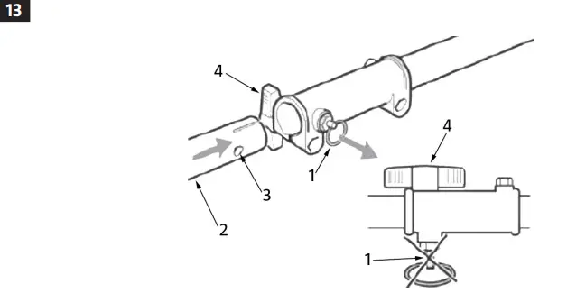
Fitting the hedge trimmer shaft
- Insert the bottom part of the shaft (2) in the shaft coupling and pull out the pin (1).
- Push in the bottom part of the shaft as far as it will go and release the pin. The pin should engage in the hole (3) in the bottom part of the shaft.
- If necessary twist the bottom part of the shaft back and forwards to make it easier to engage the pin.
- Tighten the locking knob (4).
FIG. 13
HARNESS
- Fit the belt. According to the picture shows, fit the belt well.
- Stretch the belt and as below pic, and then fit the belt on should
FIG. 14FIG. 15
- You can alter the height of the belt through the adjuster as the below picture shows, and then fit the belt to the machine through the hook.
FIG. 16FIG. 17FIG. 18
- If meet any problem, pull the pin of safety belt, then release the brush cutter
FIG. 19
USE
FUEL
WARNING!
- Follow all the safety instructions for handling fuel.
- Risk of personal injury.
- Petrol is highly flammable and can in some circumstances be explosive.
- Switch off the engine and allow it to cool before refilling with fuel.
NOTE:
- The recommended mixing ratio is 40:1 —40 parts of petrol to 1 part of the oil.
- Mix petrol with 2-stroke oil of good quality, intended for air-cooled 2-stroke
- Always fill up with fuel before use.
Refilling fuel
- Shake the container with the fuel mix so that the petrol and oil mix well..
- Place the brush cutter on a level, stable surface with the fuel tank filler hole facing
- Clean the tank cap and the area around the opening to avoid impurities getting into the
- Open the tank cap carefully to release any
- Carefully fill up with fuel. Use a funnel and do not overfill. Avoid spilling.
- Screw on the filler
- Wipe off any spilled fuel and allow the residue to evaporate before starting the
NOTE:
- Never use oil intended for 4-stroke engines or for water-cooled 2-stroke This oil can contaminate the spark plug and exhaust port, or cause the engine to stop working.
- Fuel mixed with oil that has stood for more than one month can contaminate the carburetor and prevent the engine from working properly. Store surplus fuel in a dark and cool place in an airtight container.
- Switch off the engine before filling up with fuel. Never fill up with fuel when the engine is running or hot. Fire risk.
STARTING THE MACHINE
WARNING!
- Do not start the machine before it is fully
- Before starting, move the machine at least 10 meters from the area where it was fuelled.
- Never start or run the machine indoors or in an enclosed area.
- Never start the engine when the machine is hanging in the harness. The machine should be placed on the ground when starting it.
- Put the power switch on the throttle handle in the position.
- Move the choke lever to
.
FIG. 20
- Press at least 10 times on the primer bulb before starting the machine the first time.
FIG. 21
- To start the engine, pull the starter cord slowly until it catches (after 10-15 cm) and then pulls it all the way a few
- Move the choke lever to
. - Pull the starter cord until the engine starts.
- Press in the start inhibitor and throttle Use the throttle control to control the engine speed.
FIG. 22
- When using the trimmer head the feed mechanism must be tapped against the ground first to feed out the
FIG. 23
- Stop the rotation of the trimmer head by releasing the throttle control and the start inhibitor
- Switch off the engine by putting the power switch in position O.
- If the engine is warm the choke lever can be put in position when
WARNING!
Do not use the brush cutter to clear with the trimmer head at an angle. Stones and other objects can be thrown up to 1S meters and cause personal injury and/or material damage.
CHAIN SAW
Chain tension
Adjusting the chain tension
- Switch off the engine and slacken the nut holding the sprocket
- Pull the bar tip-up.
- Turn the tensioning screw (1) clockwise with a screwdriver until the chain rests against the underside of the bar.
FIG. 24
- Tighten the nut holding the sprocket cover
- New chains need to be tensioned more often than chains that have been used for a Check the chain tension according to the instructions.
NOTE:
A new chain should be run unloaded at working speed for 2-3 minutes. Check the chain tension afterward and adjust if necessary.
Checking the chain tension
- Wear safety gloves.
- Switch off the engine.
- The chain is correctly tensioned when it rests against the underside of the bar, but can still be pulled along the bar by hand.
- Tension the chain, if necessary.
- The chain becomes longer at working temperature and therefore slacker. The drive link tabs must not leave the slot in the bar, otherwise, the chain can hop off the bar.
- Tension the chain according to the
NOTE:
Always slacken the chain again after finishing the work. The chain contracts when it cools and if it is not slackened this can damage the gearbox and bearings.
Saw chain oil
- Use environmentally approved saw chain oil of good quality.
- The lifespan of the saw chain and bar is affected by the quality of the saw chain oil. Only use oil specially intended for lubricating saw chains. Used oil and engine oil or equivalent do not provide sufficient lubrication and can result in material
Filling with saw chain oil
- Carefully clean the area around the filler cap to avoid impurities getting into the container
- Place the machine with the filler cap up.
- Fill with saw chain oil. A full oil container is sufficient for about a half tank of fuel.
- Screw on the filler cap.
NOTE:
- If the oil level in the container does not drop there can be a fault in the lubrication Check the chain lubrication and clean the oil channels. Contact a service center if this does not solve the problem.
- Check the oil level regularly while Never using the machine without saw chain oil in the container.
Checking the chain lubrication
- The chain lubrication produces a small amount of oil from the chain during use.
- Always check the chain lubrication and the oil level in the container before use.
- Never use the machine without a chain If the chain is not lubricated properly the chain and the chain saw will be damaged very quickly.
Using the chain saw
- Wear suitable clothing, shoes, and protective equipment.
- Carry the machine in the harness.
- Do not stand under the branch being cut, it can fall unexpectedly and cause personnel to watch out for falling branches, they can bounce when they hit the ground.
- Cut low branches first so that the ones above can fall freely to the ground.
- Cut thick branches into several parts.
Working posture
- Hold the handle with the right hand and the shaft with the left. The left-arm should be held outstretched at a comfortable
- The most comfortable working posture is obtained with a 60° angle, but a smaller angle can be used if necessary.
Cutting
Undercut
- Start by making an undercut (1) on the underside of the branch to avoid the bark ripping when cutting thick branches.
FIG. 25 - They saw a felling cut on the top of the branch (2).
- To avoid the bar jamming in the cut, place the chain saw with the claw stop against the branch and cut the branch from above and down.
Cutting thick branches close to the trunk
- For branches thicker than 10 cm, first, make an undercut and cut the branch about 20 cm from the final cut.
- Then make another undercut close to the trunk and cut the branch.
Cutting over obstacles
The long reach of the chain saw makes it possible to cut branches that hang over obstacles. A suitable angle depends on the positioning of the branch. Make sure that the cut branch does not cause any damage when it falls.
HEDGE TRIMMER
Adjusting the angle
- Switch off the engine and wait until all moving parts have completely stopped.
- Keep a firm grip on the handle (1) and hold the shaft (3) with the other hand.
- Press the adjusting levers together (2) and change the angle of the bar (4) with the handle (1).
- The bar locks in the set angle when the adjusting levers (2) are released.
FIG. 26
Lubrication when in use
Cutting unit
If the bar gets too hot during the work the blades must be lubricated with suitable oil.FIG. 27
NOTE:
Switch off the engine and wait until all moving parts have completely stopped before lubricating.
Gear housing
- Grease via the grease nipples at intervals of 20 working hours.
- Use a lithium-based grease intended for high temperatures and high pressure.
FIG. 28
Cutting
NOTE:
Always use the harness.
Vertical trimming (straight bar)
Large working radius without additional accessories.FIG. 29
Vertical trimming (angled bar)
Trimming without standing near the hedge.FIG. 30
Horizontal trimming (straight bar)
Trimming without standing near the hedge – large working radius.
FIG. 31
Horizontal trimming (angled bar)
Trimming near the ground in a standing position (suitable, for example, for low bushes).FIG. 32
Trimming above head height (angled bar)
Hold the machine over your head and move it in an arch to utilize the full reach.FIG. 33
Working overhead height is tiring – rest often to reduce the risk of accidents. Angle the bar as much as possible in order to hold the machine lower, in a less tiring position.
MAINTENANCE
CHAIN SAW
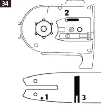
Bar
- Turn the bar round every time the chain is sharpened or changed. This prevents the bar from one-sided wear, especially at the tip and on the underside.
- Clean the following parts regularly:
– Oil inlet hole (1)
– Oil channel (2)
– Bar slot (3)FIG. 34
Sprocket
- Remove the sprocket cover, chain, and bar.
- Replace the sprocket every other time the chain is changed, or if there are wear marks deeper than 0.5 mm (an in the diagram).
FIG. 35 - The sprocket lasts longer if two different chains are used alternately.
Saw chain
- If the chain is properly sharpened it will cut through the wood easily with very little pressure. Do not work with a blunt or damaged chain, this makes the work more
exhausting, causes the machine to vibrate more, and results in excessive wear on both the chain and the machine. Pay attention to the following points for trouble-free
sawing:
– Clean the chain regularly.
– Check that the rivets and links on the chain are free from cracks and damage.
– Replace the chain if it is damaged. - If the chain is worn or not properly sharpened this increases the risk of kickback, which can result in serious personal injury.
- The chain cannot be locked on the bar. We, therefore, recommend taking the chain off the bar before sharpening it.
- Use a chain file suitable for the pitch on the chain. The pitch on the chain (e.g. 3/8”) is given on the raker on each drive link.
FIG. 36
- Always use a special saw chain file. Other files have the wrong shape and action.
- Use a suitable file diameter for the pitch of the chain.
- Take the following angles into consideration when sharpening:
A – Tilt angle (filing angle)
B – Cutting angleFIG. 37 - All the links must have the same angles, otherwise, the chain runs unevenly and/or skew, wears more quickly, and has a shorter lifespan. It takes practice to file a saw chain correctly. We recommend using a file guide. The correct angles are marked on the file guide.
FIG. 38
- Hold the file guide and the file at a suitable angle according to the horizontal markings on the file guide. Let the file guide rest against the top of the cutter tooth and against the raker.
- File from the inside of the cutter tooth towards the outside.
- The file only files when it is moved forward — lift the file when pulling it back.
- Do not allow the file to touch the side links and drive links.
- Turn the file regularly, so that it files evenly.
- Deburr the edges with a piece of hard
- All the cutter teeth should have the same length and thereby the same height, otherwise, the chain will run unevenly and the risk of the chain breaking increases.
HEDGE TRIMMER
Maintenance and sharpening of the blades
- The blade pitch is set at the factory and does not need to be adjusted.
- If the hedge trimmer is used and maintained in accordance with these instructions no further maintenance or sharpening of the blades is necessary. Sharpening is only necessary if the functionality deteriorates and branches frequently fasten in the blades.
NOTE:
- Check at regular intervals that the blades are not deformed or damaged and that the bar is in good condition.
- Any repairs to the bar and/or blades should be carried out by an authorized service center. This is to ensure that the machine is safe to use.
ENGINE
Switch off the machine and wait until all moving parts have completely stopped before cleaning and/or maintenance.
- Do not rinse the machine in water. The penetration of water can damage the engine and electrical parts.
- Clean the machine with a dry cloth, brush, or the equivalent.
Maintenance schedule
| Interval | 12 h | 24 h | 36 h |
| Air fitter | Clean | Clean | Replace |
| Spark plug | Check | Clean | Replace |
Have the machine checked by an authorized service center in the event of the following:
- If the cutter strikes an object.
- If the engine suddenly stops.
- If the blades are bent (do not attempt to straighten them).
- If the gearbox is damaged.
Cleaning and replacing the spark plug
- Allow the engine to cool.
- Unscrew the spark plug with the supplied spark plug spanner.
- Clean the spark plug with a wire brush.
- Adjust the electrode gap to 0.6-0.7 mm. Use a feeler gauge.
- Carefully screw in the spark plug by hand to avoid threading problems.
- Tighten the spark plug with the spanner.
Cleaning the air filter
- Unscrew the screw holding the filter cover.
- Liftoff the filter cover and remove the foam plastic filter unit.
- Replace the filter cover to prevent anything from getting into the air intake.
- Wash the filter in hot water with a mild detergent and allow it to dry.
- Remove the air filter cover.
- Replace the dry filter unit and filter cover.
- Fasten the filter cover with the screw.
FIG. 39
WARNING!
Never start the engine without an air filter.
LUBRICATING THE GEAR HOUSING
- Undo the screw (1).
- Apply lithium-based grease and turn the axle by hand until grease is forced out.
- Tighten the screw.
FIG. 40
- Remove the line blade (A) from the guard (B) by undoing the screws (C).
FIG. 41
- Put the line blade in a vice and sharpen it with a flat-file. Make sure to maintain the original angle of the edge.
- Refit the line blade on the guard.
STORAGE
- Clean the machine well on completion of the work.
- Allow the motor to cool and then store the machine in a dry area out of the reach of
REPLACING THE TRIMMER LINE
FIG. 42
MAINTENANCE INTERVAL
Chain saw
The specified maintenance interval applies during normal use. Carry out maintenance more often for more demanding use, for example, long sessions, cutting hardwood, dusty conditions, etc.
| Before using | Daily or after finishing the work | After refueling | When necessary | ||
| Chain lubrication | Check | X | |||
| Saw chain | Check of condition and sharpness | X | X | ||
| Check of chain tension X | X | ||||
| Sharpening | X | ||||
| Bar | Check of condition | X | |||
| Cleaning and turning round | X | ||||
| Deburring | X | ||||
| Replacement | X | ||||
| Sprocket | Check | X | |||
| Replacement | X | ||||
| Warning labels | Replacement | X | |||
Hedge trimmer
The specified maintenance interval applies during normal use. Carry out maintenance more often for more demanding use, for example, long sessions, dusty conditions, etc.
| Before using | Daily or after finishing the work | After refueling | Every year | In the event of a problem | If damaged | When necessary | ||
| Blades | Visual inspection | X | X | |||||
| Sharpening | X | |||||||
| Gear housing | Check | X | ||||||
| Refilling | ||||||||
Care for the environment!
Recycle discarded products in accordance with local regulations.
Jula reserves the right to make changes.
For the latest version of operating instructions, see www.jula.com

JULA AB, BOX 363, SE-532 24 SKARA
2022-02-01
© Jula AB

EU DECLARATION OF CONFORMITY
Item number
000904

Jula AB, Box 363, SE-532 24 SKARA, SWEDEN
This declaration of conformity is issued under the sole responsibility of the manufacturer.
QUADROTRIMMER
32.6CC, 0.9kW
Conforms to the following directives, regulations, and standards
| Directive/Regulation | Harmonized standard |
| MD 2006/42/EC | EN ISO 11806-1:2011, EN ISO 11680-1:2011, EN ISO 10517:2009+A1 |
| EMC 2014/30/EU | EN ISO 14982:2009 |
| OND 2000/14/EC + 2005/88/EC |
| The measured sound power level on an equipment representative for this type: | Guaranteed sound power level: | Conformity assessment procedure according to 2000/14/EC: |
| 108,8 dB(A) | 114 dB(A) | Annex V |
This product was CE marked in a year:
Skara 2016-11-17
Stefan Rundberg
BUSINESS AREA MANAGER (Signatory for Jula and authorized to compile the technical documentation.
DoC: EN-SE-NO-PL-DE-FI-FR-NL














































































