Panasonic Fan Heater FV-0511VHL1 User Manual
Service Manual
WARNING
This service information is designed for experienced repair technicians only and is not designed for use by the general public. It does not contain warnings or cautions to advise non-technical individuals of potential dangers in attempting to service a product. Products powered by electricity should be serviced or repaired only by experienced professional technicians. Any attempt to service or repair the product or products dealt with in this service information by anyone else could result in serious injury or death
IMPORTANT SAFETY NOTICE
There are special components used in this equipment which are important for safety. These parts are marked by in the Schematic Diagrams, Exploded Views and Replacement Parts List. It is essential that these critical parts should be replaced with manufacturer’s specified parts to prevent shock, fire or other hazards. Do not modify the original design without the manufacturer’s approval. Please have a static electricity depletion process in place before handling these components.. Please use gloves when handling PCB parts during the repair process.
Specification
| Model No. | Air direction | Voltage [V] | Frequency [Hz] | Air volume at 0.1″WG [CFM] | Noise [sone] | Power [W] | Weight [Ib. (k )] | ||
| Vent | Vent | Heat | Vent | Light | |||||
| FV0511VHL1 | Exhaust & Circulation | 120 | 60 | 50 | <0.3 | 1480(25°C)1680(0°C) | 4.7 | 10 | 15(6.9) |
| 80 | <0.3 | 7.4 | |||||||
| 110 | 0.7 | 12.4 | |||||||
HVI Certified performance based on HVI Procedures 915, 916, and 920. (Ventilating mode only)
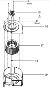
Parts Identification
Main Body Section
Adapter Unit
Casing Unit
Main PCB Unit
Casing Adapter Unit
Heater Unit Assy
Grill Assembly

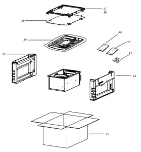
Packing Section
Main Label





Wiring Diagram

Parts List
Main Body Section
No. | Part No. | Part Name | Q´ty | Remark |
| 1 | FFV51VHL190 | Frame Unit | 1 | |
| 2 | FFV51VHL191 | Adapter Unit | 1 | ! |
| 3 | FFV0511VHL1 | Main PCB Unit | 1 | ! |
| 4 | FFV51VHL193 | SP Motor Cover | 1 | |
| 5 | FFV5VHL1902 | Casing Adapter Unit | 1 | |
| 6 | FFV51VHL181 | Filter Guide | 1 | |
| 7 | FFV5VHL1813 | Filter | 1 | |
| 8 | FFV51VHL170 | Heater Unit | 1 | ! |
| 9 | FFV5VHL1810 | Grill Assembly | 1 | ! |
| A | FFVXTT4-8FFJ | Screw (ST4-8) | 1 | ! |
| B | FFV7000089S | Truss Tap Screw | 9 | |
| C | FFV7000065S | Bind Screw | 4 |
Adapter Unit
No. | Part No. | Part Name | Q´ty | Remark |
| 10 | FFV5VHL1913 | Connector Plate | 1 | |
| 11 | FFV3450010S | Earth Lead Wire | 1 | ! |
| 12 | FFV51VHL130 | Connector Assy | 1 | ! |
| 13 | FFV11QCL1341A | Connector Assy (L) | 1 | ! |
| 14 | FFV11QCL1912A | Junction Cover | 1 | |
| A | FFVXTT4-8FFJ | Screw (ST4-8) | 3 | |
| D | FFVXYM4DC8BN | Screw | 1 | ! |
Casing Unit
No. | Part No. | Part Name | Q´ty | Remark |
| 15 | FFV11QCL1M21AX | Motor Assembly | 1 | ! |
| 16 | FFV15VQ10904 | Motor Support | 1 | |
| 17 | FFVM15VK10802B | Blade | 1 | |
| 18 | FFV7020021S | Nut | 1 | |
| 19 | FFV5VHL1906 | Casing | 1 | |
| A | FFVXTT4-8FFJ | Screw (ST4-8) | 3 | |
| B | FFV7000089S | Truss Tap Screw | 5 |
Main PCB Unit
No. | Part No. | Part Name | Q´ty | Remark |
| 20 | FFV51VHL1900 | Main PCB Box | 1 | ! |
| 21 | FFV510VS1M9 | Speed Switch | 1 | ! |
| 22 | FFV51VHL199 | Main PCB Cover | 1 | ! |
| 23 | FFV51VHL131 | Power Lead Wire | 1 | ! |
| 24 | FFV51VHL132 | Motor Lead Wire | 1 | ! |
| 25 | FFV51VHL135 | SP Motor Lead Wire | 1 | |
| E | FFV7000145S | Pan Tap Screw | 6 |
Casing Adapter Unit
No. | Part No. | Part Name | Q´ty | Remark |
| 26 | FFV51VHL1930 | Damper | 1 | |
| 27 | FFV51VHL1908 | Casing Adapter | 1 | |
| 28 | FFV30BU10908 | Joint | 1 | ! |
| 29 | FFVMSFJC20A | SP Motor | 1 | |
| E | FFV7000145S | Pan Tap Screw | 1 |
Heater Unit Assy
No. | Part No. | Part Name | Q´ty | Remark |
| 30 | FFV51VHL1708 | Mesh Holder | 1 | |
| 31 | FFV51VHL1707 | Mesh | 1 | |
| 32 | FFV51VHL1702 | Heater Cover | 1 | ! |
| 33 | FFV51VHL1710 | PTC Heater Assy | 1 | ! |
| 34 | FFV51VHL1720 | Thermostat | 1 | ! |
| B | FFV7000089S | Truss Tap Screw | 6 | |
| E | FFV7000145S | Pan Tap Screw | 1 |
Grill Assembly
No. | Part No. | Part Name | Q´ty | Remark |
| 35 | FFV51VHL1070 | Led Unit | 1 | |
| 36 | FFV51VHL1811 | Grill Section | 1 | |
| B | FFV7000089S | Truss Tap Screw | 1 |
Packing Section
No. | Part No. | Part Name | Q´ty | Remark |
| 37 | FFV51VHL1920 | Hanger Assy | 1 | ! |
| 38 | FFV51VHL1137 | Grill Pad Assy | 1 | |
| 39 | FFV51VHL1010 | Poly Cover | 1 | |
| 40 | FFV51VHL1420 | Install. Instr. (Eng/Esp) | 1 | |
| 41 | FFV51VHL1421 | Install. Instr. (Eng/Fre) | 1 | |
| 42 | FFV01NES0045 | Accessory A | 1 | |
| 43 | FFV51VHL1413 | Rigth Pad | 1 | |
| 44 | FFV51VHL1412 | Left Pad | 1 | |
| 45 | FFV51VHL1400 | Packing Case | 1 |
Main Label
No. | Part No. | Part Name | Q´ty | Remark |
| 46 | FFV51VHL1051 | Instruccion Label | 1 | |
| 47 | FFV51VHL1052 | Caution Label | 1 | |
| 48 | FFV51VHL1050 | Name Plate | 1 | |
| 49 | FFV51VHL1012 | Speed Switch Label | 1 | |
| 50 | FFV51VHL1066 | Wiring Label | 1 | |
| 51 | FFV51VHL1053 | HVI Mark | 1 |



















