![]()
BD/DVD/CD WRITER
BDR-S13UBK
Owner’s Manual

![]()
![]()
Thank you for purchasing this Pioneer product. Before using the drive, please ensure that you read all warnings, cautions, notices, and other important safety information in this owner’s manual, which also contains important information including regulatory data, the software license agreement, details on product registration, service procedures, and guidelines on installation and use.
Precautions Regarding Use
- Pioneer accepts no liability for the loss of any data and limits its responsibility for any failure of the product to perform properly as provided in the product’s One Year Limited Warranty. It is strongly recommended to regularly back up all critical data.
- Care must be taken not to infringe copyright restrictions under the laws of each country. If this device is used to record copyrighted materials, approval must be obtained from the respective copyright holders. The recording of copyrighted materials without the express approval of the respective copyright holders may result in legal penalties. YOU ARE RESPONSIBLE FOR YOUR USE OF THIS PRODUCT. Pioneer disclaims any and all responsibility for any legal damages resulting from the use of this device in the unauthorized copying of copyrighted materials.
- All names of corporations, products, and systems listed herein, even when the (™) or (®) symbols are omitted, are considered the registered trademarks of the respective owners.
WARNING
This product’s classification has been determined under IEC 60825-1:2014, Safety of Laser Products. This Class 1 product contains a laser diode classified as Class 3B. To ensure continued safety, do not remove any covers or attempt to gain access to the inside of the product. Refer all servicing to qualified personnel.
CLASS 1 LASER PRODUCT
The following caution label appears on your unit:
Location: on top of the cover.
WARNING CLASS 3B VISIBLE AND INVISIBLE LASER RADIATION WHEN OPEN, AVOID EXPOSURE TO THE BEAM.
CAUTION : USE OF CONTROLS OR ADJUSTMENTS OR PERFORMANCE OF PROCEDURES OTHER THAN THOSE SPECIFIED HEREIN MAY RESULT IN HAZARDOUS RADIATION EXPOSURE.
CAUTION : THE USE OF OPTICAL INSTRUMENTS WITH THIS PRODUCT WILL INCREASE EYE HAZARD.
FEDERAL COMMUNICATIONS COMMISSION DECLARATION OF CONFORMITY
This device complies with part 15 of the FCC Rules. Operation is subject to the following two conditions: (1) This device may not cause harmful interference, and (2) this device must accept any interference received, including interference that may cause undesired operation.
Product Name: BD/DVD/CD WRITER
Model Number: BDR-S13UBK
Responsible Party Name: Pioneer Electronics (USA) Inc.
Address: 2050 W. 190th Street, Suite 100, Torrance, CA 90504
Phone: (800) 421-1404
URL: https://www.pioneerelectronics.com/PUSA/
NOTE
This equipment has been tested and found to comply with the limits for a Class B digital device, pursuant to Part 15 of the FCC Rules. These limits are designed to provide reasonable protection against harmful interference in a residential installation. This equipment generates, uses, and can radiate radio frequency energy and, if not installed and used in accordance with the instructions, may cause harmful interference to radio communications. However, there is no guarantee that interference will not occur in a particular installation. If this equipment does cause harmful interference to radio or television reception, which can be determined by turning the equipment off and on, the user is encouraged to try to correct the interference by one or more of the following measures:
– Reorient or relocate the receiving antenna.
– Increase the separation between the equipment and receiver.
– Connect the equipment into an outlet on a circuit different from that to which the receiver is connected.
– Consult the dealer or an experienced radio/TV technician for help.
Information to User
Alterations or modifications carried out without appropriate authorization may invalidate the user’s right to operate the equipment.
WARNING
TO PREVENT THE RISK OF ELECTRIC SHOCK, DO NOT REMOVE COVER (OR BACK). NO USER-SERVICEABLE PARTS INSIDE. REFER SERVICING TO QUALIFIED SERVICE PERSONNEL.
WARNING
THIS PRODUCT IS NOT WATER RESISTANT. To prevent a fire or shock hazard, do not place any container filled with liquid near this equipment (such as a vase or flower pot) or expose it to dripping, splashing, rain or moisture.
Operating System
Supported OS: Windows® 11, Windows 10, Windows 8.1
- Refer to the Pioneer official website for information on the latest operating systems supported.
Ultra HD Blu-ray playback
The Intel Software Guard Extensions (Intel SGX) feature is a requirement for the CPU and motherboard firmware to play DRM (digital rights management) protected content on Ultra HD Blu-ray movie discs on a Windows platform.
Note
Intel SGX has been removed from Intel 11th generation and newer CPUs, and support for SGX may be removed on new versions of Intel drivers or utility programs such as Intel SGX and Intel Management Engine drivers and firmware in the future. Such changes could cause these platforms to lose support for Ultra HD Blu-ray movie disc playback.
- Refer to the Pioneer website for details on playback environments.
https://www.pioneerelectronics.com/PUSA/Computer/Computer+Drives/BDR-S13UBK
The required operating environment may differ depending on the OS or applications used.
Please consult with software or OS providers regarding any questions about the OS or applications.
Before Use
Checking accessories
Owner’s manual (including warranty information and application product key)
- Download the application software from the website at https://jpn.pioneer/cyberlink_soft/en.php.
The application download key (product key) is attached to back of this Owner’s manual. - If any accessories are not included, please contact the dealer from which you purchased this product.
- Please download the Pioneer BD Drive Utility from the Pioneer website. https://pioneer.jp/device_e/product-e/ibs/device_e/dev00001r_e.html#DriveUtility
The Drive Utility lets the user configure various drive functions such as adjusting the reading method if correct reading of a music CD is not possible, and setting the PureRead function that minimizes the occurrence of data interpolation resulting from errors.
For details, refer to “Useful Functions” on page 16.
IMPORTANT SAFETY INSTRUCTIONS
WARNING
- When using this device, ensure that you adhere to the displayed warnings and cautions from your PC manufacturer.
- This drive is designed to be used installed internally into a PC. Ensure that you use screws to firmly secure the drive within the PC.
WARNING
Ensure you abide by the following cautions, as failure to do so may lead to fire or electric shock.
- Connect cables to the device only after checking that the cables have not deteriorated and are not damaged. Do not use any cables that have deteriorated or are damaged.
- Do not disassemble or modify the device. Do not allow metal, flammable objects, or other foreign matter to enter the device.
- Ensure that water does not enter the device, and that it is kept dry.
- Ensure it is used with the specified power supply voltage.
In the following circumstances, turn off the device power, unplug the PC, and contact your dealer or Pioneer.
- If the device smokes, or abnormalities such as strange smells or noises are observed.
- If water or foreign objects have entered the device.
- If the device has been dropped or its cover damaged.
The indicator symbols used for this product (including accessories) indicate the following:
~ AC (Alternating Current)
⎓ DC (Direct Current)
Cautions in Usage
- Do not use in dusty locations, or in locations with high temperature or humidity.
- Do not subject the device to vibration or shock.
- When installing the device, ensure that the power to both the device and the PC is first turned off. Furthermore, remove the protective transparent film on the front surface of the drive (bezel) before use.
- During operation, do not move or pick up the device.
- Beware of condensation. If there is condensation, leave the device for one to two hours for the moisture to evaporate before use.
- Do not inspect or modify the interior of the device.
- Use a soft, dry cloth to wipe any soiling from the exterior of the device. In the case of significant soiling, dilute a neutral cleaner five to six times in water and use this to moisten a soft cloth, wipe the soiling away, then dry with a dry cloth. Do not use volatile chemicals including benzene, thinners, alcohol, or aerosol sprays, as these may damage the surface. Before using chemically treated cloth intended for the care of electronics, carefully read the cautions included with the cloths.
- There are no guarantees regarding data if data is lost while using this device. Ensure you make regular backups of your data for recovery in the case of malfunctions.
Handling discs
- Do not touch or scratch the signal (shiny) side of the disc.
- Hold the disc either by both edges, or by the center hole and one edge.

- Do not apply stickers or labels to the disc.
- Do not use cracked or significantly warped discs. Doing so may lead to a malfunction in the device.

- When using old or rental discs, check that there are no cracks around the center hole. Centrifugal force from high-speed rotation may enlarge these cracks, causing the disc to break.

- Do not use discs with special shapes (heart-shaped, hexagonal, etc.) or other non-standard discs. Doing so may lead to a malfunction.

- If there is dust or fingerprints on the disc, use a soft cloth to wipe outwards from the center to the outer edge of the disc. Do not wipe using a circular motion on the disc.
- Do not use record spray or antistatic agents. Doing so may damage the disc.

To protect the disc, ensure it is kept in a disc case, and check for soiling or dust on the recording surface before use.
Features
Write speed/Read speed
WRITE SPEED (MAXIMUM) | READ SPEED (MAXIMUM) | |
| BD-ROM (SL/DL) | – | 12X/8X |
| BD-R (SL/DL) | 16X/14X | 12X/8X |
| BD-RE (SL/DL) | 2X | 10X/6X |
| BD-R (TL/QL) | 8X/6X | 6X |
| BD-RE (TL) | 2X | 4X |
| BD-R LTH | 8X | 8X |
| M-DISC (BD) SL | 6X | 12X |
| M-DISC (BD) DL | 8X | 8X |
| M-DISC (BD) TL | 6X | 6X |
| DVD-ROM (SL/DL) | – | 16X/12X |
| DVD±R (SL) | 16X | 16X |
| DVD±R (DL) | 8X | 12X |
| DVD-RW | 6X | 12X |
| DVD+RW | 8X | 12X |
| DVD-RAM | 5X | 5X |
| M-DISC (DVD) | 6X | 16X |
| CD-ROM | – | 48X* |
| CD-R | 48X | 48X |
| CD-RW | 24X | 40X |
* When the PureRead function is turned on, priority is given to reading accuracy, and the maximum playback speed of CD audio and CD ROM is set to 40x. The PureRead function is turned on as a default setting. This function can be configured using the supported Pioneer BD Drive Utility.
Note
- Playback of recorded BD/DVD/CD discs is possible in drives and players that support these formats. Please consult with the respective product manufacturer regarding compatibility.
To perform high-speed writing, please use media that supports high-speed recording and writing. Refer to the Pioneer website for details.
https://pioneer.jp/device_e/product-e/ibs/device_e/dev00003r_e.html
- Dual Disc playback
– The Dual Disc format can record DVD-standard video and audio on one side, and audio that can be played by a CD player on the other.
– When inserting a Dual Disc into a playback device or removing it from the device, the surface opposite to the playback side may be scratched. Problems may occur when playing the scratched side.
– The audio side (non-DVD side) is not compliant with general physical CD standards, and may not play in some cases.
– The Dual Disc DVD side can be played.
– For more details on Dual Disc specifications and standards, please contact the distributor or vendor of the disc.
Part Names and Functions
Front

(1) Forced ejection hole
If the disc tray does not open even after pressing the eject button, the disc tray can be opened by inserting a long, narrow item such as the end of a large paper clip into this hole.
In normal use, open the disc tray by using the eject button.
When using the forced ejection hole, ensure that the power is turned off, and wait for at least one minute for disc rotation to stop.
(2) Busy indicator (BUSY)
Indicates the operational status as follows.
Reading Lit
Writing Lit
Tray opening/closing Lit
(3) Eject button (
)
Opens and closes the disc tray.
4 Disc tray
Press the eject button to open the disc tray, and with the label side facing up, place a disc in the tray aligned with the grooves.
Press the eject button, or lightly push the front of the tray to close it.
Do not forcefully pull the disc tray open.
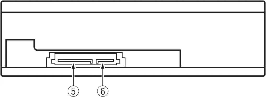
Rear

(5) DC input terminal
+3.3 VDC, +5 VDC, and +12 VDC power input.
Pin | Name | Function |
| 1 | 3.3 | +3.3 VDC power input (not used) |
2 | 3.3 | +3.3 VDC power input (not used) |
| 3 | 3.3 | +3.3 VDC power input (not used) |
4 | G | Grounding |
| 5 | G | Grounding |
6 | G | Grounding |
| 7 | 5 | +5 VDC power input |
8 | 5 | +5 VDC power input |
| 9 | 5 | +5 VDC power input |
10 | G | Grounding |
| 11 | DAS | Activity signal (not used) |
| DSS | Disabling of delayed spin-up (not used) | |
12 | G | Grounding |
| 13 | 12 | +12 VDC power input |
14 | 12 | +12 VDC power input |
| 15 | 12 | +12 VDC power input |
(6) SATA interface terminal
When connecting to a computer SATA terminal, use a 7-pin cable.
Use a SATA-compliant cable of no more than 1 m (3 ft. 3 in.) in length.
Pin | Name | Function |
| 1 | G | Grounding |
2 | A+ | Data signal wire A |
3 | A- | |
| 4 | G | Grounding |
5 | B- | Data signal wire B |
| 6 | B+ | |
7 | G | Grounding |
Use of 8-cm (3-9/64 in.) discs
If this device is used in a vertical configuration, 8-cm (3-9/64 in.) discs cannot be used, even if placed in an 8-cm (3-9/64 in.) adapter.
Installing the Drive
(1) Turn off the power to the computer, and remove the power cable from the AC socket.
(2) Remove the blank panel on the front of the 5-1/4 inch slot.
(3) Insert the drive into the slot.
(4) If fixing the drive is required, do so in accordance with the computer’s user manual.
(5) When installation is complete, remove the protective transparent film on the front surface of the drive (bezel). If removing the protective transparent film is not possible after installing in the PC housing, first remove the protective transparent film before carefully inserting the drive into the computer slot.
- Use screws no more than 6 mm (15/64 in.) in length. Use of long screws may cause damage to the drive.
- If the screws are not tightened fully, a rattling sound may be caused by vibration from the rotation of the disc. Therefore, ensure that the drive is installed securely.
- The bottom surface of the product has a gray sound dampening and dustproof sheet attached. Use the drive without removing this sheet.
- Make sure the drive is firmly secured within the PC before use.
- Connect cables to the device only after checking that the cables have not deteriorated and are not damaged.
Connection
- Turn off the power to the computer.
- Connect the power cable from the computer. The power connector used for this product is a Serial ATA standard connector.
- Connect the Serial ATA interface cable.
- The connector has an asymmetrical shape to prevent incorrect insertion.
Forcefully trying to insert the connector with the wrong orientation may damage the connector.- When connecting the cable, be sure to check the orientation of the connector.
- Carefully check for deterioration, or damage to cables being connected.
- Serial ATA power cable
- Serial ATA interface cable
When connection of the product is complete, use the following method to check that the product is correctly recognized by the computer’s operating system.
- From the [Control Panel], open [Device Manager] and open the CD-ROM or DVD/CD-ROM item. Check that the product is correctly recognized by the computer’s operating system.
- Click the [System] icon, and select the [Device Manager] tab. Open the DVD/CD-ROM drives item to display the device properties, and check the device status.
Forcefully ejecting the disc
In the following situation, you can forcefully eject the disc by using the forced ejection hole.
- When the device has malfunctioned and the disc cannot be ejected using the eject button or through the software
(1) Check that the computer power is turned off, and that the disc has stopped rotating.
(2) Straighten a paper clip or similar object, and insert this straight into the forced ejection hole and push hard.
(3) The disc tray will come out by 5 mm (3/16 in.) to 10 mm (25/64 in.), so pull out the tray and remove the disc.

Note
- Never forcefully eject the tray while the disc is still rotating, as doing so may lead to injury or damage to the disc.
- Do not place items within 12 cm (4-23/32 in.) of the front of the device, as doing so may obstruct disc ejection.
Downloading and Installing CyberLink Media Suite (with Product Key)
(1) Access the website shown on the back of this manual.
(2) Review the License Agreement, and click “Agree” to proceed to the CyberLink webpage.
Download
(1) After accessing the download website, sign in with your CyberLink member e-mail address and password.
(If you have not registered as a CyberLink member, click “Register now” and register to be a member.)
(2) After signing in, the product key input screen will be displayed. Enter the provided product key and click “Submit”.
The product key is on the back of this manual.
(The 16-character key printed on the label.)
(3) If the product key has been entered correctly, the screen to download the downloader will be displayed. Click the download link to download the downloader.
Re-downloading the downloader
After registering the product key on the download website, an e-mail will be sent to your registered CyberLink member e-mail address.
The downloader can be re-downloaded from the Link in the e-mail for 30 days from registration of the product key.
Installation
(1) Connect the drive to Windows PC.
(2) Run the downloaded file to start downloading the program.
(3) After the download is complete, the installation message will be displayed in the dialog box. Click “Install” to start up the installer.
(Even if you do not click “Install”, the installer will automatically start up after 1 minute.)
(4) After the installer starts up, follow the instructions on the installer to install the product.
Useful Functions
These functions can be used if the Drive Utility is downloaded and installed. For details on other functions in the Drive Utility, refer to the drive utility help page. Please download the Drive Utility from the Pioneer website.
https://pioneer.jp/device_e/product-e/ibs/device_e/dev00001r_e.html#DriveUtility
Custom Eco function
Explanation of function
If the drive does not receive any commands (instructions for operation) from the PC for a specified period, this function will reduce the device’s power consumption (enter the power saving mode), such as by stopping the disc from rotating or reducing the disc rotation speed. Shortening this specified period will make the device enter the power saving mode earlier.
- If a command is received after entering the power saving mode, the device will require some time to bring the disc back up to high-speed rotation, which means a reduced speed of operation in the interim.
Using this function
Configure the setting in the “Pioneer BD Drive Utility.”
(1) Install the “Pioneer BD Drive Utility.”
(2) Start the “Pioneer BD Drive Utility.”
(3) Click the [Utility] tab.

(4) Slide the [
] under [Custom Eco] to the [Power saving] side.
There are 10 levels between the standard mode and power saving mode.
(5) Select [Save settings to drive].
The set values will be saved to the drive. Settings will be retained even after turning off the device power.
Cautions in usage
- The default setting is set to the standard mode.
- If power to the drive is turned off without selecting the [Save settings to drive] checkbox, the settings will revert to the previously saved settings.
- Settings can be changed at any time using the Pioneer BD Drive Utility, when the drive is recognized.
PureRead
Explanation of PureRead function
When using this device to read a music CD, you can use PureRead. This function allows the device to work to acquire and reproduce the original sound as much as possible such as by repeatedly reading scratched or soiled parts of the CD. PureRead can be set to the following two modes or turned off.
| Master mode (default setting) | This mode works to acquire and reproduce the original sound as much as possible, but if it encounters audio data that cannot be completely reproduced, it interpolates that data and continues with acquisition. |
| Perfect mode | This mode reproduces the original sound, and if it encounters audio data that cannot be completely reproduced, it stops and halts acquisition. |
| OFF | This mode carries out normal acquisition of music CD data. If there is a scratch that prevents reading, interpolation will occur. |
What is interpolation?
Audio data that cannot be read because of scratches or other damage is created by inference from sounds before and after it. This sound will be degraded compared to the original sound.
- Original waveform
- Sampling
- Audio is interpolated from sounds before and after.
- Corrupted waveform from scratches, etc.
- Acquired audio waveform
Using PureRead
(1) Install the “Pioneer BD Drive Utility.”
(2) Start the “Pioneer BD Drive Utility.”
(3) Click the [Setting2] tab.

(4) Select the [On] checkbox under [PureRead4+].
(5) Select from either [Perfect mode] or [Master mode].
(6) Select [Save settings to drive].
The set values will be saved to the drive. Settings will be retained even after turning off the device power.
Cautions in usage
If power to the drive is turned off without selecting the [Save settings to drive] checkbox, the settings will revert to the previously saved settings.
Specifications
[Installation]
The device can be installed horizontally or vertically.
[Disc size]
12 cm (4-23/32 in.) / 8 cm (3-9/64 in.)*
* 8-cm (3-9/64 in.) discs cannot be used when the unit is installed vertically.
[Transfer rate]
Data reading (sustained)
BD Max. 54.0 MB/s
DVD Max. 21.6 MB/s
CD Max. 7.2 MB/s
Data writing (sustained)
BD Max. 72.0 MB/s
DVD Max. 21.6 MB/s
CD Max. 7.2 MB/s
Interface standards
Serial ATA Rev.3.0 1.5 Gbits/s
- The transfer rate may be reduced depending on the condition (scratches, etc.) of the disc.
[Access time/Seek time]
Access time (random average)
BD 180 ms DVD 170 ms DVD 150 ms
Seek time (random average)
BD 160 ms CD 160 ms CD 140 ms
[Others]
Power supply …………………………………………………… +12 VDC, 2.2 A +5 VDC, 1.4 A
External dimensions (including front panel) …. 148 mm (W) x 42.3 mm (H) x 181 mm (D) 5-13/16 in. (W) x 1-21/32 in. (H) x 7-1/8 in. (D)
Weight ………………………………………………………………. 0.74 kg (1.63 lb)
Operating temperature (Normal humidity) …….. +5 °C to +45 °C (41 °F to 113 °F)
Operating humidity (Normal temperature) ……… 5 % to 85 % (no condensation)
Storage temperature (Normal humidity) ……….. -40 °C to +60 °C (-40 °F to 140 °F)
Storage humidity (Normal temperature) …………. 5 % to 90 % (no condensation)
Buffer size………………………………………………………. 4 MB
5-1/4 inch half-height internal type
[Accessories]
Owner’s manual (including warranty information and application product key)
- Specifications and the external appearance may be subject to change without notice.
Problems and Solutions
Unexpected errors in operation are often thought to be malfunctions. If you think there is a malfunction, check the items below according to the symptoms.
If the abnormality is not resolved even after taking the following measures, please contact your dealer or Pioneer.
Additionally, please consult with the application software manufacturer regarding any problems occurring in the application software.
The computer or application does not correctly recognize the device
- Are the Serial ATA interface cable and power connectors connected correctly?
→ Check that the polarity of the cables is correct, and that the cables are properly connected. - Is the OS compatible with the device?
→ Use an OS that supports this device. (Windows® 11, Windows 10, Windows 8.1) - Are you using the supplied application?
→ Use the application included with this device.
Data cannot be recorded/Error occurs during recording
- Is there sufficient space for recording?
- Check that the required application software is installed in the usage environment.
- Check that the operating environment being used meets the specifications for the application software being used.
- Recording on the disc at the selected speed is not possible.
→ Check that the disc supports the different recording speeds.
→ The speed may drop depending on the condition of the disc. - Are you using a disc that has been finalized (no more recording is possible)?
- Is the disc correctly inserted with the label side facing up and the recording side facing down?
- Is the disc dirty or scratched?
A recorded disc cannot be read
- Is the disc inserted into the disc tray with the label side facing up?
- Are you using a blank disc?
- Is the disc dirty or scratched?
- Check that the required application software is installed in the usage environment.
- Is the device installed in a flat location?
- The optical components or disc may have condensation on them. Therefore, turn the device power off for a period of time and wait for it to fully dry before usage.
For other details on how to record on discs, refer to the manual or help screens for the application software being used.
For more stable disc recording and playback
The operating temperature range for this product is +5 °C to +45 °C (41 °F to 113 °F). However, recording and playback at normal temperatures is recommended in order to ensure stable recording as well as playback on various players and drives.
Region codes
The region code for the drive can be set only five times (including the initial setting). The region code selected with the fifth setting will be locked as the final region code. Accordingly, take care when changing this code.
- DVD discs that do not have a region code set can be played on all players.
There are no images. There is no sound.
- Digital output of BD-Video content (output using DVI or HDMI terminals) requires graphics functionality and monitors that support HDCP standards.
Check that your PC environment supports HDCP standards.
Playback of BD-Video content and other high-definition videos requires very high processing power. If you encounter phenomena such as frame dropping or choppy audio, it may be possible to prevent this by reducing the load on the PC, either by stopping resident software or using video playback support functionality in the graphics function.
Review the operating environment and try playback again with as little load on the PC as possible from other applications.
Playback of BD-Video content requires periodic updates to the playback software as the content decryption key has an expiration date. Before playback, ensure that the latest update from the software manufacturer has been applied. - During DVD-Video title playback, if the playback software counter is counting correctly and audio is output but no images are displayed, check the resolution and number of colors of your monitor. The standard settings are 800 x 600 resolution and 16-bit color. Additionally, check that the video card (video chip) drivers are the latest versions, and update if necessary.
If a message such as “Failed to create overlay” is displayed, this indicates insufficient video card performance as above, so set the resolution and number of colors as described above.
Furthermore, if your PC has a TV output function, an error message starting with “Macrovision . . .” may be displayed. In these cases, turn off the TV output function. - If images are displayed but no audio is output, the video may be being output in an audio format not supported by your playback software. Check the audio format recorded with the BD/DVD-Video title, and switch to a supported audio format (surround sound, etc.).
- Media and files such as videos from BD/DVD-Video and digital broadcasting include content protection, and have restrictions on copying and playback. Check that there are no restrictions on the content to be played and on the playback environment.
- For detailed information on Ultra HD Blu-ray playback, refer to the website below. https://www.pioneerelectronics.com/PUSA/Computer/Computer+Drives/BDR-S13UBK
The Intel Software Guard Extensions (Intel SGX) feature is a requirement for the CPU and motherboard firmware to play DRM (digital rights management) protected content on Ultra HD Blu-ray movie discs on a Windows platform.
Note
Intel SGX has been removed from Intel 11th generation and newer CPUs, and support for SGX may be removed on new versions of Intel drivers or utility programs such as Intel SGX and Intel Management Engine drivers and firmware in the future. Such changes could cause these platforms to lose support for Ultra HD Blu-ray movie disc playback.
Others
Warranty and After-Sales Service
AFTER-SALES SERVICE FOR PIONEER PRODUCTS
Please contact the dealer or distributor where you purchased the product for its after-sales service (including warranty) or any other information. You may also contact Pioneer Customer Support at 1-800-421-1404 in the U.S. and Canada, or at the address listed below:
PLEASE DO NOT SHIP YOUR PRODUCT to the address listed below for repair. Units requiring service must be sent to a different address and with an RMA number. Please contact Pioneer Customer Support or an authorized service company if service is required for your product.
PIONEER ELECTRONICS (USA) INC.
P.O.BOX 1720, Long Beach, California 90801 U.S.A.
Questions about the included application software
Direct inquiries to the following software manufacturers.
CyberLink Support Center
https://www.cyberlink.com/support/index.html
Information on the product
https://www.pioneerelectronics.com/PUSA/Computer/Computer+Drives/BDR-S13UBK
Trademarks and registered trademarks
- Pioneer and the Pioneer logo are registered trademarks of Pioneer Corporation.
- Windows® is a registered trademark of Microsoft Corporation in the U.S. and other countries.
- M-DISC is a trademark of Millenniata, Inc.
- BLU-RAY DISC, the Blu-ray Disc logo, BDXL, the BDXL logo and the Ultra HD Blu-ray Disc logo are trademarks of the Blu-ray Disc Association.
- CyberLink is a trademark or a registered trademark of CyberLink Corporation.
- SERIAL ATA and its Design Mark are trademarks of Serial ATA International Organization.
- All other trademarks belong to their respective owners.
BDR-S13UBK
ONE YEAR LIMITED WARRANTY
(In the U.S. and Canada)
When purchased from an authorized Pioneer dealer, this product is covered by Pioneer’s One Year Limited Warranty. Please visit our website to review and download the full terms and conditions of the Limited Warranty, or you can receive a copy by calling 1-800-421-1404 or writing to the address below.
https://www.pioneerelectronics.com/StaticFiles/PUSA/Files/Warranty/PUSAOpticalWarranty.pdf
Customer Support, Pioneer Electronics (USA) Inc., P.O. Box 1720, Long Beach, California 90801 U.S.A.
RECORD THE PLACE AND DATE OF PURCHASE. KEEP THIS INFORMATION AND YOUR SALES RECEIPT IN A SAFE PLACE.
Model No. __BDR-S13UBK____________
Serial No. __________________________
Purchase Date __________________________
Purchased From __________________________
Website for downloading application
https://jpn.pioneer/cyberlink_soft/en.php.
The downloader can be re-downloaded from the Link in the e-mail sent from CyberLink for 30 days from registration of the product key.
CyberLink Media Suite
Product key for free download

© 2022 PIONEER CORPORATION. All rights reserved.
PIONEER CORPORATION 28-8, Honkomagome 2-chome, Bunkyo-ku, Tokyo 113-0021, Japan
PIONEER ELECTRONICS (USA) INC. P.O.BOX 1720, Long Beach, California 90801 U.S.A.
Pioneer Digital Design and Manufacturing Corporation 5-5, Koishikawa 5-chome, Bunkyo-ku, Tokyo 112-0002, Japan
Printed in China <ORC8392-B>
Forcefully trying to insert the connector with the wrong orientation may damage the connector.


















