Grouw 70228 18 Strong Juice Press Instruction Manual

Use
The fruit press can be used to make juice from fruit and berries. NOTICE: Do not press before you crush the fruits. Use pressing cloth (may be obtained as an accessory, for
the pressed fruits not to be pushed out of the pressing cage.
Technical data
Control – Screw press
Materi1al – Steel and tree
Cage volume in litres – 18
Size – Ø370 x 700mm
Approximate Weight – 13,5 kg
including juice bag
Parts overview


Safety measures
– If needed, fix the legs to the floor before you start pressing, in order to prevent it from sliding or tilting over.
– Do not reach into the press with your hand while the driiving1 wheel is turning.
– Do not make connecting1 rod any long1er.
– Keep the working area dean. Risk of slipping!
Operation
Attention: before use, it is important to dean and sanitize any parts that come in contact with the juke. (This product is LFGB carted.)
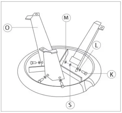
- Attach the legs (0), to the curved plates under the tray, secured with screws(K), washers (U) and nuts (M). Use the provided wrench to same the screws.

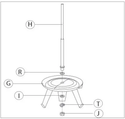
- Insert the spindle (H), into the central! hole oh he collecting tray (Gl, secured with a washer run and a spindle nut (J). Ensure the spindle is properly tightened.

- If necessary, fix the legs to the flam with the fixing screws (N) and washers (U), in order to make the press morn stable.
- Mount the basket (F) on the trey and then line the basket with the flaker bag (P).

- Put the fruit to be pressed into the bag. Caution: hard fruit must be crushed before being pressed .
- Place the semi-dude pressing plates (E) on the top of the forint, followed by wood blocks (D) and rectangle pressing plate (0 placed at right angles to the previous ones.

- Thread the angle iron (Al down the spindle and insert either end ohm handle (B) into the opening of the iron.

- Put a container (not included) under the spout of the tray to cathect the juice or wine.
- Start pressing by turning the handle clockwise.
Maintenance
– Having completed the job, wash the parts with hot water. Store the press in a dry room for the pressing cage wood to dry we and to avoid rust on the meta I parts .
– After a longer period of standish, grease the bearings and metal surfaces with edible oil.
Service centre
Note: Please quote the product model number in connection with in inquiries. The model! number is shown on the front of this manual and on the product rating plate.
For:
- Complaints
- Replacement parts
- Returns
- Guarantee issues
- www.schou.com
Manufactured in P.R.C
Manufacture:
Schou Company A/S
Nordager 31
DK-6000 Kolding
All rights reserved. The intent of this manual may not be reproduced, either in full or in part, in any way by electronic or mechanical means, e.g. photocopying or publication, tensile, ted or said in an information storage and retrieval system without written permission from Schouw Company NS.

























