Grouw 70232 Fruit Press Instruction Manual
Safety measures
If needed, fix the legs to the floor before you start pressing, in order to prevent it from sliding or tilting over. – Do not reach into the press with your hand while the driving wheel is turning. Do not make connecting rod any longer. Keep the working area clean. Risk of slipping!
Use
The fruit press can be used to make juice from fruit and berries. NOTICE: Do not press before you crush the fruits. Use pressing cloth (may be obtained as an accessory!) for the pressed fruits not to be pushed out of the pressing cage.
Technical data
Control: Screw press
Material: Steel and tree
Cage volume in litres: 12
Size: 0 360 x 600 mm
Approximate Weight: 12 kg
Including juice bag
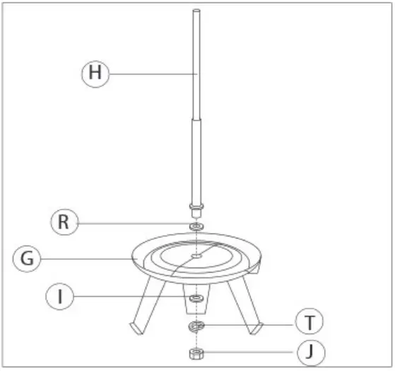
Parts overview

Operation
Attention: before use, it is important to clean and sanitize any parts that come in contact with the juice. (This product is LFGB certified.)
- Attach the legs (0) to the curved plates under the tray, secured with screws(K), washers (L) and nuts (M). Use the provided wrench to secure the screws.

- Insert the spindle (H) into the central hole of the collecting tray (G), secured with a washer (I) and a spindle nut (J). Ensure the spindle is properly tightened.

- If necessary, fix the legs to the floor with the fixing screws (N) and washers (L), in order to make the press more stable.
- Mount the basket (F) on the tray and then line the basket with the filter bag (P).

- Put the fruit to be pressed into the bag. Caution: hard fruit must be crushed before being pressed.
- Place the semi-circle pressing plates (E) on the top of the fruit, followed by wood blocks (D) and rectangle pressing plate (C) placed at right angles to the previous ones.

- Thread the angle iron (A) down the spindle and insert either end of the handle (B) into the opening of the iron.
- Put a container (not included) under the spout of the tray to collect the juice or wine. 9. Start pressing by turning the handle clockwise.
Maintenance
- Having completed the job, wash the parts with hot water. Store the press in a dry room for the pressing cage wood to dry well and to avoid rust on the metal parts.
- After a longer period of standstill, grease the bearings and metal surfaces with edible oil.
Service centre
Note: Please quote the product model number in connection with all inquiries. The model number is shown on the front of this manual and on the product rating plate.
For:
- Complaints
- Replacement parts
- Returns
- Guarantee issues
- www.schou.com
Manufactured in P.R.C.
Manufacturer:
Schou Company A/S
Nordager 31
DK-6000 Kolding
All rights reserved. The content of this manual may not be reproduced, either in full or in part, in any way by electronic or mechanical means, e.g. photocopying or publication, translated or saved in an information storage and retrieval system without written permission from Schou Company MS.























