
QUICK SETUP GUIDE
10,000 / 12,000 BTU Portable Air Conditioner
NS-AC10PWH8 / NS-AC12PWH8
PACKAGE CONTENTS
- 10,000 / 12,000 BTU portable air conditioner
- Remote control with batteries (2)
- Exhaust nozzle
- Exhaust hose
- Hose adapter
- Window seal plate assembly
- Quick Setup Guide
FIND YOUR USER GUIDE ONLINE!
Go to www.insigniaproducts.com, enter your model in the search box, then press ENTER. Next to Features, click Support & Downloads, then next to User Guide, click the language you want.
SAFETY INFORMATION
- Read these instructions.
- Keep these instructions.
- Heed all warnings.
- Follow all instructions.
- Do not use this machine near water.
- Clean only with a damp cloth.
- Do not block any ventilation openings. Install in accordance with the manufacturer’s instructions.
- Do not install near any heat sources such as radiators, heat registers, stoves, or other apparatus (including amplifiers) that produce heat.
- Do not defeat the safety purpose of the polarized or grounding-type plug. A polarized plug has two blades with one wider than the other. A grounding type plug has two blades and a third grounding prong. The wide blade or the third prong are provided for your safety. If the provided plug does not fit into your outlet, consult an electrician for replacement of the obsolete outlet.
- Protect the power cord from being walked on or pinched particularly at plugs, convenience receptacles, and the point where they exit from the machine.
- Do not attempt to modify or extend the power cord of this machine.
- Unplug this machine during lightning storms or when it will not be used for long periods of time.
- Make sure that the available AC power matches the voltage requirements of this machine.
- Do not handle the plug with wet hands. This could result in an electric shock.
- Unplug the power cord by holding the plug, never by pulling the cord.
- Do not turn the machine on or off by plugging or unplugging the power cord.
- Turn off the machine before unplugging it.
- Refer all servicing to qualified service personnel. Servicing is required when the machine has been damaged in any way, such as power-supply cord or plug is damaged, liquid has been spilled or objects have fallen into the machine, the machine has been exposed to rain or moisture, does not operate normally, or has been dropped.
- To reduce the risk of fire or electric shock, do not expose this machine to rain, moisture, dripping, or splashing, and no objects filled with liquids should be placed on top of it.
- Batteries should not be exposed to excessive heat such as sunshine, fire, or the like.
CAUTION: Danger of explosion if batteries are incorrectly replaced. Replace only with the same or equivalent type.
Additional precautions
- This machine is intended for household use. Do not use for any other purpose.
- Use this machine indoors in a dry location only. Do not use it outdoors.
- Do not place heavy objects on the machine, as this could damage it.
- Wipe the machine with a soft cloth to clean it. Do not use wax, thinner, or irritating detergents.
- Do not allow children or pets to drink the water discharged by the machine.
- Do not disassemble or attempt to repair the machine yourself.
- Do not plug this machine into an outlet with several other high electrical usage appliances.
- Keep the machine away from heat sources and avoid direct sunlight.
- If the machine is making a loud noise or producing an odor or smoke, switch off it, disconnect the plug, and immediately try to determine the cause.
- Do not place heavy objects on the power cord to avoid it being crushed and causing an electric shock.
- Do not put your fingers or hard objects into the outlet air guide bars.
- Turn the machine off and unplug it if there is water inside it, then contact qualified service personnel for servicing.
- Turn the machine off and unplug it before cleaning, moving, or servicing it.
- To avoid injury, do not allow children or other individuals with special needs to touch or operate the machine. The machine should only be used with adult supervision.
- Place the air conditioner on a flat surface and upright to ensure the normal operation of the compressor.
- Do not use the machine near gasoline or other flammable liquids.
- Do not use aerosol sprays or other solvents near the machine. This may cause plastic deformation or possibly damage the electrical components of the machine.
- The air conditioner unit must always be stored and transported upright, otherwise you may cause irreparable damage to the compressor. In case of doubt, we suggest that you wait for at least 24 hours before you start the air-conditioning unit.
- Avoid restarting the air conditioning unit unless three minutes have passed since being turned off, or the compressor may get damaged.
WARNING: ELECTRIC SHOCK HAZARD
Failure to follow these instructions can result in electric shock, fire, or death.
- This unit must be properly grounded.
- Do not, under any circumstances, cut or remove the grounding plug.
- If you do not have a properly grounded AC outlet, or if there is any doubt that the outlet is not properly grounded, a qualified electrician should check the outlet and circuit and, if necessary, install a properly grounded outlet.
- This air conditioner must be plugged into a grounded 115V, 60 Hz AC outlet, protected by a 15 amp time-delay fuse or circuit breaker.
- This air conditioner must be installed in accordance with national wiring codes.
- Do not alter or modify the plug or cord of this air conditioner. If the power cord becomes worn or damaged, the cord should only be replaced by a qualified service technician using genuine replacement parts.
- Do not use an extension cord.
ELECTRICAL SAFETY
Integrated circuit breaker
For additional safety, the power cord on this air conditioner features an integrated circuit breaker. You can test and reset the circuit breaker using the buttons provided on the plug case. Consult a qualified electrician or service person if the grounding instructions are not completely understood, or if doubt exists as to whether the air conditioner is properly grounded.

- RESET button
- TEST button
The circuit breaker should be tested periodically by pressing the TEST button, then pressing the RESET button. If the TEST button does not cause the circuit breaker to trip, or if the RESET button does not stay engaged, unplug the air conditioner immediately and contact an Insignia technician.
Preferred grounding method
Make sure that a proper ground exists before use.
Temporary grounding
Due to potential safety hazards, we strongly discourage the use of an adapter plug. If an adapter plug must be used for a temporary connection, use only a UL-listed adapter. The minimum capacity for 10,000 BTU is 120V, 60Hz, 13A, and 1560W, and for 12,000 BTU is 120V, 60Hz, 15A, and 1800W. Make sure that the large slot of the adapter is aligned with the large slot in the outlet.
Make sure that a proper ground exists before use.
To prevent damage to the adapter’s ground terminal, hold the adapter in place while plugging or unplugging the air conditioner.
Attaching the adapter ground terminal to the wall receptacle cover screw does not ground the appliance unless the cover screw is metal and not insulated and the wall receptacle is grounded through the house wiring.
Frequent connection and disconnection can damage the ground terminal on the adapter. Never use a broken or damaged adapter.
FEATURES
- 10,000 / 12,000 BTU
- 3-in-1 design (air conditioner, dehumidifier, fan)
- Digital controls with LED display
- Multiple fan speeds with auto control
- Programmable timer and remote control
- Auto defrost
- Auto On/Off
Front

- Handles (2)
- Air inlet
- Control panel and display
- Adjustable louvered air discharge
- Swiveling casters
Back

- Drain outlet
- Filter and filter case
- Air outlet
- Power supply cord
Control panel

- TIMER button
- MODE button
- Remote control receiver
/
(TEMP/TIMER) buttons- SPEED button
- SWING button
- Power button
- LED display Temperature/timer display
Remote control

| # | ITEM | DESCRIPTION |
| 1 | Speed settings | Press to select the high, mid, or low setting. |
| 2 | Swing | Press to turn the swing function on or off. |
| 3 | Timer | Press to set the air conditioner to turn on or off automatically. |
| 4 | COOLING mode: Press to raise ( TIMER mode: Press to turn the timer on ( | |
| 5 | Cool | Press to set the air conditioner to cooling mode. |
| 6 | Dry | Press to set the air conditioner to DRY mode. |
| 7 | Fan | Press to turn on the air conditioner fan only (no cooling). |
| 8 | Auto | Press to set the air conditioner to AUTO mode. |
| 9 | °C / °F | Press to switch between Fahrenheit and Celsius. |
| 10 | Press to turn the air conditioner on or off. |
SETTING UP YOUR PORTABLE AIR CONDITIONER
Before using your portable air conditioner
- Remove and store (optional) packing materials for reuse.
- Remove any shipping tape before using the air conditioner.
- Remove tape residue with liquid dish soap and a damp cloth.
Do not use sharp tools, alcohol, thinners, or abrasive cleaners to remove adhesive, which could damage the finish.
Placing your air conditioner
- Place the unit on a flat, dry area near a window, so you can use the hose and diffuser to connect the air conditioner to the window installation kit in order to vent the exhaust air outside.
- To maintain good air circulation and optimum machine performance, leave a 20 in. (50 cm) space around it.

INSTALLING YOUR AIR CONDITIONER
1 Screw the exhaust hose to the air outlet on the back of your air conditioner, then screw the hose adapter to the other end of the hose.

2 Measure the window size.

3 Adjust the length of the window sealing plate to fit the window opening.

4 Install the window sealing plate in the window opening and secure it with the screws provided.

5 Insert the hose adapter into the vent panel, then slide it down or left until it clicks into place.

- Small gap
- First insert
- Second slide

- For optimum performance, do not twist the venting hose. For better efficiency, shorten the hose, if possible.

Caution: The exhaust duct is designed especially for this air conditioner. Replacing or lengthening the duct could result in damage to your unit.
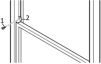
6 If desired, install the security bracket with the type C screw.

- Type C screw
- Security bracket
Running your air conditioner in DRY mode
If you want to continuously drain the water from your air conditioner and never have to manually drain the collection tank, see your online User Guide.
USING YOUR PORTABLE AIR CONDITIONER
Inserting the batteries in the remote control
- Insert two AAA batteries (provided) into the remote control.
Make sure that you orient the batteries correctly (+ and ) when you install them.

TURNING YOUR AIR CONDITIONER ON AND SELECTING THE MODE
- Press Power (
) to turn your air conditioner on. - Press Mode (
) to select Cool, Fan, Dry, or Auto.
- In Cool or Fan modes, press Fan (
) to set the fan speed. - In Cool or Dry modes, press
or
to set the temperature. - In Auto mode, the air conditioner function is determined by the ambient temperature. If the temperature is higher than 77° F (25° C), the air conditioner runs in cooling mode. If lower than 77° F (25° C), the air conditioner runs in fan mode.
Switching between Fahrenheit and Celsius
- Press °C / °F on the remote control.
Setting a timer
Set your air conditioner to turn off or turn on after a delay of up to 24 hours.
- Automatic off: Press
or
while the air conditioner is running. - Automatic on: Press
or
while the air conditioner is off.
See your online User Guide for more information on using your air conditioner.
TROUBLESHOOTING
For troubleshooting information see your online User Guide.
SPECIFICATIONS
For specifications see your online User Guide.
ONE-YEAR LIMITED WARRANTY
Visit www.insigniaproducts.com for details or see your online User Guide.
CONTACT INSIGNIA:
For customer service, call 1-877-467-4289 (U.S. and Canada) or 01-800-926-3000 (Mexico) www.insigniaproducts.com
INSIGNIA is a trademark of Best Buy and its affiliated companies
Distributed by Best Buy Purchasing, LLC
7601 Penn Ave South, Richfield, MN 55423 U.S.A.
©2016 Best Buy. All rights reserved.
Made in China
V2 ENGLISH 17-0297

















![Whynter 10,000 Btu Portable Air Conditioner [arc-102cs] Instruction Manual Whynter 10,000 Btu Portable Air Conditioner [arc-102cs] Instruction Manual](https://static-data1.manualsee.com/1/img/324/18012/2020/12/Whynter-10000-BTU-Portable-Air-Conditioner-ARC-102CS-featured.png)

